lemon-mirror:
Home >> Honda >> 2005 >> Pilot EX >> Repair and Diagnosis >> Engine Mechanical >> Mechanical >> Engine >> Engine Installation

Engine Installation

Special Tools Required 

Front subframe adapter EQS02BMDXSB0

  1. Install the accessory brackets and tighten their bolts to the specified torques.

    P/S PUMP BRACKET 

    Fig 1: Installing Brackets
    G04545525Courtesy of AMERICAN HONDA MOTOR CO., INC.
  2. Position the engine/transmission assembly under the vehicle. Attach the chain hoist to the engine, then lift the engine into position in the vehicle.
    NOTE: Reinstall the mounting bolts/support nuts in the sequence given. Failure to follow this sequence may cause excessive noise and vibration, and reduce bushing life.
  3. Support the front subframe with the front subframe adapter and a jack, and lift it up to the body.
  4. Loosely install the four front subframe mounting bolts (A) and the six 12 x 1.25 mm bolts (B), (C) with the stiffeners (D).
    Fig 2: Installing Front Subframe Mounting Bolts
    G04545526Courtesy of AMERICAN HONDA MOTOR CO., INC.
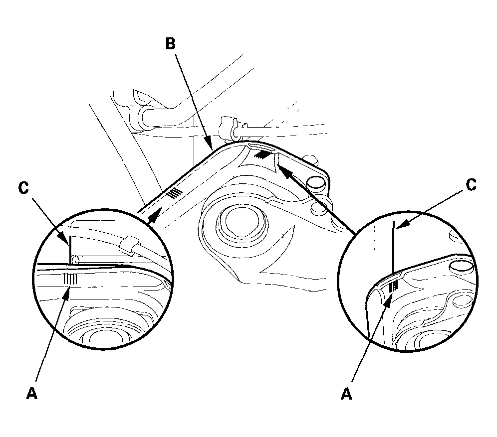
  5. Align all reference marks (A) on the front subframe (B) with the edge of the body (C), then tighten the bolts on the front subframe to the specified torque.
    Fig 3: Aligning All Reference Marks On Front Subframe With Edge Of Body
    G04545527Courtesy of AMERICAN HONDA MOTOR CO., INC.
  6. Remove the front subframe adapter and a jack.
  7. Tighten the transmission lower rear mount nuts (A) and transmission lower front mount nuts (B).
    Fig 4: Tightening Transmission Lower Rear Mount Nuts And Transmission Lower Front Mount Nuts
    G04545528Courtesy of AMERICAN HONDA MOTOR CO., INC.
  8. Tighten the rear engine mount bolts.
    Fig 5: Tightening Rear Engine Mount Bolts
    G04545529Courtesy of AMERICAN HONDA MOTOR CO., INC.
  9. Lower the vehicle on the hoist.
  10. Tighten the front engine mount nut.
    Fig 6: Tightening Front Engine Mount Nut
    G04545530Courtesy of AMERICAN HONDA MOTOR CO., INC.
  11. Tighten the upper half of the side engine mount bracket bolts.
    Fig 7: Tightening Upper Half Of Side Engine Mount Bracket Bolts
    G04545531Courtesy of AMERICAN HONDA MOTOR CO., INC.
  12. Remove the chain hoist from the engine.
  13. Raise the vehicle on the hoist to full height.
  14. Install the A/C compressor.
    Fig 8: Installing A/C Compressor
    G04545532Courtesy of AMERICAN HONDA MOTOR CO., INC.
  15. Install the power steering (P/S) hose.
    Fig 9: Installing Power Steering Hose
    G04545533Courtesy of AMERICAN HONDA MOTOR CO., INC.
  16. Connect the power steering pressure switch connector.
    Fig 10: Connecting Power Steering Pressure Switch Connector
    G04545534Courtesy of AMERICAN HONDA MOTOR CO., INC.
  17. Install a new set ring on the end of each driveshaft, then install the driveshafts. Make sure each ring "clicks" into place on the differential and intermediate shafts.
  18. Connect the suspension lower arm ball joints (see LOWER ARM REMOVAL/INSTALLATION ).
  19. Connect the tie-rod end ball joints (see step 22 STEERING GEARBOX INSTALLATION ).
  20. Connect the stabilizer links (see STABILIZER LINK REMOVAL/INSTALLATION ).
  21. Install the transfer assembly (see TRANSFER ASSEMBLY INSTALLATION ).
  22. Install the shift cable (see step 12 SHIFT CABLE REPLACEMENT ).
  23. Align the reference marks (A) on the propeller shaft (B) and transfer shaft flange (C), then install the propeller shaft.
    Fig 11: Aligning Reference Marks On Propeller Shaft And Transfer Shaft Flange
    G04545535Courtesy of AMERICAN HONDA MOTOR CO., INC.
  24. Install exhaust pipe A using new gaskets (B) and new self locking nuts (C).
    Fig 12: Installing Exhaust Pipe A
    G04545536Courtesy of AMERICAN HONDA MOTOR CO., INC.
  25. Install the front subframe stiffener.
    Fig 13: Installing Front Subframe Stiffener
    G04545537Courtesy of AMERICAN HONDA MOTOR CO., INC.
  26. Lower the vehicle on the hoist.
  27. Install the radiator (see RADIATOR AND FAN REPLACEMENT ).
  28. Install the automatic transmission fluid (ATF) cooler hoses.
    Fig 14: Installing Automatic Transmission Fluid Cooler Hoses
    G04545538Courtesy of AMERICAN HONDA MOTOR CO., INC.
  29. Install the drive belt (see DRIVE BELT INSPECTION ).
  30. Raise the vehicle on the hoist to full height.
  31. Install the splash shield.
    Fig 15: Installing Splash Shield
    G04545539Courtesy of AMERICAN HONDA MOTOR CO., INC.
  32. Install the front tires/wheels.
  33. Lower the vehicle on the hoist.
  34. Install the ground cable.
    Fig 16: Installing Ground Cable
    G04545540Courtesy of AMERICAN HONDA MOTOR CO., INC.
  35. Install the upper radiator hose (A) and lower radiator hose (B).
    Fig 17: Installing Upper Radiator Hose And Lower Radiator Hose
    G04545541Courtesy of AMERICAN HONDA MOTOR CO., INC.
  36. Install the heater hoses.
    Fig 18: Installing Heater Hoses
    G04545542Courtesy of AMERICAN HONDA MOTOR CO., INC.
  37. Install the P/S pump outlet hose (A) with a new O-ring (B) to the pump (C).
    Fig 19: Installing P/S Pump Outlet Hose
    G04545543Courtesy of AMERICAN HONDA MOTOR CO., INC.
  38. Secure the P/S hose clamp (D).
  39. Install the alternator cable (A), then install the harness clamps (B).
    Fig 20: Installing Alternator Cable And Harness Clamps
    G04545544Courtesy of AMERICAN HONDA MOTOR CO., INC.
  40. Connect the engine wire harness connectors (A) and powertrain control module (PCM) connectors (B) on the right side of the engine compartment, then install harness clamps (C).
    Fig 21: Connecting Engine Wire Harness Connectors And Powertrain Control Module Connectors
    G04545545Courtesy of AMERICAN HONDA MOTOR CO., INC.
  41. Install the cover to the powertrain control module (PCM).
    Fig 22: Installing Cover To Powertrain Control Module
    G04545546Courtesy of AMERICAN HONDA MOTOR CO., INC.
  42. Install the power steering fluid reservoir, and the coolant reservoir.
  43. Align the reference marks (A) on the steering joint and steering gearbox pinion shaft. Connect the steering joint (B) to the steering gearbox pinion shaft (C). Tighten the steering joint bolt.
    Fig 23: Connecting Steering Joint To Steering Gearbox Pinion Shaft
    G04545547Courtesy of AMERICAN HONDA MOTOR CO., INC.
  44. Install the steering joint cover (D).
  45. Install the carpet (see CARPET REPLACEMENT ) and driver's side console lower panel.
  46. Install the brake booster vacuum hose (A), evaporative emission (EVAP) canister hose (B), and hose joint (C).
    Fig 24: Installing Brake Booster Vacuum Hose, Evaporative Emission Canister Hose And Hose Joint
    G04545548Courtesy of AMERICAN HONDA MOTOR CO., INC.
  47. Connect the fuel quick-connect fitting (A), then install the fuel quick-connect fitting cover (B).
    Fig 25: Installing Fuel Quick-Connect Fitting Cover
    G04545549Courtesy of AMERICAN HONDA MOTOR CO., INC.
  48. Install the starter cable (A), harness clamp (B), and ground cable (C).
    Fig 26: Installing Starter Cable And Ground Cable
    G04545550Courtesy of AMERICAN HONDA MOTOR CO., INC.
  49. Install the battery base (A), then install the harness bracket (B).
    Fig 27: Installing Battery Base And Harness Bracket
    G04545551Courtesy of AMERICAN HONDA MOTOR CO., INC.
  50. Install the battery tray (C), then install the harness clamps (D).
  51. Install the intake air duct (A), then install the breather pipe (B).
    Fig 28: Installing Intake Air Duct And Breather Pipe
    G04545552Courtesy of AMERICAN HONDA MOTOR CO., INC.
  52. Install the intake manifold cover.
    Fig 29: Installing Intake Manifold Cover
    G04545553Courtesy of AMERICAN HONDA MOTOR CO., INC.
  53. Install the battery. Clean the battery posts and cable terminals with sandpaper, then assemble them and apply grease to prevent corrosion.
  54. Inspect for fuel leaks. Turn the ignition switch ON (II) (do not operate the starter) so the fuel pump runs for about 2 seconds and pressurizes the fuel line. Repeat this operation two or three times, then check for fuel leakage at any point in the fuel line.
  55. Move the shift lever to each gear, and verify that the A/T gear position indicator follows the transmission range switch.
  56. Refill the engine with new engine oil (see ENGINE OIL REPLACEMENT ).
  57. Refill the transmission with ATF (see ATF REPLACEMENT ).
  58. Refill the radiator with engine coolant, and bleed air from the cooling system with the heater valve open (see step 8 COOLANT REPLACEMENT ).
  59. Refill the power steering system fluid (see FLUID REPLACEMENT ).
  60. Do the powertrain control module (PCM) reset procedure (see HDS CLEAR COMMAND ).
  61. Do the crankshaft position (CKP) pattern clear/CKP pattern learn procedure (see CKP PATTERN CLEAR/CKP PATTERN LEARN ).
  62. Do the PCM idle learn procedure (see PCM IDLE LEARN PROCEDURE ) and power window control unit reset procedure (see RESETTING THE POWER WINDOW CONTROL UNIT ).
  63. Inspect the idle speed (see IDLE SPEED INSPECTION ).
  64. Inspect the ignition timing (see IGNITION TIMING INSPECTION ).
  65. Check the wheel alignment (see WHEEL ALIGNMENT ).
  66. Enter the anti-theft codes for the radio and the navigation system, then enter the customer's radio station presets.
  67. Set the clock.