lemon-mirror:
Home >> Honda >> 2006 >> Insight Standard >> Repair and Diagnosis >> Engine Performance >> System >> Advanced Diagnostics >> DTC P1445 (62): Bypass Contactor Problem >> Notes

DTC P1445 (62): Bypass Contactor Problem: Notes

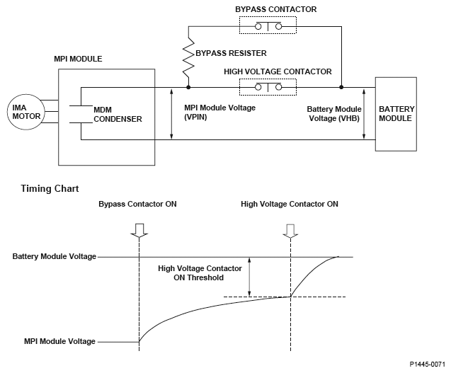
Fig 1: Bypass Contactor - Circuit Diagram
G04817866