lemon-mirror:
Home >> Honda >> 2007 >> Element SC, Automatic >> Repair and Diagnosis >> Electrical >> Body Electrical >> Accessory Power Sockets >> Accessory Power Socket Test/Replacement >> Console (SC model)

Console (SC model)

  1. Carefully pry the accessory power socket (A) out from the center console.
    Fig 1: Identifying Accessory Power Socket - Console (SC Model)
    G05451558Courtesy of AMERICAN HONDA MOTOR CO., INC.
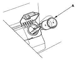
  2. Disconnect the 2P connector (A) from the socket.
    Fig 2: Identifying Accessory Power Socket 2P Connector Terminals - Console (SC Model)
    G05451559Courtesy of AMERICAN HONDA MOTOR CO., INC.
  3. Inspect the connector terminals to be sure they are all making good contact.
    • If the terminals are bent, loose or corroded, repair them as necessary, and recheck the system.
    • If the terminals look OK, go to step  4.
  4. Turn the ignition switch to ACCESSORY (I).
  5. Measure the voltage between consol accessory power socket 2P connector terminal No. 1 and body ground. There should be voltage.
    • If there is battery voltage, go to step 6.
    • If there is no voltage, check for:
      • Blown No. 18 (15 A) fuse in the under-dash fuse/relay box.
      • A faulty under-dash fuse/relay box.
      • An open or high resistance in the wire between under-dash fuse/relay box connector M (12P) terminal No. 3 and front accessory power socket 2P connector terminal No. 1.
  6. Check for continuity between the console accessory power socket 2P connector terminal No. 2 and body ground. there should be continuity.
    • If there is continuity, replace the power socket.
    • If there is no continuity, check for:
      • Poor ground (G552).
      • An open or high resistance in the wire between console accessory power socket 2P connector terminal No. 2 and ground (G552).