lemon-mirror:
Home >> Honda >> 2007 >> Element SC, Automatic >> Repair and Diagnosis >> Engine Performance >> System >> Fuel And Emissions Systems >> System Description >> Electronic Throttle Control System Diagram

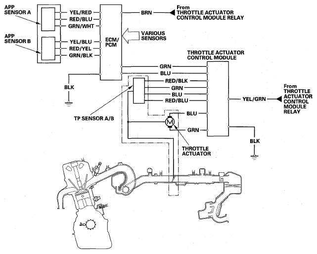
Electronic Throttle Control System Diagram

The electronic throttle control system consists of the throttle actuator, throttle position (TP) sensor A/B, accelerator pedal position (APP) sensor A/B, throttle actuator control module, throttle actuator control module relay, and the ECM/PCM.

Fig 1: Identifying Electronic Throttle Control System Diagram
G05448892Courtesy of AMERICAN HONDA MOTOR CO., INC.