lemon-mirror:
Home >> Honda >> 2007 >> Element SC, Automatic >> Repair and Diagnosis >> Transmission >> Automatic Trans >> Automatic Transmission >> A/T Interlock System >> Shift Lock Solenoid Replacement

Shift Lock Solenoid Replacement

  1. Remove the center lower cover (see CENTER LOWER COVER REMOVAL/INSTALLATION ).
  2. Remove the shift lever console trim (see SHIFT LEVER TRIM REMOVAL/INSTALLATION ).
  3. Move the shift lever to R.
  4. Remove the shift cable insulator (A) from the shift cable (B).
    Fig 1: Identifying Shift Cable Insulator And Shift Cable
    G06267085Courtesy of AMERICAN HONDA MOTOR CO., INC.
  5. Slide the lock tab (A) down on the shift cable end holder (B).
    Fig 2: Sliding Lock Tab On Shift Cable End Holder
    G06267086Courtesy of AMERICAN HONDA MOTOR CO., INC.
  6. Grasp the shift cable lock (C) in the middle with angle-jaw needle-nose pliers (D), and remove it from the shift cable end and shift cable end holder. Do not pry the shift cable lock with a screwdriver, it may damage the shift cable end holder.
  7. Separate the shift cable end (A) from the shift cable end holder (B).
    Fig 3: Identifying Shift Cable End And Shift Cable End Holder
    G06267087Courtesy of AMERICAN HONDA MOTOR CO., INC.
  8. Rotate the socket holder (A) on the shift cable (B) a quarter turn; the tab (C) on the socket holder will be in the opening (D) of the shift cable bracket (E). Then slide the socket holder to remove the shift cable from the shift cable bracket. Do not remove the shift cable by twisting the shift cable guide (F) and damper (G).
    Fig 4: Rotating Socket Holder On Shift Cable
    G06267088Courtesy of AMERICAN HONDA MOTOR CO., INC.
  9. Remove the shift lever mounting bolts (A).
    Fig 5: Shift Lever Mounting Bolts With Torque Specifications
    G06267089Courtesy of AMERICAN HONDA MOTOR CO., INC.
  10. Remove the shift lever mounting bolt (A), and remove the shift cable bracket (B).
    Fig 6: Shift Lever Mounting Bolt And Shift Cable Bracket With Torque Specifications
    G06267090Courtesy of AMERICAN HONDA MOTOR CO., INC.
  11. Remove the D3 switch/shift lock solenoid connector (C), then disconnect the connector.
  12. Remove the shift lever assembly.
  13. Wrap the end of a flat-tip screwdriver with tape, pry the D3 switch cover lock, and remove the D3 switch cover (A).
    Fig 7: Identifying D3 Switch Cover
    G06267091Courtesy of AMERICAN HONDA MOTOR CO., INC.
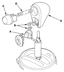
  14. Remove the D3 switch (A) by expanding its locks, and remove the screws (B), the shift lever button (C), the button spring (D), and the shift lever knob (E).
    Fig 8: Identifying D3 Switch, Shift Lever Button, Button Spring And Shift Lever Knob
    G06267092Courtesy of AMERICAN HONDA MOTOR CO., INC.
  15. Remove the A/T gear position indicator panel light socket (A), then separate the A/T gear position indicator panel (B) from the shift lever bracket (C).
    Fig 9: Identifying A/T Gear Position Indicator Panel Light Socket And A/T Gear Position Indicator Panel
    G06267093Courtesy of AMERICAN HONDA MOTOR CO., INC.
  16. Pry the lock tabs on the back of the D3 switch/shift lock solenoid connector (A), and remove the back cover (B).
    Fig 10: Identifying D3 Switch, Shift Lock Solenoid Connector And Back Cover
    G06267094Courtesy of AMERICAN HONDA MOTOR CO., INC.
  17. Remove the terminal (C) from the connector by pushing the lock tab (D) up in the connector using a thin blade screwdriver (E). Remove all four terminals.
  18. Remove the shift lock solenoid harness clamp from the shift lever bracket, and remove the shift lock solenoid.
  19. Replace the shift lock solenoid.
  20. Install the new shift lock solenoid (A) on the shift lever/bracket assembly (B) with aligning the shift lock solenoid plunger (C) with the tip of the shift lock stop (D).
    Fig 11: Identifying Shift Lock Solenoid, Bracket Assembly And Lock Solenoid Plunger
    G06267095Courtesy of AMERICAN HONDA MOTOR CO., INC.
  21. Install the harness clamp (E) on the shift lock solenoid harness (F) at 128-138 mm (5.0-5.4 in.) (G) from the harness terminal end.
  22. Install the clamp in the hole (H) of the shift lever bracket.
  23. Install the A/T gear position indicator panel (A) on the shift lever bracket. Apply silicone grease to the shift lever button (B), the button spring (C), and the push rod (D) of the shift lever (E), and install the button spring, the shift lever button, and the shift lever knob (F). Install new screws (G), and secure the shift lever knob to the shift lever.
    NOTE: Make sure not to get any silicone grease on the terminal part of the connectors and switches, especially if you have silicone grease on your hands or gloves.
    Fig 12: Identifying A/T Gear Position Indicator Panel, Shift Lever Bracket And Shift Lever
    G06267096Courtesy of AMERICAN HONDA MOTOR CO., INC.
  24. Install the D3 switch (H) and the D3 switch cover (I).
  25. Install the A/T gear position indicator panel light socket (A).
    Fig 13: Identifying D3 Switch And D3 Switch Cover
    G06267097Courtesy of AMERICAN HONDA MOTOR CO., INC.
  26. Install the BLU/RED harness terminal (A) of the shift lock solenoid in the No. 3 cavity, and BLK harness terminal (B) in the No. 4 cavity.
    Fig 14: Identifying BLU/RED Harness Terminal And BLK Harness Terminal
    G06267098Courtesy of AMERICAN HONDA MOTOR CO., INC.
  27. Install the D3 switch harness terminals (C) in the No. 1 and No. 2 cavities. Either D3 switch harness terminal can be installed in the No. 1 and No. 2 cavities.
  28. Make sure that all four terminals lock securely, then install the back cover (D) securely in place.
  29. Install the shift lever assembly (see SHIFT LEVER INSTALLATION ).