lemon-mirror:
Home >> Honda >> 2007 >> Element SC, Automatic >> Repair and Diagnosis >> Transmission >> Automatic Trans >> Automatic Transmission >> Clutch Disassembly

Clutch Disassembly

Special Tools Required 

Clutch spring compressor set 07LAE-PX40000

  1. Remove the snap ring using a screwdriver.
    Fig 1: Removing Snap Ring
    G06267182Courtesy of AMERICAN HONDA MOTOR CO., INC.
  2. Remove the clutch end-plate (A), the clutch discs (B) (5), the clutch wave-plates (C) (4), the clutch flat-plate (D) and the wave spring (E) from the 1st clutch drum (F).
    Fig 2: Identifying Clutch End-Plate, Clutch Discs, Clutch Wave-Plates And Clutch Flat-Plate
    G06267183Courtesy of AMERICAN HONDA MOTOR CO., INC.
  3. Make reference mark on the clutch flat-plate.
  4. Remove the clutch end-plate (A), the clutch discs (B) (6), the clutch wave-plates (C) (5), the flat-plate (D), and the wave spring (E) from the 2nd clutch drum (F).
    Fig 3: Identifying Clutch End-Plate, Clutch Discs, Clutch Wave-Plates, Flat-Plate And Wave Spring
    G06267184Courtesy of AMERICAN HONDA MOTOR CO., INC.
  5. Make a reference mark on the flat-plate.
  6. Remove the clutch end-plate (A), the clutch discs (B) (6), the clutch wave-plates (C) (5), the clutch flat-plate (D), and the wave spring (E) from the 3rd clutch drum (F).
    Fig 4: Identifying Clutch End-Plate, Clutch Discs, Clutch Wave-Plates, Clutch Flat-Plate And Wave Spring
    G06267185Courtesy of AMERICAN HONDA MOTOR CO., INC.
  7. Make reference marks on the clutch flat-plate.
  8. Remove the clutch end-plate (A), the clutch discs (B) (4), the clutch wave-plates (C) (4), and the wave spring (D) from the 4th clutch drum (E).
    Fig 5: Identifying Clutch End-Plate, Clutch Discs, Clutch Wave-Plates And Wave Spring
    G06267186Courtesy of AMERICAN HONDA MOTOR CO., INC.
  9. Remove the clutch end-plate (A), the clutch discs (B) (4), the clutch wave-plates (C) (4), and the wave spring (D) from the 5th clutch drum (E).
    Fig 6: Identifying Clutch End-Plate, Clutch Discs, Clutch Wave-Plates And Wave Spring
    G06267187Courtesy of AMERICAN HONDA MOTOR CO., INC.
  10. Install the clutch spring compressor set.
    Fig 7: Installing Clutch Spring Compressor Set
    G06267188Courtesy of AMERICAN HONDA MOTOR CO., INC.
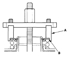
  11. Set the clutch spring compressor set (A) on the spring retainer (B) of the 1st, 2nd, and 3rd clutches so that it pushes on the clutch return spring (C).
    Fig 8: Identifying Clutch Spring Compressor Set On Spring Retainer
    G06267189Courtesy of AMERICAN HONDA MOTOR CO., INC.
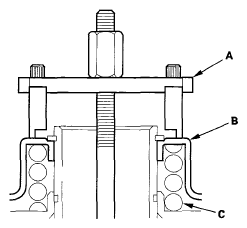
  12. Be sure the clutch spring compressor set (A) is adjusted to have full contact with the spring retainer (B) on the 4th and 5th clutches.
    Fig 9: Identifying Clutch Spring Compressor Set And Spring Retainer
    G06267190Courtesy of AMERICAN HONDA MOTOR CO., INC.
  13. Check the placement of the clutch spring compressor set. If either end of the clutch spring compressor set is set over an area of the spring retainer which is unsupported by the return spring, the spring retainer may be damaged.
    Fig 10: Checking Placement Of Clutch Spring Compressor Set
    G06267191Courtesy of AMERICAN HONDA MOTOR CO., INC.
  14. Compress the return spring until the snap ring can be removed.
    Fig 11: Compressing Return Spring
    G06267192Courtesy of AMERICAN HONDA MOTOR CO., INC.
  15. Remove the snap ring using snap ring pliers.
    Fig 12: Removing Snap Ring
    G06267193Courtesy of AMERICAN HONDA MOTOR CO., INC.
  16. Remove the clutch spring compressor set.
  17. Remove the snap ring (A), the spring retainer (B), and the return spring (C).
    Fig 13: Identifying Snap Ring, Spring Retainer And Return Spring
    G06267194Courtesy of AMERICAN HONDA MOTOR CO., INC.
  18. Wrap a shop rag around the clutch drum (A), and apply air pressure to the fluid passage to remove the piston (B). Place a finger tip on the other passage while applying air pressure.
    Fig 14: Applying Air Pressure To Piston
    G06267195Courtesy of AMERICAN HONDA MOTOR CO., INC.
  19. 1st, 2nd, and 3rd clutches: Remove the clutch piston (A), then remove the O-ring (B) from the clutch piston, and remove the O-ring (C) from the clutch drum (D).
    Fig 15: Identifying Clutch Piston, O-Ring And Clutch Drum
    G06267196Courtesy of AMERICAN HONDA MOTOR CO., INC.
  20. 4th and 5th clutches: Remove the clutch piston (A), then remove the outer O-ring (B) and the inner O-ring (C) from the clutch piston.
Fig 16: Identifying Clutch Piston, Outer O-Ring And Inner O-Ring
G06267197Courtesy of AMERICAN HONDA MOTOR CO., INC.