lemon-mirror:
Home >> Honda >> 2007 >> Element SC, Automatic >> Repair and Diagnosis >> Transmission >> Automatic Trans >> Automatic Transmission >> Clutch Reassembly

Clutch Reassembly

Special Tools Required 

Clutch spring compressor set 07LAE-PX40000

NOTE: Hold the spring compressor set in a vise with soft jaws. Be careful not to damage the clutch drum.
  1. Soak the clutch discs thoroughly in ATF for at least 30 minutes.
  2. Install new O-rings (A) on the 4th and the 5th clutch piston (B). Do not twist the O-rings.
    Fig 1: Identifying O-rings On 4th And 5th Clutch Piston
    G06267211Courtesy of AMERICAN HONDA MOTOR CO., INC.
  3. Install a new O-ring (A) in the 1st, 2nd, and 3rd clutch pistons (B), and install a new O-ring (C) on the clutch drums (D).
    Fig 2: Identifying O-ring, 3rd Clutch Pistons, O-ring And Clutch Drums
    G06267212Courtesy of AMERICAN HONDA MOTOR CO., INC.
  4. Install the clutch piston (A) in the clutch drum (B). Apply pressure and rotate to ensure proper seating. Lubricate the piston O-ring with ATF before installing. Do not pinch the O-ring by installing the piston with too much force.
    Fig 3: Identifying Clutch Piston And Clutch Drum
    G06267213Courtesy of AMERICAN HONDA MOTOR CO., INC.
  5. Set the return spring (A) and the spring retainer (B) on the clutch piston, and position the snap ring (C) on the spring retainer.
    Fig 4: Identifying Return Spring, Spring Retainer And Snap Ring
    G06267214Courtesy of AMERICAN HONDA MOTOR CO., INC.
  6. Install the clutch spring compressor set.
    Fig 5: Identifying Clutch Spring Compressor Set
    G06267215Courtesy of AMERICAN HONDA MOTOR CO., INC.
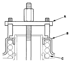
  7. Set the clutch spring compressor set (A) on the spring retainer (B) of the 1st, 2nd, and 3rd clutches so that it compresses the clutch return spring (C).
    Fig 6: Identifying Clutch Spring Compressor Set And Spring Retainer
    G06267216Courtesy of AMERICAN HONDA MOTOR CO., INC.
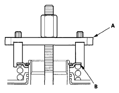
  8. Be sure the clutch spring compressor set (A) is adjusted to have full contact with the spring retainer (B) on the 4th and 5th clutches.
    Fig 7: Identifying Clutch Spring Compressor Set And Spring Retainer
    G06267217Courtesy of AMERICAN HONDA MOTOR CO., INC.
  9. Check the placement of the clutch spring compressor set. If either end of the clutch spring compressor set is set over an area of the spring retainer that is unsupported by the return spring, the retainer may be damaged.
    Fig 8: Checking Placement Of Clutch Spring Compressor Set
    G06267218Courtesy of AMERICAN HONDA MOTOR CO., INC.
  10. Compress the return spring until the snap ring can be installed.
    Fig 9: Compressing Return Spring
    G06267219Courtesy of AMERICAN HONDA MOTOR CO., INC.
  11. Install the snap ring using snap ring pliers.
    Fig 10: Installing Snap Ring Using Snap Ring Pliers
    G06267220Courtesy of AMERICAN HONDA MOTOR CO., INC.
  12. Remove the clutch spring compressor set.
  13. Install the wave spring (A) in the 1st clutch drum (B). Install the clutch flat-plate (C), then starting with the clutch disc, alternately install the clutch discs (D) (5) and the clutch wave-plates (E) (4). Install the clutch end-plate (F) with the flat side toward the top disc.
    Fig 11: Identifying Wave Spring, Clutch Discs, Clutch Flat-Plate And Clutch Wave-Plates
    G06267221Courtesy of AMERICAN HONDA MOTOR CO., INC.
  14. Install the wave spring (A) in the 2nd clutch drum (B). Install the clutch flat-plate (C), then starting with the clutch disc, alternately install the clutch discs (D) (6) and the clutch wave-plates (E) (5). Install the clutch end-plate (F) with the flat side toward the top disc.
    Fig 12: Identifying Wave Spring, 2nd Clutch Drum, Clutch Discs And Clutch Wave-Plates
    G06267222Courtesy of AMERICAN HONDA MOTOR CO., INC.
  15. Install the wave spring (A) in the 3rd clutch drum (B). Install the clutch flat-plate (C), then starting with the clutch disc, alternately install the clutch discs (D) (6) and the clutch wave-plates (E) (5). Install the clutch end-plate (F) with the flat side toward the top disc.
    Fig 13: Identifying Wave Spring, 3rd Clutch Drum, Clutch Discs And Clutch Wave-Plates
    G06267223Courtesy of AMERICAN HONDA MOTOR CO., INC.
  16. Install the wave spring (A) in the 4th clutch drum (B). Starting with the clutch wave-plate, alternately install the clutch wave-plates (C) (4) and the clutch discs (D) (4). Install the clutch end-plate (E) with the flat side toward the top disc.
    Fig 14: Identifying Wave Spring, 4Th Clutch Drum, Clutch Discs And Clutch End-Plate
    G06267224Courtesy of AMERICAN HONDA MOTOR CO., INC.
  17. Install the wave spring (A) in the 5th clutch drum (B). Starting with the clutch wave-plate, alternately install the clutch wave-plates (C) (4) and the clutch discs (D) (4). Install the clutch end-plate (E) with the flat side toward the top disc.
    Fig 15: Identifying Wave Spring, 5th Clutch Drum, Clutch Discs And Clutch End-Plate
    G06267225Courtesy of AMERICAN HONDA MOTOR CO., INC.
  18. Install the snap ring using a screwdriver to secure the clutch end-plate.
    Fig 16: Installing Snap Ring
    G06267226Courtesy of AMERICAN HONDA MOTOR CO., INC.
  19. Check that the clutch piston moves by applying air pressure into fluid passage.