lemon-mirror:
Home >> Honda >> 2007 >> Element SC, Automatic >> Repair and Diagnosis >> Transmission >> Automatic Trans >> Automatic Transmission >> Countershaft Bearing Replacement

Countershaft Bearing Replacement

Special Tools Required 

  1. Remove the countershaft bearing using the 20-40 mm adjustable bearing puller and a commercially available 3/8 "-16 slide hammer (A).
    Fig 1: Removing Countershaft Bearing
    G06267148Courtesy of AMERICAN HONDA MOTOR CO., INC.
  2. Remove the ATF guide plate (A), and check it for wear and damage. If the guide plate is worn or damaged, replace it.
    Fig 2: Identifying ATF Guide Plate
    G06267149Courtesy of AMERICAN HONDA MOTOR CO., INC.
  3. Install the ATF guide plate in the torque converter housing, and install a new countershaft bearing (B).
  4. Install the countershaft bearing securely in the torque converter housing using the driver handle and the 62 x 68 mm attachment.
    Fig 3: Identifying ATF Guide Plate And Countershaft Bearing
    G06267150Courtesy of AMERICAN HONDA MOTOR CO., INC.
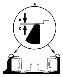
  5. Make sure that the bearing outer race notch-cut (A) is installed at a height of 0-0.05 mm (0-0.002 in.) (B) above the torque converter housing surface (C). Do not install the countershaft bearing higher than 0.05 mm (0.002 in.) above the torque converter housing surface.
Fig 4: Identifying Torque Converter Housing Surface
G06267151Courtesy of AMERICAN HONDA MOTOR CO., INC.