lemon-mirror:
Home >> Honda >> 2007 >> Element SC, Automatic >> Repair and Diagnosis >> Transmission >> Automatic Trans >> Automatic Transmission >> End Cover Installation

End Cover Installation

Special Tools Required 

Mainshaft holder 07GAB-PF50101

  1. Install the mainshaft holder onto the mainshaft.
    Fig 1: Installing Mainshaft Holder Onto Mainshaft
    G06267243Courtesy of AMERICAN HONDA MOTOR CO., INC.
  2. Lubricate the following parts with ATF:
    • Splines and threads of the mainshaft.
    • Splines of the mainshaft idler gear.
    • The old conical spring washer and the old locknut.
  3. Install the mainshaft idler gear (A), the old conical spring washer (B), and the old locknut (C) on the mainshaft (D), and tighten the locknut to 226 N.m (23.0 kgf.m, 166 lbf.ft).
    NOTE:
    • Do not tap the mainshaft idler gear to install.
    • Use a torque wrench to tighten the locknut. Do not use an impact wrench.
    Fig 2: Identifying Mainshaft Idler Gear, Conical Spring Washer And Locknut
    G06267244Courtesy of AMERICAN HONDA MOTOR CO., INC.
  4. Install the park lever spring (A), the park lever (B) and the park lever stop (C) on the selector control shaft (D), then install the lock bolt with a new lock washer (E). Do not bend the lock tab of the lock washer until step 18.
    Fig 3: Identifying Park Lever Spring, Park Lever, Park Lever Stop And Selector Control Shaft
    G06267245Courtesy of AMERICAN HONDA MOTOR CO., INC.
  5. Install the park pawl shaft (F), the park pawl spring (G), the park pawl (H), and the stop shaft (I) on the transmission housing.
  6. Lubricate the following parts with ATF:
    • Threads and splines of the countershaft.
    • The old conical spring washer and the old locknut.
    • Areas where the park gear contacts the conical spring washer.
  7. Install the park gear (J), the old conical spring washer (K), and the old locknut (L) on the countershaft (M).
  8. Lift the park pawl up, and engage it with the park gear, then tighten the locknut to 226 N.m (23.0 kgf.m, 166 lbf.ft).
    NOTE:
    • Do not tap the park gear to install.
    • Use a torque wrench to tighten the locknut. Do not use an impact wrench.
    • Countershaft locknut has left-hand threads.
  9. Remove the locknuts and the conical spring washers from the mainshaft and the countershaft.
  10. Lubricate the threads of the shafts, new locknuts and new conical spring washers with ATF.
  11. Install new conical spring washers (A) with facing stamped mark side up in the direction shown, and install a new mainshaft locknut (B), a new countershaft locknut (C), and a new secondary shaft locknut (D).
    Fig 4: Identifying Conical Spring Washers, Mainshaft Locknut, Countershaft Locknut And Secondary Shaft Locknut
    G06267246Courtesy of AMERICAN HONDA MOTOR CO., INC.
  12. Tighten the locknuts to 167 N.m (17.0 kgf.m, 123 lbf.ft).
    NOTE:
    • Be sure to install the conical spring washers in the direction shown.
    • Use a torque wrench to tighten the locknut. Do not use an impact wrench.
    • Countershaft and secondary shaft locknuts have left-hand threads.
  13. Remove the mainshaft holder from the mainshaft.
  14. Stake the locknuts into the shafts to a depth (A) of 0.7-1.3 mm (0.03-0.05 in.) using a 3.5 mm punch (B).
    Fig 5: Staking Locknuts Into Shafts
    G06267247Courtesy of AMERICAN HONDA MOTOR CO., INC.
  15. Install the selector control lever (A) on the selector control shaft (B), and install the bolt with a new lock washer (C), then bend the lock tab of the lock washer against the bolt head.
    Fig 6: Identifying Selector Control Lever, Selector Control Shaft And Lock Washer
    G06267248Courtesy of AMERICAN HONDA MOTOR CO., INC.
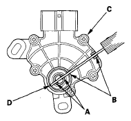
  16. Set the park lever in the P position, then check that the park pawl (A) engages the park gear (B).
    Fig 7: Park Pawl And Park Gear With Torque Specifications
    G06267249Courtesy of AMERICAN HONDA MOTOR CO., INC.
  17. If the park pawl does not engage fully, check the distance (C) between the park pawl shaft (D) and the park lever roller pin (E) (see PARK LEVER STOP INSPECTION AND ADJUSTMENT ).
  18. Tighten the lock bolt, and bend the lock tab of the lock washer (F) against the bolt head.
  19. Install the ATF feed pipe (A) into the idler gear shaft, and install the ATF lubrication pipe (B) into the transmission housing.
    Fig 8: Identifying ATF Feed Pipe And ATF Lubrication Pipe
    G06267250Courtesy of AMERICAN HONDA MOTOR CO., INC.
  20. Install a new gasket (A) on the transmission housing, and install the two dowel pins (B) and new O-rings (C) over the top of the ATF feed pipes.
    Fig 9: Dowel Pins, O-rings And ATF Feed Pipes With Torque Specifications
    G06267251Courtesy of AMERICAN HONDA MOTOR CO., INC.
  21. Install the end cover (D), and tighten the three special bolts (E) and the 6 x 1.0 mm bolts (F) (12 bolts).
  22. Install the harness clamp bracket (G) on the end cover.
  23. Move the selector control shaft (A) from the P position to the N position by turning the selector control shaft on the torque converter side.
    NOTE: Do not squeeze the end of the selector control shaft tips together when turning the shaft. If the tips are squeezed together it will cause a faulty shift position signal or position due to the play between the selector control shaft and the transmission range switch.
    Fig 10: Identifying Selector Control Shaft
    G06267252Courtesy of AMERICAN HONDA MOTOR CO., INC.
  24. Align the cutouts (A) on the rotary-frame with the neutral positioning cutouts (B) on the transmission range switch (C), then put a 2.0 mm (0.08 in.) feeler gauge blade (D) in the cutouts to hold in the N position.
    NOTE: Be sure to use a 2.0 mm (0.08 in.) blade or equivalent to hold the transmission range switch in the N position.
    Fig 11: Identifying Transmission Range Switch
    G06267253Courtesy of AMERICAN HONDA MOTOR CO., INC.
  25. Install the transmission range switch (A) gently on the selector control shaft (B) while holding it in the N position with the 2.0 mm (0.08 in.) blade (C).
    Fig 12: Identifying Transmission Range Switch And Selector Control Shaft
    G06267254Courtesy of AMERICAN HONDA MOTOR CO., INC.
  26. Tighten the bolts on the transmission range switch while you continue to hold it in the N position. Do not move the transmission range switch when tightening the bolts. Remove the feeler gauge.
    Fig 13: Transmission Range Switch And Bolts With Torque Specifications
    G06267255Courtesy of AMERICAN HONDA MOTOR CO., INC.
  27. Connect the transmission range switch connector (A) securely, then install the harness clamps (B) on the clamp bracket (C).
    Fig 14: Transmission Range Switch Connector, Harness Clamps And Clamp Bracket With Torque Specifications
    G06267256Courtesy of AMERICAN HONDA MOTOR CO., INC.
  28. Install the transmission range switch cover (D).
  29. Clean the mounting surface and the fluid passage of the transmission housing and A/T clutch pressure control solenoid valve A.
    Fig 15: Transmission Housing And A/T Clutch Pressure Control Solenoid Valve With Torque Specifications
    G06267257Courtesy of AMERICAN HONDA MOTOR CO., INC.
  30. Install a new gasket (B) on the transmission housing, and install the ATF pipe (C) and the ATF joint pipes (D).
    NOTE: Be sure to install a new gasket with the blue side toward the transmission housing.
  31. Install a new O-rings (E) over the ATF joint pipes, and install A/T clutch pressure control solenoid valve A.
  32. Clean the mounting surface and the fluid passage of the transmission housing, and A/T clutch pressure control solenoid valves B and C.
    Fig 16: A/T Clutch Pressure Control Solenoid Valves With Torque Specifications
    G06267258Courtesy of AMERICAN HONDA MOTOR CO., INC.
  33. Install a new gasket (A) and the ATF joint pipes (D) on the transmission housing, and install new O-rings (E) over the ATF joint pipes.
    NOTE: Be sure to install a new gasket with the blue side toward the transmission housing.
  34. Install A/T clutch pressure control solenoid valves B and C, with the harness clamp bracket (F).
  35. Install the ATF cooler inlet line (A) with the line bolt (B) and new sealing washers (C), and install the brackets (D).
    Fig 17: ATF Cooler Inlet Line, Line Bolt And Sealing Washers With Torque Specifications
    G06267259Courtesy of AMERICAN HONDA MOTOR CO., INC.
  36. Install the ATF cooler outlet line (E) with the line bolt (F) and new sealing washers (G).
  37. 4WD: Install the transfer assembly (A) with a new O-ring (B) and the dowel pin (C).
Fig 18: Transfer Assembly, O-ring And Dowel Pin With Torque Specifications
G06267260Courtesy of AMERICAN HONDA MOTOR CO., INC.