lemon-mirror:
Home >> Honda >> 2007 >> Element SC, Automatic >> Repair and Diagnosis >> Transmission >> Automatic Trans >> Automatic Transmission >> Shift Lever Ring Replacement

Shift Lever Ring Replacement

  1. Remove the shift lever assembly (see SHIFT LEVER REMOVAL ).
  2. Wrap the end of a flat-tip screwdriver with tape, pry the D3 switch cover lock, and remove the D3 switch cover (A).
    Fig 1: Identifying D3 Switch Cover
    G06267005Courtesy of AMERICAN HONDA MOTOR CO., INC.
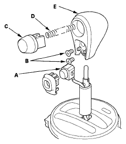
  3. Remove the D3 switch (A) by expanding its locks, and remove the screws (B), the shift lever button (C), the button spring (D), and the shift lever knob (E).
    Fig 2: Identifying D3 Switch, Shift Lever Button, Button Spring And Shift Lever Knob
    G06267006Courtesy of AMERICAN HONDA MOTOR CO., INC.
  4. Remove the A/T gear position indicator panel light socket (A), then separate the A/T gear position indicator panel (B) from the shift lever bracket (C).
    Fig 3: Identifying A/T Gear Position Indicator Panel Light Socket And A/T Gear Position Indicator Panel
    G06267007Courtesy of AMERICAN HONDA MOTOR CO., INC.
  5. Pry the lock tabs on the back of the D3 switch/shift lock solenoid connector (A), and remove the back cover (B).
    Fig 4: Identifying D3 Switch And Shift Lock Solenoid Connector
    G06267008Courtesy of AMERICAN HONDA MOTOR CO., INC.
  6. Remove the terminal (C) from the connector by pushing the lock tab (D) up in the connector using a thin blade screwdriver (E). Remove all four terminals.
  7. Remove the D3 switch harness clamp from the shift lever bracket and from the harness, and pull the D3 switch harness out to remove the shift lever assembly.
  8. Replace the shift lever ring, and install the new shift lever ring (A) to the shift lever (B).
    Fig 5: Identifying Shift Lever Ring And Shift Lever
    G06267009Courtesy of AMERICAN HONDA MOTOR CO., INC.
  9. Insert the D3 switch harness (C) into the shift lever ring, and route the harness through the groove (D) of the shift lever into the hole (E). Do not pinch the harness.
  10. Wind the D3 switch harness (A) one turn around the clamp (B) on the bottom of the shift lever.
    Fig 6: Identifying D3 Switch Harness And Clamp
    G06267010Courtesy of AMERICAN HONDA MOTOR CO., INC.
  11. Install the harness clamp (C) at the reference tape (D) on the harness, then install the clamp in the hole (E) of the shift lever bracket (F).
  12. Install the A/T gear position indicator panel (A) on the shift lever bracket. Apply silicone grease to the shift lever button (B), the button spring (C), and the push rod (D) of the shift lever (E), and install the button spring, the shift lever button, and the shift lever knob (F). Install new screws (G), and secure the shift lever knob to the shift lever.
    NOTE: Make sure not to get any silicone grease on the terminal part of the connectors and switches, especially if you have silicone grease on your hands or gloves.
    Fig 7: Identifying Shift Lever, Shift Lever Knob And Screws
    G06267011Courtesy of AMERICAN HONDA MOTOR CO., INC.
  13. Install the D3 switch (H) and the D3 switch cover (I).
  14. Install the A/T gear position indicator panel light socket (A).
    Fig 8: Identifying D3 Switch And D3 Switch Cover
    G06267012Courtesy of AMERICAN HONDA MOTOR CO., INC.
  15. Install the BLU/RED harness terminal (A) of the shift lock solenoid in the No. 3 cavity, and BLK harness terminal (B) in the No. 4 cavity.
    Fig 9: Identifying BLU/RED Harness Terminal
    G06267013Courtesy of AMERICAN HONDA MOTOR CO., INC.
  16. Install the D3 switch harness terminals (C) in the No. 1 and No. 2 cavities. Either D3 switch harness terminal can be installed in the No. 1 and No. 2 cavities.
  17. Make sure that all four terminals lock securely, then install the back cover (D) securely in place.
  18. Install the shift lever assembly (see SHIFT LEVER INSTALLATION ).