lemon-mirror:
Home >> Honda >> 2007 >> Element SC, Automatic >> Repair and Diagnosis >> Transmission >> Automatic Trans >> Automatic Transmission >> Transfer Holder Disassembly

Transfer Holder Disassembly

  1. Cut the lock tab on the locknut of the transfer shaft using a chisel.
    Fig 1: Cutting Lock Tab On Locknut Of Transfer Shaft
    G06267293Courtesy of AMERICAN HONDA MOTOR CO., INC.
  2. Put a 14 mm hex wrench (A) in the transfer shaft (B), then secure the hex wrench in a bench vise.
    Fig 2: Identifying Transfer Shaft
    G06267294Courtesy of AMERICAN HONDA MOTOR CO., INC.
  3. Remove the locknut (A) and the conical spring washer (B).
    Fig 3: Identifying Locknut And Conical Spring Washer
    G06267295Courtesy of AMERICAN HONDA MOTOR CO., INC.
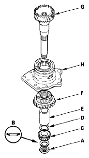
  4. Remove the tapered roller bearing (C), the 25 mm thrust shim (D), the transfer collar (E), the transfer drive gear (F), and the transfer shaft (G) from the transfer holder (H).