lemon-mirror:
Home >> Honda >> 2007 >> Element SC, Automatic >> Repair and Diagnosis >> Transmission >> Automatic Trans >> Automatic Transmission >> Transmission Removal

Transmission Removal

Special Tools Required 

*: These special tools are available through the Honda Tool and Equipment program 888-424-6857.

NOTE: Use fender covers to avoid damaging painted surfaces.
  1. Raise the vehicle on a lift, and make sure it is securely supported.
  2. Remove the splash shield.
  3. Remove the drain plug (A), and drain the automatic transmission fluid (ATF).
    Fig 1: Drain Plug And Automatic Transmission Fluid With Torque Specifications
    G06266922Courtesy of AMERICAN HONDA MOTOR CO., INC.
  4. Reinstall the drain plug with a new sealing washer (B).
  5. Do the battery removal procedure (see BATTERY REMOVAL AND INSTALLATION ).
  6. Remove the air cleaner assembly (see AIR CLEANER REMOVAL/INSTALLATION ), and the intake air duct.
  7. Remove the harness clamp from the battery base, then remove the battery base (see ENGINE REMOVAL ).
  8. Remove the transmission ground terminal (A).
    Fig 2: Identifying Transmission Ground Terminal
    G06266923Courtesy of AMERICAN HONDA MOTOR CO., INC.
  9. Disconnect the 2nd clutch transmission fluid pressure switch connector (B) and the A/T clutch pressure control solenoid valve A connector (C), and remove the harness clamps (D) from the clamp brackets (E).
  10. Disconnect the output shaft (countershaft) speed sensor connector (A) and the input shaft (mainshaft) speed sensor connector (B).
    Fig 3: Identifying 2nd Clutch Transmission Fluid Pressure Switch Connector And A/T Clutch Pressure Control Solenoid Valve A Connector
    G06266924Courtesy of AMERICAN HONDA MOTOR CO., INC.
  11. Disconnect the transmission range switch connector (C).
  12. Disconnect the 3rd clutch transmission fluid pressure switch connector (A).
    Fig 4: Identifying 3rd Clutch Transmission Fluid Pressure Switch Connector
    G06266925Courtesy of AMERICAN HONDA MOTOR CO., INC.
  13. Disconnect the shift solenoid harness connector (A), the A/T clutch pressure control solenoid valve B connector (B), and the A/T clutch pressure control solenoid valve C connector (C), then remove the harness clamps (D) from the clamp brackets (E).
    Fig 5: Identifying Shift Solenoid Harness Connector And A/T Clutch Pressure Control Solenoid Valve B Connector
    G06266926Courtesy of AMERICAN HONDA MOTOR CO., INC.
  14. Disconnect the ATF cooler hoses (A) from the ATF cooler lines (B). Turn the ends of the ATF cooler hoses up to prevent ATF from flowing out, then plug the ATF cooler hoses and lines.
    Fig 6: Identifying ATF Cooler Hoses And ATF Cooler Lines
    G06266927Courtesy of AMERICAN HONDA MOTOR CO., INC.
  15. Check for any signs of leakage at the hose joints.
  16. Remove the bolts (A) securing the water line and the harness brackets (B).
    Fig 7: Identifying Harness Brackets And Bolts
    G06266928Courtesy of AMERICAN HONDA MOTOR CO., INC.
  17. Attach the engine hanger adapter (VSB02C000015) to the threaded hole (A) in the cylinder head.
    Fig 8: Identifying Engine Hanger Adapter To Threaded Hole
    G06266929Courtesy of AMERICAN HONDA MOTOR CO., INC.
  18. Remove the under-hood fuse/relay box from its bracket.
  19. Install the engine support hanger (AAR-T1256) to the vehicle, and attach the hook (A) to the engine hanger adapter (VSB02C000015). Tighten the wing nut (B) by hand, and lift and support the engine.
    Fig 9: Identifying Engine Support Hanger And Hook
    G06266930Courtesy of AMERICAN HONDA MOTOR CO., INC.
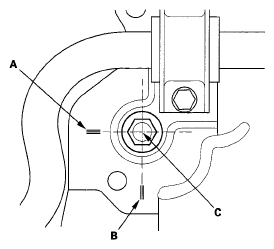
  20. Insert a 5 mm hex wrench (A) in the top of the ball joint pin (B), and remove the nut (C), then separate the stabilizer link (D) from the lower arm.
    Fig 10: Identifying Ball Joint Pin, Stabilizer Link And Nut
    G06266931Courtesy of AMERICAN HONDA MOTOR CO., INC.
  21. Remove the lock pin (E) and the castle nuts (F). Install the ball joint thread protector (07AAF-SDAA100) on the ball joint threads, and separate the lower arms (G) from the knuckles (H) (see step 10 under LOWER ARM REPLACEMENT ).
  22. Remove the torque converter cover (A), and remove the eight drive plate bolts (B) while rotating the crankshaft pulley.
    Fig 11: Identifying Torque Converter Cover And Drive Plate Bolts
    G06266932Courtesy of AMERICAN HONDA MOTOR CO., INC.
  23. Remove the shift cable cover (A), then remove the bolts (B) securing the shift cable bracket (C), and the shift cable holder (D).
    Fig 12: Identifying Shift Cable Cover, Shift Cable Bracket, Shift Cable Holder And Bolts
    G06266933Courtesy of AMERICAN HONDA MOTOR CO., INC.
  24. Pry up the lock tab of the lock washer (E), and remove the lock bolt (F) and the lock washer, then separate the control lever (G) from the selector control shaft (H). Do not bend the shift cable excessively.
  25. Remove the shift cable cover bracket (A).
    Fig 13: Identifying Lock Washer, Lock Bolt, Control Lever And Selector Control Shaft
    G06266934Courtesy of AMERICAN HONDA MOTOR CO., INC.
  26. Disconnect the ATF cooler hose (A) from the ATF cooler line (B), then plug the end of the hose.
    Fig 14: Identifying ATF Cooler Hose And ATF Cooler Line
    G06266935Courtesy of AMERICAN HONDA MOTOR CO., INC.
  27. Remove the front mount bolt (C) and the nut (D).
  28. Remove the rear mount bolts (A).
    Fig 15: Identifying Front Mount Bolt And Nut
    G06266936Courtesy of AMERICAN HONDA MOTOR CO., INC.
  29. Make the appropriate reference lines at positions A and B that line up with the center of the front subframe mounting bolts (C).
    Fig 16: Identifying Front Subframe Mounting Bolts
    G06266937Courtesy of AMERICAN HONDA MOTOR CO., INC.
  30. Attach the front subframe adapter (VSB02C000016) to the front subframe by looping the strap (A) over the front of the front subframe, then secure the strap with the stop (B), and tighten the wing nut.
    Fig 17: Identifying Front Subframe Adapter Strap And Wing Nut
    G06266938Courtesy of AMERICAN HONDA MOTOR CO., INC.
  31. Raise a jack and line up the slots in the arms with the bolt holes on the corner of the jack base, then tighten the bolts.
  32. Remove the four front subframe mounting bolts (A), then lower the front subframe.
    Fig 18: Identifying Front Subframe Mounting Bolts And Front Subframe
    G06266939Courtesy of AMERICAN HONDA MOTOR CO., INC.
  33. 4WD: Make a reference mark (A) across the No. 1 propeller shaft (B) and the transfer companion flange (C), then separate the No. 1 propeller shaft from the transfer assembly.
    Fig 19: Identifying No. 1 Propeller Shaft And Transfer Companion Flange
    G06266940Courtesy of AMERICAN HONDA MOTOR CO., INC.
  34. Pry the left driveshaft out of the differential (see step 8 under FRONT DRIVESHAFT REMOVAL ).
  35. Remove the driveshafts from the differential and intermediate shaft. Coat all precision machined surfaces with clean engine oil, then put plastic bags over the driveshaft ends. Hang the driveshaft to the body with a strap.
    Fig 20: Covering Driveshafts Using Plastic Bag
    G06266941Courtesy of AMERICAN HONDA MOTOR CO., INC.
  36. Remove the intermediate shaft cover (A).
    Fig 21: Identifying Intermediate Shaft Cover
    G06266942Courtesy of AMERICAN HONDA MOTOR CO., INC.
  37. Remove the intermediate shaft (B). Coat all precision machined surfaces with clean engine oil, then put plastic bags over the intermediate shaft ends.
  38. Place a jack under the transmission.
  39. Remove the transmission housing upper mounting bolts (A).
    Fig 22: Identifying Transmission Housing Upper Mounting Bolts And Intermediate Shaft
    G06266943Courtesy of AMERICAN HONDA MOTOR CO., INC.
  40. Remove the transmission mount bracket bolt (A) and the nuts (B), then remove the transmission mount bolt (C).
    Fig 23: Identifying Transmission Mount Bracket Bolt And Nut
    G06266944Courtesy of AMERICAN HONDA MOTOR CO., INC.
  41. Remove the transmission housing front mounting bolts (A) located on front lower of the transmission.
    Fig 24: Identifying Transmission Housing Front Mounting Bolts
    G06266945Courtesy of AMERICAN HONDA MOTOR CO., INC.
  42. Remove the transmission housing rear mounting bolts (A) located on rear lower of the transmission.
    Fig 25: Identifying Transmission Housing Rear Mounting Bolts
    G06266946Courtesy of AMERICAN HONDA MOTOR CO., INC.
  43. Slide the transmission away from the engine to remove it from the vehicle.
  44. 44, Remove the torque converter (A), the O-ring (B), and the dowel pins (C).
    Fig 26: Identifying Torque Converter, O-Ring And Dowel Pins
    G06266947Courtesy of AMERICAN HONDA MOTOR CO., INC.
  45. Remove the front mount (A).
    Fig 27: Identifying Front Mount
    G06266948Courtesy of AMERICAN HONDA MOTOR CO., INC.
  46. Remove the rear mount/bracket (A).
    NOTE: The illustration shows the 4WD transmission; the 2WD transmission is similar.
    Fig 28: Identifying Rear Mount And Bracket
    G06266949Courtesy of AMERICAN HONDA MOTOR CO., INC.
  47. Remove the air cleaner housing mounting bracket (A).
    Fig 29: Identifying Air Cleaner Housing Mounting Bracket
    G06266950Courtesy of AMERICAN HONDA MOTOR CO., INC.
  48. Inspect the drive plate, and replace it if it's damaged.