lemon-mirror:
Home >> Honda >> 2007 >> Element SC, Automatic >> Repair and Diagnosis >> Transmission >> Automatic Trans >> Automatic Transmission >> Valve Body Valve Installation

Valve Body Valve Installation

  1. Coat all parts with ATF before assembly.
  2. Install the valves and the springs in the sequence shown for the main valve body (see MAIN VALVE BODY DISASSEMBLY, INSPECTION, AND REASSEMBLY ), the regulator valve body (see REGULATOR VALVE BODY DISASSEMBLY, INSPECTION, AND REASSEMBLY ), and the servo body (see SERVO BODY DISASSEMBLY, INSPECTION, AND REASSEMBLY ). Refer to the following valve cap illustrations, and install each valve cap so the end shown facing up will be facing the outside of the valve body.
    Fig 1: Identifying Valve Body Valve
    G06267136Courtesy of AMERICAN HONDA MOTOR CO., INC.
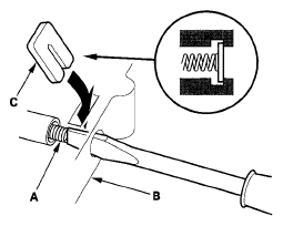
  3. Install all the springs and seats. Insert the spring (A) in the valve, then install the valve in the valve body (B). Push the spring in using a screwdriver, then install the spring seat (C).
Fig 2: Installing Springs And Seats
G06267137Courtesy of AMERICAN HONDA MOTOR CO., INC.