lemon-mirror:
Home >> Honda >> 2007 >> Fit Base, Automatic >> Repair and Diagnosis >> Body & Frame >> Door Locks >> Keyless/Power Door Locks/Security System >> Transmitter Test

Transmitter Test

NOTE:
  • If the doors unlock or lock with the transmitter, but the LED on the transmitter does not come on, the LED is faulty; replace the transmitter.
  • If any door or the tailgate is open, you cannot lock the doors with the transmitter.
  • If you unlocked the doors and the tailgate with the transmitter, but do not open any of the doors or the tailgate within 30 seconds, the doors and the tailgate relock automatically.
  • The doors and the tailgate do not lock or unlock with the transmitter if the ignition key is inserted in the ignition switch.
  1. With the HDS, select Body Electrical from the system selection menu, then "Data List". Verify that all History commands are off.
    NOTE: If the commands are not off, cycle the ignition switch to off then on again.
  2. Turn the ignition switch OFF (0), then remove the key from the ignition switch.
  3. Using the remote, lock the doors, activate the panic, unlock the driver's door, then unlock all the doors.
  4. Insert the ignition key into the ignition switch, then turn the ignition switch ON (II).
  5. Recheck the History Data list on the HDS.
  6. Press the lock or unlock button five or six times to reset the transmitter.
    • If the locks work, the transmitter is OK.
    • If the locks don't work, go to step 7.
  7. Open the transmitter and check for water damage.
    • If you find any water damage, replace the transmitter.
    • If there is no water damage, go to step 8.
    • Fig 1: Identifying Transmitter
      G05456602Courtesy of AMERICAN HONDA MOTOR CO., INC.
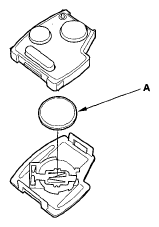
  8. Replace the transmitter battery (A) with a new one, and try to lock and unlock the doors with the transmitter by pressing the lock or unlock button five or six times.
    • If the doors lock and unlock, the transmitter is OK.
    • If the doors don't lock and unlock, go to step 9.
    • Fig 2: Identifying Transmitter Battery
      G05456603Courtesy of AMERICAN HONDA MOTOR CO., INC.
  9. Reprogram and register the transmitter (see TRANSMITTER PROGRAMMING ), then try to lock and unlock the doors.
    • If the doors lock and unlock, the transmitter is OK.
    • If the doors don't lock and unlock, try and program to another vehicle. If still not operating, replace the transmitter.