lemon-mirror:
Home >> Honda >> 2007 >> Fit Base, Automatic >> Repair and Diagnosis >> Engine Performance >> System >> Fuel And Emissions Systems >> System Description >> Vacuum Distribution

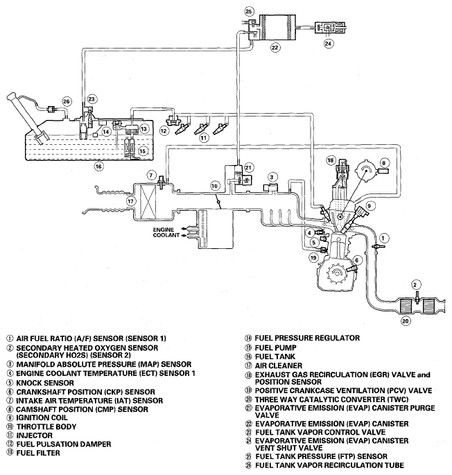
Vacuum Distribution

Fig 1: Vacuum Distribution Diagram
G05454438Courtesy of AMERICAN HONDA MOTOR CO., INC.