lemon-mirror:
Home >> Honda >> 2007 >> Fit Base, Automatic >> Repair and Diagnosis >> Engine Performance >> System >> Fuel Supply System >> Fuel Pressure Regulator Replacement

Fuel Pressure Regulator Replacement

  1. Remove the fuel tank unit (see FUEL TANK UNIT REMOVAL AND INSTALLATION ).
  2. Remove the reservoir (A).
    Fig 1: Identifying Reservoir
    G05454816Courtesy of AMERICAN HONDA MOTOR CO., INC.
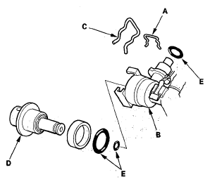
  3. Remove the clip (A), then remove the bracket (B).
    Fig 2: Identifying Clip, O-Ring And Fuel Pressure Regulator
    G05454817Courtesy of AMERICAN HONDA MOTOR CO., INC.
  4. Remove the clip (C), then remove the fuel pressure regulator (D).
  5. Install the parts in the reverse order of removal with new O-rings (E).
NOTE: Coat the O-rings with clean engine oil; do not use any other oils or fluids. Do not pinch the O-rings during installation.