lemon-mirror:
Home >> Honda >> 2007 >> Odyssey LX >> Repair and Diagnosis >> Transmission >> Automatic Trans >> Automatic Transmission >> Automatic Transmission >> Transmission Reassembly >> Exploded View

Exploded View

Fig 1: Exploded View Of Torque Converter Housing & Valve Bodies With Torque Specifications
G06681217Courtesy of AMERICAN HONDA MOTOR CO., INC.

Special Tools Required 

Mainshaft Holder 07GAB-PF50101

NOTE: Refer to the EXPLODED VIEW  as needed during the following procedure.
  1. Make sure that the ATF magnet is clean and installed in the torque converter housing. Clean and install the ATF magnet, if necessary.
  2. Install the main separator plate and the two dowel pins on the torque converter housing. Then install the ATF pump drive gear (A), the driven gear (B), and the ATF pump driven gear shaft (C). Install the ATF pump driven gear with its grooved and chamfered side facing down.
    Fig 2: Identifying ATF Pump Drive Gear, Driven Gear And ATF Pump Driven Gear Shaft
    G06681218Courtesy of AMERICAN HONDA MOTOR CO., INC.
  3. Install the torque converter check valve spring and the valve in the torque converter housing.
  4. Install the main valve body (seven 6 mm bolts and three 8 mm bolts). Make sure the ATF pump drive gear (A) rotates smoothly in the normal operating direction, and the ATF pump driven gear shaft (B) moves smoothly in the axial and normal operating direction.
    Fig 3: Installing Main Valve Body
    G06681219Courtesy of AMERICAN HONDA MOTOR CO., INC.
  5. If the ATF pump drive gear and the ATF pump driven gear shaft do not move smoothly, loosen the main valve body bolts. Realign the ATF pump driven gear shaft, and retighten the bolts to the specified torques, then recheck. Failure to align the ATF pump driven gear shaft correctly will result in a seized ATF pump drive gear or the ATF pump driven gear shaft.
  6. Install the lubrication check valve, the cooler check valve, and the cooler check valve spring in the main valve body. Install the lubrication check valve in the direction shown in the exploded view.
  7. Install the secondary separator plate and the two dowel pins on the main valve body, and install the secondary valve body (one bolt).
  8. Install the three check balls in the secondary valve body.
  9. Install the accumulator separator plate and the two dowel pins on the secondary valve body.
  10. Position the detent arm on the accumulator separator plate, and install the detent arm shaft into the detent arm through the separator plates to the main valve body.
  11. Install the 8 x 62 mm ATF feed pipe in the main valve body, and install the accumulator body (11 bolts).
  12. Install the regulator separator plate and the two dowel pins on the main valve body.
  13. Install the stator shaft with a new O-ring, and install the regulator valve body (six bolts).
  14. Install the stator shaft stop in the main valve body.
  15. Install the ATF strainer with a new O-ring (one bolt).
  16. Install the ATF passage pipe (one bolt) in the torque converter housing.
  17. Install the intermediary shaft (A) into the main valve body, and install the 26.5 mm washer (B) on the top of the intermediary shaft.
    Fig 4: Identifying Intermediary Shaft And Main Valve Body
    G06681220Courtesy of AMERICAN HONDA MOTOR CO., INC.
  18. Install the baffle plate (C) and the oil catch plate (D).
  19. Install the differential assembly (E) in the torque converter housing.
  20. Install the oil catch plates (F) (G), and make sure the differential is clear of the oil catch plate.
  21. Install the selector control shaft and the park lever link (H).
  22. Assemble the mainshaft, the countershaft, and the secondary shaft.
  23. Install the thrust needle bearing (A) on the secondary shaft bearing in the torque converter housing.
    Fig 5: Identifying Thrust Needle Bearing, Shift Fork Shaft And Shift Fork
    G06681221Courtesy of AMERICAN HONDA MOTOR CO., INC.
  24. Turn the shift fork shaft (B) so the large chamfered hole is facing the fork bolt hole of the shift fork.
  25. Engage the shift fork (C) with the reverse selector on the countershaft, and join the mainshaft (D), the countershaft (E), and the secondary shaft (F), then install them in the torque converter housing and the shift fork on the shift fork shaft.
  26. Secure the shift fork (A) to the shift fork shaft with the lock bolt and a new lock washer (B), then bend the lock tab of the lock washer against the bolt head.
    Fig 6: Securing Shift Fork To Shift Fork Shaft
    G06681222Courtesy of AMERICAN HONDA MOTOR CO., INC.
  27. Install the park pawl shaft (A), the pawl spring (B), the park pawl (C), and the park pawl stop (D).
    Fig 7: Identifying Park Pawl Shaft, Pawl Spring, Park Pawl And Park Pawl Stop
    G06681223Courtesy of AMERICAN HONDA MOTOR CO., INC.
  28. Align the control lever pin (A) with the manual valve guide (B).
    Fig 8: Aligning Control Lever Pin And Manual Valve Guide
    G06681224Courtesy of AMERICAN HONDA MOTOR CO., INC.
  29. Hook the detent arm spring (A) to the detent arm (B).
    Fig 9: Identifying Detent Arm Spring And Detent Arm
    G06681225Courtesy of AMERICAN HONDA MOTOR CO., INC.
  30. Install the 8 x 85 mm ATF feed pipe (A), the 8 x 151.5 mm pipes (B), and the 8 x 40 mm pipe (C) in the accumulator body.
    Fig 10: Identifying ATF Feed Pipe
    G06681226Courtesy of AMERICAN HONDA MOTOR CO., INC.
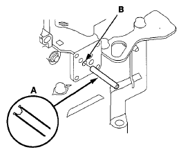
  31. Install the 8 x 57.5 mm ATF feed pipe (A) and the 10x123 mm pipe (B) in the torque converter housing.
    Fig 11: Identifying ATF Feed Pipe And Pipe
    G06681227Courtesy of AMERICAN HONDA MOTOR CO., INC.
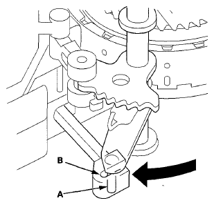
  32. Install the two dowel pins (A) and a new gasket (B) on the torque converter housing (C).
    Fig 12: Identifying Dowel Pins And Torque Converter Housing
    G06681228Courtesy of AMERICAN HONDA MOTOR CO., INC.
  33. Place the transmission housing (D) on the torque converter housing.
  34. Wrap a screwdriver tip with tape to prevent damaging the reverse idler gear teeth. Engage the reverse idler gear with the reverse gears by rotating the idler gear using a screwdriver.
    Fig 13: Placing Transmission Housing On Torque Converter Housing
    G06681229Courtesy of AMERICAN HONDA MOTOR CO., INC.
  35. While expanding the snap ring of the countershaft bearing using snap ring pliers, install the transmission housing onto the bearing part-way. Then release the snap ring pliers, and push down on the transmission housing until it bottoms out and the snap ring snaps into place in the transmission housing snap ring groove.
    Fig 14: Removing Snap Ring
    G06681230Courtesy of AMERICAN HONDA MOTOR CO., INC.
  36. Install the transmission housing mounting bolts (23 bolts) along with the transmission hanger (A), and tighten the bolts in at least two steps in a crisscross pattern to 44 N.m (4.5 kgf.m, 33 lbf.ft).
    NOTE: '08-10 models with the J35A7 engine: Be sure to install the transmission ground terminal bracket (B) along with the mounting bolt as shown.
    Fig 15: Transmission Housing Mounting Bolts And Transmission Hanger With Torque Specifications
    G06681231Courtesy of AMERICAN HONDA MOTOR CO., INC.
  37. Install and tighten the two mounting bolts (C) to 39 N.m (4.0 kgf.m, 29 lbf.ft). Keep the mounting bolts free of grease or oil.
  38. Install and tighten the special bolt (D) to 64 N.m (6.5 kgf.m, 47 lbf.ft).
  39. Install the mainshaft holder onto the mainshaft.
    Fig 16: Identifying Special Bolt
    G06681232Courtesy of AMERICAN HONDA MOTOR CO., INC.
  40. Install a new lock washer (A) with the marked side (B) up over the mainshaft (C), and apply ATF to surfaces of the lock washer and the old locknut (D).
    Fig 17: Identifying Lock Washer, Mainshaft And Locknut
    G06681233Courtesy of AMERICAN HONDA MOTOR CO., INC.
  41. Install the old locknut, and tighten it to seat the lock washer to 178 N.m (18.2 kgf.m, 132 lbf.ft), then remove the old locknut.
  42. Install a new locknut, and tighten it to 178 N.m (18.2 kgf.m, 132 lbf.ft), then stake the locknut to a depth (A) of 0.7-1.3 mm (0.03-0.05 in) using a 3.5 mm (0.14 in) punch (B).
    Fig 18: Staking Locknut Depth
    G06681234Courtesy of AMERICAN HONDA MOTOR CO., INC.
  43. Install the end cover (A), the dowel pins (B), and a new O-ring (C).
    Fig 19: Installing End Cover, Dowel Pins And O-ring With Torque Specifications
    G06681235Courtesy of AMERICAN HONDA MOTOR CO., INC.
  44. Install the snap ring cap (D) with a new O-ring (E).
  45. Apply thread lock sealant to the threads of the sealing plug (F), and install the sealing plug and a new sealing washer (G).
  46. Install a new O-ring (E) on the shift solenoid wire harness (F).
    Fig 20: Identifying Snap Ring Cap And O-ring
    G06681236Courtesy of AMERICAN HONDA MOTOR CO., INC.
  47. Route the solenoid wire harness through the transmission housing, and install the shift solenoid wire harness.
  48. Connect the shift solenoid wire harness connectors to the shift solenoid valves:
    • YEL wire connector to shift solenoid valve A.
    • RED wire connector to shift solenoid valve B.
    • GRN wire connector to shift solenoid valve C.
    • ORN wire connector to shift solenoid valve D.
  49. Secure the shift solenoid wire harness with the bolt on the transmission housing.
  50. Install the shift solenoid valve cover (A) with the two dowel pins (B) and a new gasket (C), and secure it with the seven bolts.
    Fig 21: Shift Solenoid Valve Cover, Dowel Pins And Gasket With Torque Specifications
    G06681237Courtesy of AMERICAN HONDA MOTOR CO., INC.
  51. Place a new gasket (A) on the shift solenoid valve cover, then install the 8 x 105.8 mm ATF feed pipe (B) and the 8 x 58.3 mm pipes (C) with their filter side into the transmission housing.
    Fig 22: ATF Feed Pipe And Gasket With Torque Specifications
    G06681238Courtesy of AMERICAN HONDA MOTOR CO., INC.
  52. Install new O-rings (D) over the ATF feed pipes, and install A/T clutch pressure control solenoid valves A and B (E).
  53. Install the 8 x 53 mm ATF joint pipe (A) with the filter side into its mounting hole (B).
    Fig 23: Identifying O-rings, ATF Feed Pipes, A/T Clutch Pressure Control Solenoid Valves
    G06681239Courtesy of AMERICAN HONDA MOTOR CO., INC.
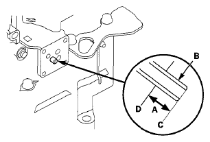
  54. Check the height (A) of the 8 x 53 mm ATF joint pipe (B) between the top (C) of the pipe and the solenoid valve body mounting surface (D). The height is about 7 mm (0.3 in). If the height is over 7 mm (0.3 in), install the pipe securely until it stops the accumulator body.
    Fig 24: Checking Height Of ATF Joint Pipe Between Top Of Pipe And Solenoid Valve Body Mounting Surface
    G06681240Courtesy of AMERICAN HONDA MOTOR CO., INC.
  55. Install a new gasket (A) on the transmission housing. Install the 8 x 34.5 mm ATF pipe (B) with the filter side into the transmission housing, and install the 8 x 25.5 mm ATF pipe (D).
    Fig 25: ATF Pipe And Transmission Housing With Torque Specifications
    G06681241Courtesy of AMERICAN HONDA MOTOR CO., INC.
  56. Install new O-rings (E) over the ATF joint pipes.
  57. Install A/T clutch pressure control solenoid valve C.
  58. With a 6.0 mm wrench, turn the selector control shaft fully counterclockwise (viewed from the shaft end) to the P position. Turn the selector control shaft back two click-stopped positions so that it is in the N position.
    Fig 26: Turning Selector Control Shaft
    G06681242Courtesy of AMERICAN HONDA MOTOR CO., INC.
  59. Set the transmission range switch (A) to the N position. The transmission range switch clicks in the N position, and the selector control shaft hole (B) aligns with the N positioning line (C).
    Fig 27: Identifying Transmission Range Switch
    G06681243Courtesy of AMERICAN HONDA MOTOR CO., INC.
  60. Install the transmission range switch gently over the selector control shaft (D), and install the bolts loosely.
  61. Install a new lock washer (A) over the selector control shaft (B) while aligning the indicator tab (C) of the lock washer with the N positioning line (D) on the transmission range switch (E), and install the locknut (F).
    Fig 28: Identifying Transmission Range Switch And Selector Control Shaft
    G06681244Courtesy of AMERICAN HONDA MOTOR CO., INC.
  62. Push the locknut against the transmission housing to seat the transmission range switch into the selector control shaft, and tighten the locknut (A) to 12 N.m (1.2 kgf.m, 8.7 lbf.ft) while holding the selector control shaft (B) with a 6 mm wrench (C), then bend the lock tabs (D) against the lock nut.
    Fig 29: Locknut And Lock Tabs With Torque Specifications
    G06681245Courtesy of AMERICAN HONDA MOTOR CO., INC.
  63. Tighten the bolts (E) securing the transmission range switch to 12 N.m (1.2 kgf.m, 8.7 lbf.ft).
  64. Install the selector control lever (A), the spring washer (B), a new lock washer (C), and the locknut (D) on the selector control shaft (E).
    Fig 30: Selector Control Lever, Spring Washer, Lock Washer And Locknut With Torque Specifications
    G06681246Courtesy of AMERICAN HONDA MOTOR CO., INC.
  65. Install a new O-ring (A) on the output shaft (countershaft) speed sensor (B), and install the output shaft (countershaft) speed sensor and the sensor washer (C).
    Fig 31: O-Ring, Output Shaft Speed Sensor And Output Shaft Speed Sensor With Torque Specifications
    G06681247Courtesy of AMERICAN HONDA MOTOR CO., INC.
  66. Install a new O-ring (D) on the input shaft (mainshaft) speed sensor (E), and install the input shaft (mainshaft) speed sensor.
  67. Install the 4th clutch transmission fluid pressure switch (A) with a new sealing washer (B). Tighten the switch by the metal part, not the plastic part.
    Fig 32: Sealing Washer And O-ring With Torque Specifications
    G06681248Courtesy of AMERICAN HONDA MOTOR CO., INC.
  68. Install transmission fluid pressure switch B (3rd clutch) (A) with a new sealing washer (B). Tighten the switch by the metal part, not the plastic part.
    Fig 33: Sealing Washer And Transmission Fluid Pressure Switch With Torque Specifications
    G06681249Courtesy of AMERICAN HONDA MOTOR CO., INC.
  69. Loosely install the ATF cooler lines (C) with new sealing washers (D) and the banjo bolts (E).
  70. Secure the ATF lines with the 6.0 mm bolts (F) on the transmission housing. Tighten the banjo bolts to the specified torque.
  71. Install the ATF temperature sensor (G) with a new O-ring (H), then install the connector on the connector bracket.
  72. Install transmission fluid pressure switch A (2nd clutch) with a new sealing washer (B). Tighten the switch by the metal part, not the plastic part.
    Fig 34: ATF Temperature Sensor, O-Ring And Connector Bracket With Torque Specifications
    G06681250Courtesy of AMERICAN HONDA MOTOR CO., INC.
  73. Install the ATF dipstick guide tube (A) with a new O-ring (B).
    Fig 35: Installing ATF Dipstick Guide Tube With O-ring With Torque Specifications
    G06681251Courtesy of AMERICAN HONDA MOTOR CO., INC.
  74. Install the ATF dipstick (C) in its guide tube.