lemon-mirror:
Home >> Honda >> 2007 >> Pilot EX, 3.5 YF2 >> Repair and Diagnosis >> Engine Performance >> System >> PGM-FI System >> Knock Sensor Replacement

Knock Sensor Replacement

  1. Remove the intake manifold (see INTAKE MANIFOLD REMOVAL AND INSTALLATION ).
  2. Remove the fuel rails and the injector base.
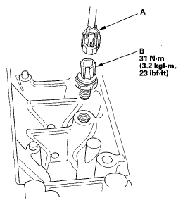
  3. Disconnect the knock sensor 1P connector (A), then remove the knock sensor (B).
    Fig 1: Lnock Sensor With Torque Specifications
    G05593773Courtesy of AMERICAN HONDA MOTOR CO., INC.
  4. Install the parts in the reverse order of removal.