lemon-mirror:
Home >> Honda >> 2007 >> Ridgeline RT >> Repair and Diagnosis >> Body & Frame >> Windows >> Glass >> Windshield Replacement

Windshield Replacement

NOTE:
  • Put on gloves to protect your hands.
  • Wear eye protection while cutting the glass adhesive with piano wire.
  • Use seat covers to avoid damaging the seat.
  • When replacing a broken windshield, a commercially available windshield cutter can be efficiently used for cutting the adhesive. For details, follow the instructions on the manufacturer of the tool.
  • Do not damage the windshield defogger grid lines and defogger terminals.
  1. Remove these items:
  2. Lower the glove box (see DASHBOARD CENTER LOWER COVER DISASSEMBLY/REASSEMBLY ).
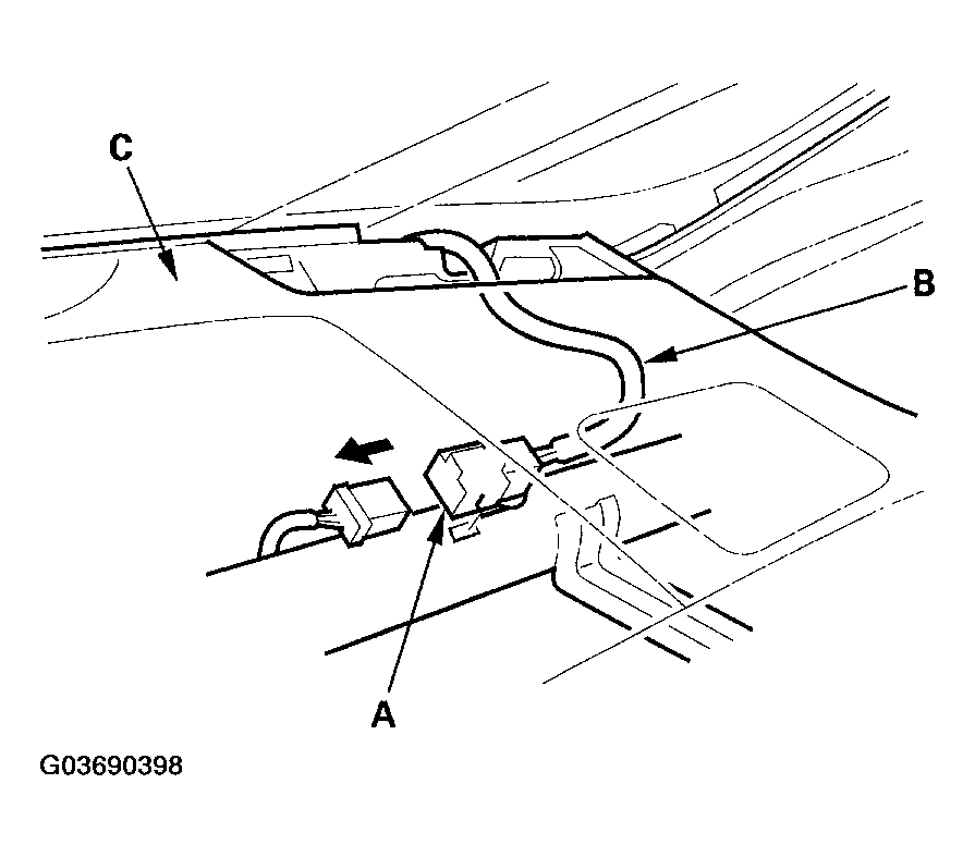
  3. Disconnect the windshield defogger connector (A) through the glove box opening, and pull out the windshield defogger harness (B) from the tweeter grille opening in the dashboard (C).
    Fig 1: Disconnecting Windshield Defogger Connector
    G03690398Courtesy of AMERICAN HONDA MOTOR CO., INC.
  4. Remove the molding (A) from the edge of the windshield (B). If necessary, cut the molding with a utility knife.
    Fig 2: Removing Molding From Edge Of Windshield
    G03690399Courtesy of AMERICAN HONDA MOTOR CO., INC.
  5. If the old windshield will be reinstalled, make alignment marks across the glass and body with a grease pencil.
  6. Pull down the front portion of the headliner (see HEADLINER REMOVAL/INSTALLATION ). Take care not to bend the headliner excessively, or you may crease or break it.
  7. Apply protective tape along the edge of the dashboard and body. Using an awl, make a hole through the rubber dam, adhesive, and dashboard seal from inside the vehicle at the corner portion of the glass. Push a piece of piano wire through the hole, and wrap each end around a piece of wood.
  8. Apply the protective plastic plates (A) between the dashboard (B) and piano wire (C) and between the windshield (D) and piano wire. With a helper on the outside, pull the piano wire back and forth in a sawing motion. Hold the piano wire as close to the windshield as possible to prevent damage to the body and dashboard. Carefully cut through the rubber dam and adhesive (E) around the entire windshield. Take care not to damage the windshield defogger harness (F).
    Fig 3: Applying Protective Plastic Plates Between Dashboard And Piano Wire
    G03690400Courtesy of AMERICAN HONDA MOTOR CO., INC.
  9. Fig 4: Identifying Cutting Positions
    G03690401Courtesy of AMERICAN HONDA MOTOR CO., INC.
  10. Carefully remove the windshield.
  11. With a putty knife, scrape the old adhesive until smooth to a thickness of about 2 mm (0.08 in.) on the bonding surface around the entire windshield opening flange:
    • Do not scrape down to the painted surface of the body; damaged paint will interfere with proper bonding.
    • Remove the rubber dam and fasteners from the body.
  12. Clean the body bonding surface with a sponge dampened in isopropyl alcohol. After cleaning, keep oil, grease and water from getting on the clean surface.
  13. If the old windshield will be reinstalled, use a putty knife to scrape off all of the old adhesive, the rubber dam and the dashboard seal from the windshield. Clean the inside face and the edge of the windshield with isopropyl alcohol where new adhesive is to be applied. Make sure the bonding surface is kept free of water, oil, and grease.
  14. Attach the upper rubber dam (A), side rubber dams (B), and lower rubber dam (C) with adhesive tape. Apply primer where the fasteners (D) are to be applied, then attach the fasteners with adhesive tape and dashboard seal (E) to the inside face of the windshield (F) as shown:
    • Be sure the rubber dams, fasteners, and dashboard seal line up with the alignment marks (G).
    • Be careful not to touch the windshield where adhesive will be applied.

    Rubber dams adhesive tape: 

    Thickness 0.16 mm (0.006 in.) 

    Width 4 mm (0.16 in.) 

    Fasteners and dashboard seals adhesive tape: 

    Thickness 0.2 mm (0.008 in.) 

    Width 7.5 mm (0.30 in.) 

    Fig 5: Attaching Upper Rubber Dam, Side Rubber Dams, And Lower Rubber Dam
    G03690402Courtesy of AMERICAN HONDA MOTOR CO., INC.
  15. Apply primer to the edge of the windshield between the alignment marks (A). Be careful not to touch the windshield where adhesive will be applied.
    Fig 6: Applying Primer To Edge Of Windshield Between Alignment Marks
    G03690403Courtesy of AMERICAN HONDA MOTOR CO., INC.
  16. Attach the molding (A) with adhesive tape (B) to the edge of the windshield (C):
    • Be sure the alignment mark (D) of the molding lines up with the alignment mark (E) of the windshield.
    • Be careful not to touch the windshield where adhesive will be applied.

    Adhesive tape: Thickness 0.8 mm (0.03 in.) Width 4 mm (0.16 in.) 

    Fig 7: Attaching Molding With Adhesive Tape To Edge Of Windshield
    G03690404Courtesy of AMERICAN HONDA MOTOR CO., INC.
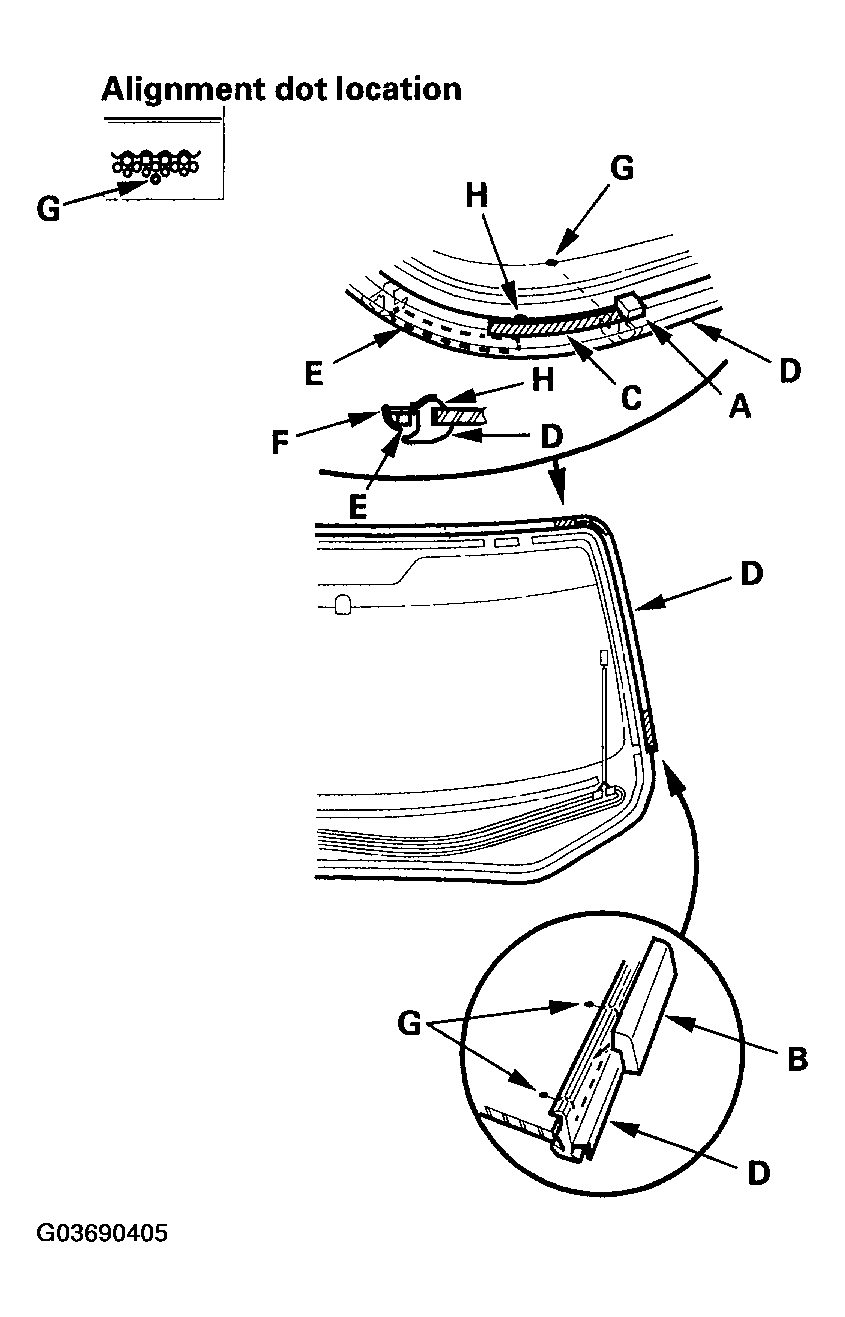
  17. Attach the molding upper seals (A), molding lower seals (B), and non woven fabric (C) to the inside surface of the molding (D), and attach the molding rubbers (E) with the adhesive tape to the inside surface of the molding lip (F) as shown:
    • Be sure the molding upper seal and molding side seal line up with the alignment dots (G).
    • Be sure the molding rubber lines up with the alignment mark (H) of the molding.
    • Be careful not to touch the windshield where adhesive will be applied.

    Molding rubber adhesive tape: 

    Thickness 0.16 mm (0.006 in.) 

    Width 3 mm (0.12 in.) 

    Fig 8: Attaching Molding Upper Seals, Molding Lower Seals, And Non Woven Fabric
    G03690405Courtesy of AMERICAN HONDA MOTOR CO., INC.
  18. Install the fasteners to the body.
    Fig 9: Installing Fasteners To Body
    G03690406Courtesy of AMERICAN HONDA MOTOR CO., INC.
  19. Set the windshield in the opening, and center it. Make alignment marks (A) across the windshield and body with a grease pencil at the four points shown. Be careful not to touch the windshield where adhesive will be applied.
    Fig 10: Identifying Alignment Marks
    G03690407Courtesy of AMERICAN HONDA MOTOR CO., INC.
  20. With a sponge, apply a light coat of glass primer around the edge of the windshield (A) between the upper rubber dam (B), side rubber dams (C), lower rubber dam (D), and molding (E) as shown, then lightly wipe it off with gauze or cheesecloth:
    • Apply glass primer to the molding.
    • Do not apply body primer to the windshield, and do not get the body and glass primer sponges mixed up.
    • Never touch the primed surfaces with your hands. If you do, the adhesive may not bond to the windshield properly, causing a leak after the windshield is installed.
    • Keep water, dust, and abrasive materials away from the primed surfaces.
      Fig 11: Identifying Edge Of Windshield Between Upper Rubber Dam, Side Rubber Dams
      G03690408Courtesy of AMERICAN HONDA MOTOR CO., INC.
  21. With a sponge, carefully apply a light coat of body primer to any exposed paint around the flange where new adhesive will be applied. Let the primer dry for at least 10 minutes:
    • Do NOT apply body primer to any remaining original adhesive on the flange.
    • Be careful not to mix up the body and glass primer sponges.
    • Never touch the primed surface with your hands.
      Fig 12: Applying A Light Coat Of Body Primer To Exposed Parts
      G03690409Courtesy of AMERICAN HONDA MOTOR CO., INC.
  22. Cut a "V" in the end of the nozzle (A) on the adhesive cartridge as shown.
    Fig 13: Cutting "V" In End Of Nozzle On Adhesive Cartridge
    G03690410Courtesy of AMERICAN HONDA MOTOR CO., INC.
  23. Put the cartridge in a caulking gun, and run a bead of adhesive (A) around the edge of the windshield (B) between the upper rubber dam (C), side rubber dams (D), lower rubber dam (E), and molding (F) as shown. Apply the adhesive within 30 minutes after applying the glass primer. Make a slightly thicker bead at each corner.
    Fig 14: Identifying Bead Of Adhesive Around Edge Of Windshield Between Upper Rubber Dam
    G03690411Courtesy of AMERICAN HONDA MOTOR CO., INC.
  24. Use suction cups to hold the windshield over the opening, align it with the alignment marks made in step  18, and set it down on the adhesive. Lightly push on the windshield until its edges are fully seated on the adhesive all the way around. Do not open or close the doors until the adhesive has dried for 1 hour.
  25. Scrape or wipe any excess adhesive off with a putty knife or towel. To remove adhesive from a painted surface or the windshield, wipe with a soft shop towel dampened with isopropyl alcohol.
  26. Let the adhesive dry for at least 1 hour, then spray water over the windshield and check for leaks. Mark leaking areas, and let the windshield dry, then seal with sealant:
    • Let the vehicle stand for at least 4 hours after windshield installation. If the vehicle has to be used within the first 4 hours, it must be driven slowly.
    • Keep the windshield dry for the first hour after installation.
  27. Reinstall all remaining removed parts. Install the rearview mirror after the adhesive has dried thoroughly.
    NOTE: Advise the customer not to do the following things for 2 to 3 days:
    • Slam the doors with all the windows rolled up.
    • Twist the body excessively (such as when going in and out of driveways at an angle or driving over rough, uneven roads).