lemon-mirror:
Home >> Honda >> 2007 >> Ridgeline RT >> Repair and Diagnosis >> Transmission >> Automatic Trans >> Automatic Transmission >> System Description >> Electronic Control System >> Clutch Pressure Control

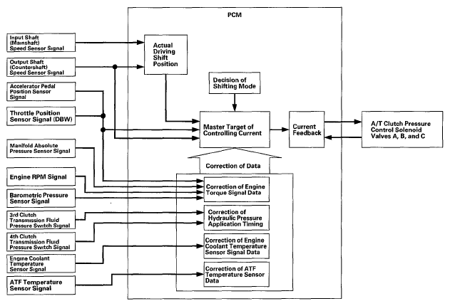
Clutch Pressure Control

The PCM actuates A/T clutch pressure control solenoid valves A, B, and C to control the clutch pressure. When shifting between lower and higher gears, the clutch pressure regulated by A/T clutch pressure control solenoid valves A, B, and C engages and disengages the clutch smoothly.

The PCM receives input signals from the various sensors and switches, processes the data, and outputs current to A/T clutch pressure control solenoid valves A, B, and C.

Fig 1: Clutch Pressure Control System Diagram
G05592241Courtesy of AMERICAN HONDA MOTOR CO., INC.