lemon-mirror:
Home >> Honda >> 2007 >> Ridgeline RT >> Repair and Diagnosis >> Transmission >> Automatic Trans >> Automatic Transmission >> Transfer Assembly Removal

Transfer Assembly Removal

  1. Raise the vehicle on a lift, and make sure it is supported securely (see LIFT AND SUPPORT POINTS ).
  2. Shift the transmission into the N position.
  3. Remove the drain plug (A), and drain the automatic transmission fluid (ATF).
    Fig 1: Drain Plug With Torque Specifications
    G05592421Courtesy of AMERICAN HONDA MOTOR CO., INC.
  4. Reinstall the drain plug with a new sealing washer (B).
  5. Remove the front subframe stiffener.
    Fig 2: Identifying Front Subframe Stiffener
    G05592422Courtesy of AMERICAN HONDA MOTOR CO., INC.
  6. Remove exhaust pipe A and its mount (B).
    Fig 3: Identifying Exhaust Pipe, Mounts And Fasteners
    G05592423Courtesy of AMERICAN HONDA MOTOR CO., INC.
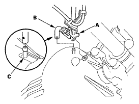
  7. Remove the bolt securing the transfer breather hose bracket (A), and disconnect the breather hose (B) from the breather pipe (C) on the transfer assembly.
    Fig 4: Identifying Breather Hose, Breather Pipe On Transfer Assembly
    G05592424Courtesy of AMERICAN HONDA MOTOR CO., INC.
  8. Make a reference mark (A) across the propeller shaft (B) and the transfer companion flange (C).
    Fig 5: Identifying Reference Mark Across Propeller Shaft And Transfer Companion Flange And Fasteners
    G05592425Courtesy of AMERICAN HONDA MOTOR CO., INC.
  9. Separate the propeller shaft from the transfer companion flange.
  10. Remove the transfer assembly from the transmission.
    Fig 6: Identifying Transfer Assembly And Bolts
    G05592426Courtesy of AMERICAN HONDA MOTOR CO., INC.