lemon-mirror:
Home >> Honda >> 2007 >> Ridgeline RT >> Repair and Diagnosis >> Transmission >> Automatic Trans >> Automatic Transmission >> Transfer Assembly >> Inspection

Transfer Assembly: Inspection

NOTE: To prevent damage to the transfer housing, always use soft jaws or equivalent materials between the transfer housing and a vise.

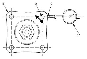
Transfer Gear Backlash Measurement 

  1. Set a dial indicator (A) on the transfer companion flange (B); position the dial indicator tip (C) on the direct extension of the bolt hole canter (D).
    Fig 1: Measuring Transfer Gear Backlash
    G05592867Courtesy of AMERICAN HONDA MOTOR CO., INC.
  2. Measure the transfer gear backlash.

    Standard: 0.06-0.17 mm (0.002-0.007 in.) 

    Total Starting Torque Measurement 

  3. Rotate the transfer companion flange several times to seat the tapered roller bearings.
  4. Measure the staring torque at the companion flange (A) using a torque wrench (B) and a socket (C).

    Standard: 3.20-4.16 N.m (32.6-42.4 kgf.cm, 28.3-36.8 lbf.in.) 

    Fig 2: Measuring Staring Torque At Companion Flange
    G05592868Courtesy of AMERICAN HONDA MOTOR CO., INC.
  5. If the measurements are out of standard, disassemble the transfer assembly and repair it.