lemon-mirror:
Home >> Honda >> 2008 >> Element SC, Automatic >> Repair and Diagnosis >> Transmission >> Automatic Trans >> Automatic Transmission >> System Description >> Electronic Control System >> Lock-up Control

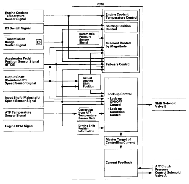
Lock-up Control

Shift solenoid valve E controls the hydraulic pressure to switch the lock-up shift valve and lock-up ON and OFF. When the PCM actuates shift solenoid valve E and A/T clutch pressure control solenoid valve A to initiate look-up. A/T clutch pressure control solenoid valve A regulates and applies hydraulic pressure to the lock-up control valve to control the amount of the lock-up. The lock-up mechanism operates in D (2nd, 3rd, 4th, and 5th gears), and in D3 (2nd and 3rd gears).

Fig 1: Lock-up Control System Diagram
G06266738Courtesy of AMERICAN HONDA MOTOR CO., INC.