lemon-mirror:
Home >> Honda >> 2009 >> Element SC, Automatic >> Repair and Diagnosis >> Electrical >> Body Electrical >> OEM Fuse/Relay Boxes >> Fuse/Relay Boxes >> Under-dash Fuse/Relay Box >> Connector-to-Fuse/Relay Box Index

Connector-to-Fuse/Relay Box Index

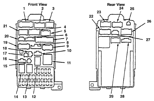
Fig 1: Under-Dash Fuse/Relay Box (6-2)
G07758240
Ref Socket Cavities Connects to
1 C 14 Dashboard Wire Harness B (See DASHBOARD WIRE HARNESS B )
2 A 5 Dashboard Wire Harness B (See DASHBOARD WIRE HARNESS B )
3 B 6 Dashboard Wire Harness B (See DASHBOARD WIRE HARNESS B )
4 D 12 ECM/PCM Wire Harness (See ECM/PCM WIRE HARNESS )
5 E 13 ECM/PCM Wire Harness (See ECM/PCM WIRE HARNESS )
6 Q 8 ECM/PCM Wire Harness (See ECM/PCM WIRE HARNESS )
7 P 18 ECM/PCM Wire Harness (See ECM/PCM WIRE HARNESS )
8 H 3 ECM/PCM Wire Harness (See ECM/PCM WIRE HARNESS )
9 G 10 ECM/PCM Wire Harness (See ECM/PCM WIRE HARNESS )
10 R(A/T) 6 ECM/PCM Wire Harness (See ECM/PCM WIRE HARNESS )
11 Turn Signal/Hazard Relay 3
12 Power Window Relay 4
13 Taillight Relay 4
14 Starter Cut Relay 4
15 U 1 Option Connector
16 V 4 Option Connector
17 W (MES Connector) 2 ECM/PCM Wire Harness (See ECM/PCM WIRE HARNESS )
18 T 3 Multiplex Control Unit Service Check Connector
19 F 12 Dashboard Wire Harness A (Left Branch) (See DASHBOARD WIRE HARNESS A (LEFT BRANCH) )
20 I 5
21 J 8 Dashboard Wire Harness B (See DASHBOARD WIRE HARNESS B )
22 M 12 Dashboard Wire Harness A (Left Branch) (See DASHBOARD WIRE HARNESS A (LEFT BRANCH) )
23 K 17 Dashboard Wire Harness A (Left Branch) (See DASHBOARD WIRE HARNESS A (LEFT BRANCH) )
24 L 10 Dashboard Wire Harness A (Left Branch) (See DASHBOARD WIRE HARNESS A (LEFT BRANCH) )
25 S 2 Dashboard Wire Harness B (See DASHBOARD WIRE HARNESS B )
26 O 12 Dashboard Wire Harness A (Left Branch) (See DASHBOARD WIRE HARNESS A (LEFT BRANCH) )
27 N 6 Dashboard Wire Harness A (Left Branch) (See DASHBOARD WIRE HARNESS A (LEFT BRANCH) )
28 X 8 Dashboard Wire Harness B (Plugs Directly, into the Multiplex Control Unit) (See DASHBOARD WIRE HARNESS B )
29 Y 13 Dashboard Wire Harness A (Left Branch) (Plugs Directly into the Multiplex Control Unit) (See DASHBOARD WIRE HARNESS A (LEFT BRANCH) )