lemon-mirror:
Home >> Honda >> 2009 >> Element SC, Automatic >> Repair and Diagnosis >> External Pages >> Different car >> Section 147 (Climate Control) >> Humidity/In-Car Temperature Sensor Replacement

Humidity/In-Car Temperature Sensor Replacement

WARNING: This page does not describe the selected car, but rather 7 other vehicles, including the 2017 Honda Odyssey, 2016 Honda Odyssey, 2015 Honda Odyssey, 2014 Honda Odyssey, and 2013 Honda Odyssey. However, it is still accessible from the selected car via links, so may be relevant.
  1. Remove the center lower console (see RADIO POCKET REMOVAL/INSTALLATION ).
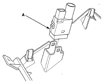
  2. Remove the humidity/in-car temperature sensor (A) from the center lower console.
    Fig 1: Identifying Humidity/In-Car Temperature Sensor
    G06968390Courtesy of AMERICAN HONDA MOTOR CO., INC.
  3. Install the sensor in the reverse order of removal. Be sure to connect the air hose securely.