lemon-mirror:
Home >> Honda >> 2011 >> Insight Base >> Repair and Diagnosis >> Body & Frame >> Windows >> Glass >> Lower Rear Window Replacement

Lower Rear Window Replacement

NOTE:
  • Put on gloves to protect your hands.
  • Wear eye protection while cutting the glass adhesive with piano wire.
  • Use seat covers to avoid damaging the seat.
  • Glass adhesive can be efficiently cut with a commercially available auto glass tool. See the tool manufacturer's instructions for details.
  • Do not damage the lower rear window defogger grid lines and terminals.
  • Use glass adhesive set P/N 08C73-X0230N
  1. Remove these items:
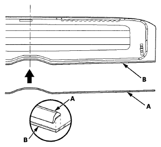
  2. Remove the lower rubber dam (A) from the edge of the lower rear window (B). If necessary, cut the rubber dam with a utility knife.
    Fig 1: Identifying Lower Rubber Dam And Lower Rear Window
    G06430976Courtesy of AMERICAN HONDA MOTOR CO., INC.
  3. Disconnect the lower rear window defogger connectors (A).
    Fig 2: Identifying Lower Rear Window Defogger Connectors
    G06430977Courtesy of AMERICAN HONDA MOTOR CO., INC.
  4. Apply protective tape along the inside and outside edges of the hatch. Make holes with an awl through the upper and lower adhesive from inside the vehicle at 300 mm (11.8 in) from both sides of the lower rear window.
  5. Pass the piano wire (A) through the lower side of the adhesive (B)
    1. Push the piano wire through the hole from outside the vehicle.
    2. Push the piano wire between the clip bases (C) and the adhesive in three places.
    3. Push the piano wire out through the hole from inside the vehicle, and wrap each end around a piece of wood.
    Fig 3: Pushing Piano Wire Between Clip Bases
    G06430978Courtesy of AMERICAN HONDA MOTOR CO., INC.
  6. Hold a piece of wood, and with a helper on the other side, pull back the piano wire (A) to carefully cut through the adhesive.
    Fig 4: Pulling Piano Wire
    G06430979Courtesy of AMERICAN HONDA MOTOR CO., INC.
  7. Pass the piano wire (A) through the upper side of the adhesive (B).
    1. Push the piano wire through the hole from outside the vehicle.
    2. Push the piano wire between the fastener (C) and the adhesive (D) in three places.
    3. Push the piano wire out through the hole from inside the vehicle, and wrap each end around a piece of wood.
    Fig 5: Pushing Piano Wire Between Fastener And Adhesive
    G06430980Courtesy of AMERICAN HONDA MOTOR CO., INC.
  8. Hold a piece of wood, and with a helper on the other side, pull back the piano wire (A) to carefully cut through the entire window adhesive.
    Fig 6: Pulling Piano Wire
    G06430981Courtesy of AMERICAN HONDA MOTOR CO., INC.
  9. Release the clips that hold the lower rear window (A), then carefully remove the window.
    Fig 7: Identifying Lower Rear Window
    G06430982Courtesy of AMERICAN HONDA MOTOR CO., INC.
  10. Remove the seal from the upper edge of the window.
  11. With a putty knife, scrape the old adhesive smooth to a thickness of about 2 mm (0.08 in) on the bonding surface around the entire window opening flange. Do not scrape down to the painted surface of the body; damaged paint will interfere with proper bonding.
  12. Clean the hatch bonding surface with a sponge dampened in neutral detergent. After cleaning, keep oil, grease, and water from getting on the surface.
  13. If the clips (A) and the fastener (B) are damaged or stress-whitened, replace them with new ones.
    Fig 8: Identifying Clips And Fastener
    G06430983Courtesy of AMERICAN HONDA MOTOR CO., INC.
  14. If the old window is to be reinstalled, use a putty knife to scrape off all of the old adhesive, the clips, and the rubber dams from the window. Clean the inside face and the edge of the window with neutral detergent where new adhesive is to be applied. Make sure the bonding surface is kept free of water, oil, and grease.
  15. Attach the rubber dam (A), the fastener (B), and the clips (C) with adhesive tape to the inside face of the window (D) as shown:
    • Be sure the rubber dam, the fastener, and the clips line up with the alignment marks (E).
    • Be careful not to touch the window where adhesive will be applied.
    Fig 9: Attaching Rubber Dam And Clips
    G06430984Courtesy of AMERICAN HONDA MOTOR CO., INC.
  16. Attach the lower rubber dam (A) with adhesive tape to the upper edge of the window (B). Be careful not to touch the window where adhesive will be applied.
    Fig 10: Attaching Lower Rubber Dam With Adhesive Tape
    G06430985Courtesy of AMERICAN HONDA MOTOR CO., INC.
  17. With a sponge, apply a light coat of glass primer around the edge of to the window (A) as shown, then lightly wipe it off with gauze or cheesecloth:
    • Using the printed dots (B) on the window as a guide, apply glass primer to the bottom (C) of the window.
    • Never touch the primed surfaces with your hands.
    • If you do, the adhesive may not bond to the window properly, causing a leak after the window is installed.
    • Keep water, dust, and abrasive materials away from the primed surface.
    Fig 11: Applying Glass Primer To Bottom Of Window
    G06430986Courtesy of AMERICAN HONDA MOTOR CO., INC.
  18. With a sponge, apply a light coat of body primer to the original adhesive remaining around the window opening flange. Let the body primer dry for at least 10 minutes. Never touch the primed surfaces with your hands.
    Fig 12: Applying Light Coat Of Body Primer To Window Opening Flange
    G06430987Courtesy of AMERICAN HONDA MOTOR CO., INC.
  19. Cut a "V" in the end of the adhesive cartridge nozzle (A) as shown.
    Fig 13: Identifying "V" In End Of Adhesive Cartridge Nozzle
    G06430988Courtesy of AMERICAN HONDA MOTOR CO., INC.
  20. Pack adhesive into the cartridge without air pockets to ensure continuous delivery. Put the cartridge in a caulking gun, and run a bead of adhesive (A) to the lower rear window (B) along the edge of the rubber dams (C) as shown:
    • Using the printed dots (D) on the window as a guide, apply the adhesive to both side portions of the window.
    • Apply the adhesive within 30 minutes after applying the glass primer. Make a slightly thicker bead at each corner.
    Fig 14: Identifying Lower Rear Window And Rubber Dams
    G06430989Courtesy of AMERICAN HONDA MOTOR CO., INC.
  21. Use suction cups to hold the window over the opening, align the clip, and set it down on the adhesive. Lightly push on the window until its clips snap into place securely and its edges are fully seated on the adhesive all the way around.
    NOTE: Do not open or close any of the doors for about an hour until the adhesive is dry.
  22. Scrape or wipe the excess adhesive off with a putty knife or towel. To remove the adhesive from a painted surface or the window, wipe with a soft shop towel dampened with isopropyl alcohol.
  23. After the adhesive has dried, spray water over the lower rear window and check for leaks. Mark the leaking areas, let the window dry, then seal with sealant. Let the vehicle stand for at least 4 hours after the window installation. If the vehicle has to be used within the first 4 hours, it must be driven slowly.
  24. Reinstall all remaining removed parts.
    NOTE: Advise the customer not to do the following things for 2 to 3 days:
    • Slam the doors with all the windows rolled up.
    • Twist the body excessively (such as when going in and out of driveways at an angle or driving over rough, uneven roads).