lemon-mirror:
Home >> Honda >> 2011 >> Insight Base >> Repair and Diagnosis >> Electrical >> Body Electrical >> Accessory Power Socket >> Circuit Diagram

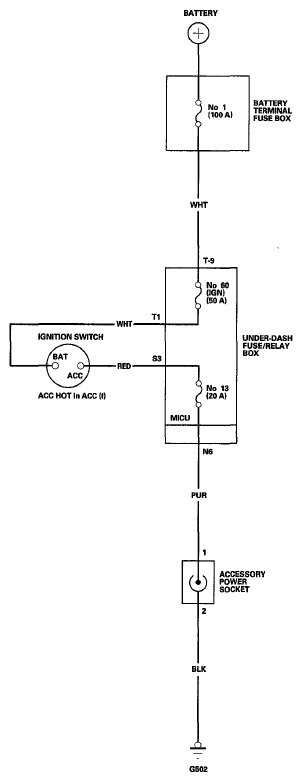
Circuit Diagram

Fig 1: Accessory Power Socket - Circuit Diagram
G06431737Courtesy of AMERICAN HONDA MOTOR CO., INC.