lemon-mirror:
Home >> Honda >> 2011 >> Insight Base >> Repair and Diagnosis >> Electrical >> Body Electrical >> Fuse/Relay Boxes >> Connector to Fuse/Relay Box Index

Connector to Fuse/Relay Box Index

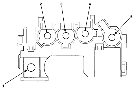
Battery Terminal Fuse Box 

Fig 1: Identifying Battery Terminal Fuse Box
G06431469Courtesy of AMERICAN HONDA MOTOR CO., INC.
BATTERY TERMINAL FUSE BOX SPECIFICATIONS

Socket Ref Terminal Connects to
T-1. 1 - Battery terminal, Starter
T-2 2 - DC-DC converter cable (included in the IMA motor power cable)
T-3 3 - Left engine compartment wire harness
T-4 4 - Left engine compartment wire harness
T-5 5 - Left engine compartment wire harness

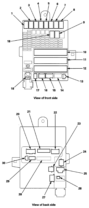
Under-Dash Fuse/Relay Box 

Fig 2: Identifying Under-Dash Fuse/Relay Box
G06431470Courtesy of AMERICAN HONDA MOTOR CO., INC.
UNDER-DASH FUSE/RELAY BOX SPECIFICATIONS

Socket Ref Terminals Connects to
A 10 36 Right engine compartment wire harness
A/F sensor relay 3 4  
B 11 36 Left engine compartment wire harness
Blower motor relay 2 4  
C 12 49 Driver's side wire harness
Driver's door unlock relay 19 5  
E 17 12 Driver's door wire harness
Electronic throttle control system (ETCS) control relay 7 4  
F 16 6 Driver's door wire harness
G 15 8 Roof wire harness
H (optional connector) 14 8 Not used
Ignition coil relay 5 4  
J (MICU service check connector) 13 3  
K 20 10 Dashboard wire harness
Lighting relay 4 4  
M 21 34 Dashboard wire harness
N 22 8 Dashboard wire harness
P (SRS) 30 4 Dashboard wire harness
PGM-FI main relay 1 (Fl MAIN) 6 4  
Power window relay (P/W) 1 4  
Q 29 16 Dashboard wire harness
R 28 - Not used
Rear window defogger relay 8 4  
S 24 3 Dashboard wire harness
Starter cut relay (ST CUT) 9 4  
T 25 2 Dashboard wire harness
W 23 1 Dashboard wire harness
X 27 3 Dashboard wire harness
Y (Electrical load detector) 26 3 Dashboard wire harness
T-9 18 - Left engine compartment wire harness

Auxiliary Under-Hood Fuse/Relay Box 

Fig 3: Identifying Auxiliary Under-Hood Fuse/Relay Box
G06431471Courtesy of AMERICAN HONDA MOTOR CO., INC.
AUXILIARY UNDER-HOOD FUSE/RELAY BOX SPECIFICATIONS

Socket Ref Terminals Connects to
Fan control relay 1 5 Left engine compartment wire harness
PGM-FI main relay 2 2 4 Left engine compartment wire harness

Auxiliary Under-Hood Relay Box 

Fig 4: Identifying Auxiliary Under-Hood Relay Box
G06431472Courtesy of AMERICAN HONDA MOTOR CO., INC.
AUXILIARY UNDER-HOOD RELAY BOX SPECIFICATIONS

Socket Ref Terminals Connects to
A/C condenser fan relay 3 4 Left engine compartment wire harness
Radiator fan relay 4 4 Left engine compartment wire harness
A/C compressor clutch relay 5 4 Left engine compartment wire harness
A/C diode A 6 2 Left engine compartment wire harness
A/C diode B 7 2 Left engine compartment wire harness

Under-Dash Relay Holder 

Fig 5: Identifying Under-Dash Relay Holder
G00500480Courtesy of AMERICAN HONDA MOTOR CO., INC.
UNDER-DASH RELAY HOLDER SPECIFICATIONS

Socket Ref Terminal Connect to
Hatch release actuator relay 1 5 Dashboard wire harness

IPU Relay Holder 

Fig 6: Identifying IPU Relay Holder
G00500481Courtesy of AMERICAN HONDA MOTOR CO., INC.
IPU RELAY HOLDER SPECIFICATIONS

Socket Ref Terminal Connects to
Motor control module (MCM) relay 1 1 4 IPU wire harness
Motor control module (MCM) relay 2 2 4 IPU wire harness