lemon-mirror:
Home >> Honda >> 2011 >> Insight Base >> Repair and Diagnosis >> Electrical >> Horns >> Circuit Diagram

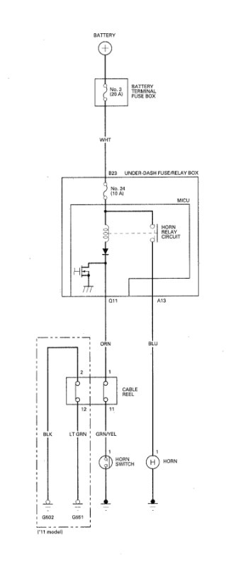
Circuit Diagram

Fig 1: Horns Circuit Diagram
G00501832Courtesy of AMERICAN HONDA MOTOR CO., INC.