lemon-mirror:
Home >> Honda >> 2011 >> Insight Base >> Repair and Diagnosis >> Engine Mechanical >> Mechanical >> Engine Block >> Piston Ring Replacement

Piston Ring Replacement

  1. Remove the piston from the engine block (see CRANKSHAFT AND PISTON REMOVAL  ).
  2. Using a ring expander (A), remove the old piston rings (B).
    Fig 1: Removing Old Piston Rings
    G06429002Courtesy of AMERICAN HONDA MOTOR CO., INC.
  3. Clean all the ring grooves thoroughly with a squared-off broken ring, or a ring groove cleaner with a blade to fit the piston grooves. File down the blade, if necessary. The top and second ring grooves are 1.0 mm (0.04 in) wide, and the oil ring groove is 2.0 mm (0.08 in) wide. Do not use a wire brush to clean the ring grooves, or cut the ring grooves deeper with the cleaning tool.
    NOTE: If the piston is to be separated from the connecting rod, do not install new rings yet.
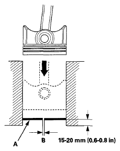
  4. Using a piston, push a new ring (A) into the cylinder bore 15-20 mm (0.6-0.8 in) from the bottom.
    Fig 2: Measuring Piston Ring End-Gap
    G06429003Courtesy of AMERICAN HONDA MOTOR CO., INC.
  5. Measure the piston ring end-gap (B) with a feeler gauge:
    • If the gap is too small, check to see if you have the proper rings for your engine.
    • If the gap is too large, recheck the cylinder bore diameter against the wear limits (see BLOCK AND PISTON INSPECTION  ).

      If the bore is over the service limit, the engine block must be rebored.

    Piston Ring End-Gap 

    Top Ring: 

    Standard (New): 0.15-0.30 mm (0.006-0.012 in) 

    Service Limit: 0.60 mm (0.024 in) 

    Second Ring: 

    Standard (New): 0.30-0.42 mm (0.012-0.017 in) 

    Service Limit: 0.65 mm (0.026 in) 

    Oil Ring: 

    Standard (New): 0.20-0.70 mm (0.008-0.028 in) 

    Service Limit: 0.80 mm (0.031 in) 

  6. Install the rings as shown. The top ring (A) has a R mark, and the second ring (B) has a 2R mark. The manufacturing marks (C) must face upward.
    Fig 3: Identifying Position Ring Installation Position
    G06429004Courtesy of AMERICAN HONDA MOTOR CO., INC.
  7. Rotate the rings in their grooves to make sure they do not bind.
  8. Position the ring end gaps as shown:
    Fig 4: Positioning Ring End Gaps
    G06429005Courtesy of AMERICAN HONDA MOTOR CO., INC.
  9. After installing a new set of rings, measure the ring-to-groove clearances:

    Top Ring Clearance 

    Standard (New): 0.065-0.090 mm (0.0026-0.0035 in) 

    Service Limit: 0.15 mm (0.006 in) 

    Second Ring Clearance 

    Standard (New): 0.030-0.055 mm (0.0012-0.0022 in) 

    Service Limit: 0.12 mm (0.005 in) 

    Fig 5: Measuring Ring-To-Groove Clearances
    G06429006Courtesy of AMERICAN HONDA MOTOR CO., INC.