lemon-mirror:
Home >> Honda >> 2011 >> Insight Base >> Repair and Diagnosis >> Engine Performance >> System >> Fuel Supply System >> Fuel Pulsation Damper Replacement

Fuel Pulsation Damper Replacement

  1. Relieve the fuel pressure (see FUEL PRESSURE RELIEVING  ).
  2. Remove the engine cover (see step 2 IGNITION COIL REPLACEMENT ).
  3. Remove the intake manifold (see INTAKE MANIFOLD REMOVAL AND INSTALLATION ).
  4. Remove the fuel rail mounting nuts from the fuel rail.
  5. Disconnect the fuel injector connectors.
  6. Remove the fuel rail.
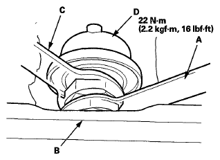
  7. Place a wrench (A) on the fuel rail (B).
    Fig 1: Removing Fuel Rail And Fuel Pulsation Damper With Torque Specification
    G06429554Courtesy of AMERICAN HONDA MOTOR CO., INC.
  8. Place second wrench (C) on the fuel pulsation damper (D).
  9. Remove the pulsation damper by holding the first wrench while turning the second wrench.
  10. Install the fuel pulsation damper in the reverse order of removal with new washers.
    NOTE:
    • Replace all washers whenever the fuel pulsation damper is loosened or removed.
    • If the drain hole (A) of the fuel pulsation damper cover does not face bottom, reinstall it as shown.
    Fig 2: Identifying Drain Hole
    G06429555Courtesy of AMERICAN HONDA MOTOR CO., INC.