lemon-mirror:
Home >> Honda >> 2011 >> Insight Base >> Repair and Diagnosis >> General Information >> Reset Procedures >> Maintenance >> Lubricants and Fluids

Lubricants and Fluids

For details of the lubrication points and the type of lubricants to be applied, refer to the illustrated index and the various work procedures (such as Assembly/Reassembly, Replacement, Overhaul, Installation, etc.) contained in each section.

LUBRICANT AND FLUID SPECIFICATION

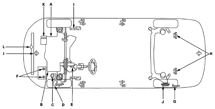
Application Lubricant or Fluid
A Engine Honda Motor Oil:
American Honda P/N 08798-9022 (0W-20)
Honda Canada P/N 08798-8023C (0W-20)
Look for the API certification seal on the oil container. Make sure it says "For Gasoline Engines."
SAE viscosity: See chart.
B CVT Honda CVTF: P/N 08200-9006
Always use Honda CVTF. Using a non-Honda CVTF can affect shift quality.
C Brake system (including ABS/VSA lines) Honda DOT 3 Brake Fluid: P/N 08798-9008
Always use Honda DOT 3 Brake Fluid. Using a non-Honda brake fluid can cause corrosion and decrease the life of the system.
D Caliper piston boots and caliper piston seals, caliper pins and caliper pin boots Honda Silicone Grease: P/N 08C30-B0234M
E

F

G

H

I

Brake booster clevis pin

Battery terminals

Fuel fill door

Hatch hinges

Hood hinges and hood latch

Multipurpose Grease
J Rear brake shoe linkage Molykote 44MA
K Air conditioning compressor Compressor Oil: SP-10 (P/N38897-P13-A01AH) for refrigerant HFC-134a(R-134a)
L Cooling system Honda Long Life Antifreeze/Coolant Type 2: P/N OL999-9001
Fig 1: Identifying API Certification Seal
G06428715Courtesy of AMERICAN HONDA MOTOR CO., INC.
NOTE:
  • Lubricate the following areas using the recommended lubricants and fluids.
  • In corrosive areas, more frequent lubrication is necessary.
Fig 2: Identifying Lubrication Area Location
G06428716Courtesy of AMERICAN HONDA MOTOR CO., INC.