lemon-mirror:
Home >> Honda >> 2011 >> Insight Base >> Repair and Diagnosis >> Transmission >> Automatic Trans >> Continuously Variable Transmission (CVT) >> Transmission Installation

Transmission Installation

Special Tools Required 

*Available through the Honda Tool and Equipment Program 888-424-6857

NOTE: Use fender covers to avoid damaging painted surfaces.

IMA components are located in this area. The IMA is a high-voltage system. You must be familiar with the IMA system before working on or around it. Make sure you have read the IMA service precaution before doing repairs or service (see SERVICE PRECAUTIONS ).

  1. Clean the CVTF cooler (see CVTF Cooler Cleaning ).
  2. Remove the used grease in the flywheel hub cap and the flywheel splines.
  3. Fill the inside of the flywheel hub cap (A) with about 1.0 to 2.0 g (0.04 to 0.07 oz.) of Super High Temp Urea Grease (P/N 08798-9002), and coat the flywheel hub splines (B). Do not overfill the flywheel hub cap with grease.
    Fig 1: Identifying Grease Applying Area
    G06430169Courtesy of AMERICAN HONDA MOTOR CO., INC.
  4. Install a new rubber sealing ring (A) on the input shaft (B).
    Fig 2: Identifying Rubber Sealing Ring And Input Shaft
    G06430170Courtesy of AMERICAN HONDA MOTOR CO., INC.
  5. Install the flywheel (C) on the input shaft, and install the 14 mm dowel pins (D) in the flywheel housing.
  6. Place the transmission on a jack, and raise the transmission to the engine level, then fit the transmission to the motor housing/engine.
  7. Install the rear and lower transmission housing mounting bolts.
    Fig 3: Rear And Lower Transmission Housing Mounting Bolts With Torque Specifications
    G06430171Courtesy of AMERICAN HONDA MOTOR CO., INC.
  8. Install the lower torque rod bracket with new bolts.
    Fig 4: Lower Torque Rod Bracket Bolts With Torque Specifications
    G06430172Courtesy of AMERICAN HONDA MOTOR CO., INC.
  9. Install a new set ring (A) on the left and right driveshafts (B).
    Fig 5: Identifying Set Ring And Driveshaft
    G06430173Courtesy of AMERICAN HONDA MOTOR CO., INC.
  10. Clean the areas where the left and right driveshafts contacts the transmission (differential) with solvent, and dry with compressed air. Then install the left and right driveshafts; be sure not to allow dust or other foreign particles to enter the transmission. Turn the steering knuckle fully outward, and slide the driveshafts into the differential until you feel their set rings fully engage the side gear.
  11. Install a driveshaft cover (A).
    Fig 6: Driveshaft Cover With Torque Specifications
    G06430174Courtesy of AMERICAN HONDA MOTOR CO., INC.
  12. Lift the front subframe (A) up to body, and secure it with the new mounting bolts loose.
    Fig 7: Front Subframe, Right Middle And Left Middle Mounting Bolt With Torque Specifications
    G06430175Courtesy of AMERICAN HONDA MOTOR CO., INC.
  13. Tighten the right middle mounting bolt (B) first, then the left middle bolt (C), and the four remaining bolts (D) to the specified torque.
  14. Place a jack under the transmission, raise it and attach the lower torque rod (A) to the mounting bracket and the front subframe.
    Fig 8: Bolts With Torque Specifications And Setting Guide Plate Into Stop
    G06430176Courtesy of AMERICAN HONDA MOTOR CO., INC.
  15. Install the new mounting bolt (B), and set the guide plate (C) into the stop (D) through the guide (E), then loosely install the new nut (F).
  16. Loosely install the new mounting bolt (G).
  17. Remove the jack, and tighten the bolt and the nut to the specified torque.
  18. Connect the EPS motor connector and the torque sensor connector (see step 13 STEERING GEARBOX REMOVAL AND INSTALLATION ).
  19. Connect the CVTF cooler hoses (A) to the radiator, and secure the hoses with the clips (B).
    Fig 9: Identifying CVTF Cooler Hoses And Clips
    G06430177Courtesy of AMERICAN HONDA MOTOR CO., INC.
  20. Connect the tie-rod end ball joint to the knuckles (see step 9 KNUCKLE/HUB/WHEEL BEARING REPLACEMENT ).
  21. Connect the ball joints (A) to both knuckles (B), and install the new ball joint nuts (C). Lightly tighten the nut (C).
    Fig 10: Tightening Nut With Torque Specifications
    G06430178Courtesy of AMERICAN HONDA MOTOR CO., INC.
  22. Connect the stabilizer links (D) to the stabilizer ends (E), and install the nuts (F). Insert a 5 mm Allen wrench (G) in the top of the ball joint pins (H), and tighten the nuts. Raise the suspension to load it with the vehicle weight before fully tightening nut (C) to the specified torque values, then secure the nuts with the lock pin (I).
  23. Install the upper and front transmission housing mounting bolts.
    Fig 11: Upper And Front Transmission Housing Mounting Bolts With Torque Specifications
    G06430179Courtesy of AMERICAN HONDA MOTOR CO., INC.
  24. Install the transmission mount bracket (A) on the body and transmission housing with new mounting bolts and new nuts loosely.
    Fig 12: Transmission Housing With Mounting Bolts With Torque Specifications
    G06430180Courtesy of AMERICAN HONDA MOTOR CO., INC.
  25. Tighten the transmission mount bolts to the specified torque in the following order; on the middle (B), on the front (C), and on the rear (D).
  26. Remove the jack, and tighten the bolt (E) and the nuts (F) on the transmission mount bracket to the specified torque.
  27. Install the transmission ground cable terminal bracket (G).
  28. Tighten the bolt and nut of the torque rod to the specified torque.
  29. Remove the engine support hanger, A and Reds, and install the harness clamp in its bracket location in front of the left damper top.
  30. Remove the bolt (A), the nut (B), and the universal lifting eyelet (07AAK-SNAA120) (C) from the air cleaner bracket (D).
    Fig 13: Identifying Air Cleaner Bracket And Purge Hose
    G06430181Courtesy of AMERICAN HONDA MOTOR CO., INC.
  31. Install the purge hose (E).
  32. Install the steering joint to the steering gearbox pinion shaft (see step 25 STEERING GEARBOX REMOVAL AND INSTALLATION ).
  33. Install the steering joint cover (see step 27 STEERING GEARBOX REMOVAL AND INSTALLATION ).
  34. Remove the steering wheel holder tool.
  35. Attach the flywheel to the drive plate with six bolts. Rotate the crankshaft pulley to tighten the bolts to 1/2 of the specified torque, then to the final torque, in a crisscross pattern. After tightening the last bolt, check that the crankshaft rotates freely.
    Fig 14: Drive Plate Bolt With Torque Specifications
    G06430182Courtesy of AMERICAN HONDA MOTOR CO., INC.
  36. Connect the transmission range switch connector (A).
    Fig 15: Identifying Transmission Range Switch And Vehicle Speed Sensor Connector
    G06430183Courtesy of AMERICAN HONDA MOTOR CO., INC.
  37. Connect the CVT output shaft (driven pulley) speed sensor connector (B) and the vehicle speed sensor connector (C).
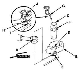
  38. Apply molybdenum grease to the hole in the shift cable end collar (A). Attach the shift cable end to the selector control lever (B). Insert the control pin (C) through the selector control lever hole (D), through the shift cable end hole, and into the selector control lever slotted hole (E) in the direction shown. Push the control pin until its flange (F) contacts the selector control lever surface.
    Fig 16: Applying Grease To Hole In Shift Cable End Collar
    G06430184Courtesy of AMERICAN HONDA MOTOR CO., INC.
  39. Insert the snap pin (G) in the direction shown through the control pin hole and out the opening (H) of the selector control lever so that the hooked end (I) of the snap pin snaps into the countersunk hole (J) of the control pin.
  40. Secure the shift cable holder (A) on the transmission with the bolts.
    Fig 17: Shift Cable Holder With Torque Specifications And Harness Clamp Bracket
    G06430185Courtesy of AMERICAN HONDA MOTOR CO., INC.
  41. Install the harness clamp bracket (B).
  42. Connect the CVT input shaft (drive pulley) speed sensor connector (A) and the solenoid wire harness connector (B).
    Fig 18: Identifying CVT Input Shaft Speed Sensor Connector And Solenoid Wire Harness Connector
    G06430186Courtesy of AMERICAN HONDA MOTOR CO., INC.
  43. Install the starter (A).
    Fig 19: Starter, Starter Cables, Harness Clamp And Bracket With Torque Specifications
    G06430187Courtesy of AMERICAN HONDA MOTOR CO., INC.
  44. Connect the starter cables (B), and install the harness clamp (C) on its bracket (D).
  45. Secure the heater hose bracket (E) on the starter with the bolt.
  46. Install the harness holder (A) to its bracket (B).
    Fig 20: Identifying Harness Holder And Bracket
    G06430188Courtesy of AMERICAN HONDA MOTOR CO., INC.
  47. Refill the transmission with CVTF (see step  6 ).
  48. Install the PCM bracket and PCM, then connect PCM connectors.
  49. Connect the IMA motor power cable connector and harness clamp.
  50. Install the under-hood fuse/relay box bracket.
  51. Install the air cleaner (see AIR CLEANER REMOVAL/INSTALLATION ).
  52. Install the under-cowl panel and the cowl cover (see COWL COVER REPLACEMENT ).
  53. Install the windshield wiper arms (see WIPER ARM REPLACEMENT ).
  54. Install the battery base and the battery tray.
  55. Do the 12 volt battery installation procedure (see 12 VOLT BATTERY REMOVAL AND INSTALLATION ).
  56. Set the parking brake. Start the engine, and shift the transmission through all positions three times.
  57. Check the shift lever operation, the A/T gear position indicator operation, and the shift cable adjustment.
  58. Check and adjust the front wheel alignment (see WHEEL ALIGNMENT ).
  59. Install the splash shield (A) (see SPLASH SHIELD REPLACEMENT ).
    Fig 21: Identifying Splash Shield
    G06430189Courtesy of AMERICAN HONDA MOTOR CO., INC.
  60. Start the engine with the shift lever in P or N, and warm it up to normal operating temperature (the radiator fan comes on twice). Turn the engine off, and check the CVT fluid level (see CVT FLUID LEVEL CHECK  ).
  61. After the transmission is disassembled or replaced, reset the PCM/TCM with the HDS (see CLEAR A/T DTCS PROCEDURE  ), then do the PCM idle learn procedure (see PCM IDLE LEARN PROCEDURE ).
  62. Do the start clutch pressure control calibration procedures (see START CLUTCH PRESSURE CONTROL CALIBRATION PROCEDURES  ).
  63. If the IMA battery level indicator displays no level, start the engine with the shift lever in P or N, and hold it between 3,500 and 4,000 rpm without load until the level in the indicator is half full.
  64. Road-test the vehicle (see ROAD TEST  ).