lemon-mirror:
Home >> Honda >> 2011 >> Odyssey EX >> Repair and Diagnosis >> Electrical >> Starter >> Starting System >> Starter Overhaul >> Exploded View

Exploded View

Fig 1: Exploded View Of Starter Overhaul With Torque Specifications
G06966222Courtesy of AMERICAN HONDA MOTOR CO., INC.
NOTE: Refer to the EXPLODED VIEW  if needed during this procedure.

Brush Holder Removal 

  1. Remove the starter (see STARTER REMOVAL AND INSTALLATION  ).
  2. Disconnect the motor wire from the M terminal (see step  4 ), and remove the end cover.
  3. Pry back each brush spring with a screwdriver, then position the brush on the brush holder about halfway out of its holder. Release the spring to hold it in place.
    Fig 2: Prying Brush Spring Using Screwdriver
    G06966223Courtesy of AMERICAN HONDA MOTOR CO., INC.
  4. Remove the brush holder assembly (A).

    Armature Inspection and Test 

  5. Inspect the armature for wear or damage from contact with the permanent magnet. If there is wear or damage, replace the armature.
    Fig 3: Identifying Armature
    G06966224Courtesy of AMERICAN HONDA MOTOR CO., INC.
  6. Check the commutator (A) surface. If the surface is dirty or burnt, resurface it with an emery cloth or a lathe to the specifications in step 7, or recondition with #500 or #600 sandpaper (B).
    Fig 4: Checking Commutator Surface
    G06966225Courtesy of AMERICAN HONDA MOTOR CO., INC.
  7. Check the commutator diameter with a digital caliper or dial type caliper. If the diameter is below the service limit, replace the armature.

    Commutator Diameter 

    Standard (New): 28.9-29.0 mm (1.138-1.142 in) 

    Service Limit: 28.0 mm (1.102 in) 

    Fig 5: Checking Commutator Diameter Using Digital Caliper
    G06966226Courtesy of AMERICAN HONDA MOTOR CO., INC.
  8. Measure the commutator (A) runout:
    • If the commutator runout is within the service limit, check the commutator for carbon dust or brass chips between the segments.
    • If the commutator runout is not within the service limit, replace the armature.

    Commutator Runout 

    Standard (New): 0.02 mm (0.0008 in) max. 

    Service Limit: 0.05 mm (0.0020 in) 

    Fig 6: Measuring Commutator
    G06966227Courtesy of AMERICAN HONDA MOTOR CO., INC.
  9. Use a digital caliper or dial type caliper to check the mica depth (A). If the mica depth is below the service limit, replace the armature.

    Commutator Mica Depth 

    Standard (New): 0.50-0.90 mm (0.0197-0.0354 in) 

    Service Limit: 0.20 mm (0.0079 in) 

    Fig 7: Identifying Mica Depth
    G06966228Courtesy of AMERICAN HONDA MOTOR CO., INC.
  10. Use an ohmmeter to check for continuity between the segments of the commutator. If there is an open circuit between any segments, replace the armature.
    Fig 8: Checking For Continuity Between Segments Of Commutator Using Ohmmeter
    G06966229Courtesy of AMERICAN HONDA MOTOR CO., INC.
  11. Place the armature (A) on an armature tester (B). Hold a hacksaw blade (C) on the armature core. If the blade is attracted to the core while the core is turned, the armature is shorted. Replace the armature.
    Fig 9: Checking Armature Core Using Hacksaw Blade
    G06966230Courtesy of AMERICAN HONDA MOTOR CO., INC.
  12. Use an ohmmeter to check for continuity between the commutator (A) and the armature coil core (B), and between the commutator and the armature shaft (C). If there is continuity, replace the armature.
    Fig 10: Checking Continuity Between Commutator And Armature Coil Core Use Ohmmeter
    G06966231Courtesy of AMERICAN HONDA MOTOR CO., INC.

    Overrunning Clutch Inspection 

  13. Slide the overrunning clutch (A) along the shaft. Replace it if it does not slide smoothly.
    Fig 11: Sliding Overrunning Clutch Along Shaft
    G06966232Courtesy of AMERICAN HONDA MOTOR CO., INC.
  14. Hold the overrunning clutch (A), and turn the drive gear (B) in the direction shown to make sure it turns freely. Also make sure the drive gear locks in the opposite direction. If it does not lock, replace the overrunning clutch assembly.
    Fig 12: Turning Drive Gear
    G06966233Courtesy of AMERICAN HONDA MOTOR CO., INC.
  15. If the starter drive gear is worn or damaged, replace the overrunning clutch assembly; the gear is not available separately.

    Check the condition of the idler gear and the torque converter ring gear. Replace it if the starter drive gear teeth are damaged.

    Starter Brush Inspection 

  16. Measure the brush length. If it is shorter than the service limit, replace the brush holder assembly.

    Brush Length 

    Standard (New): 15.0-16.0 mm (0.591-0.630 in) 

    Service Limit: 9.0 mm (0.354 in) 

    Fig 13: Measuring Brush Length
    G06966234Courtesy of AMERICAN HONDA MOTOR CO., INC.

    Starter Brush Holder Test 

  17. Check for continuity between the (+) brush holders (A) and the (-) brush holders (B). If there is continuity, replace the brush holder assembly.
    Fig 14: Identifying Brush Holders
    G06966235Courtesy of AMERICAN HONDA MOTOR CO., INC.

    Brush Spring Inspection 

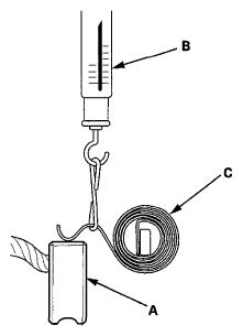
  18. Insert the brush (A) into the brush holder, and bring the brush into contact with the commutator, then attach a spring scale (B) to the spring (C). Measure the spring tension at the moment the spring lifts off the brush. If it is not within the standard, replace the brush holder assembly.

    Spring Tension 

    Standard (New): 22.26-27.26 N (2.270-2.780 kgf, 5.004-6.129 lbf) 

    Fig 15: Measuring Spring Tension Using Spring Scale
    G06966236Courtesy of AMERICAN HONDA MOTOR CO., INC.

    Planetary Gear Inspection 

    Fig 16: Identifying Planetary Gears, Armature Shaft Gear And Internal Ring Gear
    G06966237Courtesy of AMERICAN HONDA MOTOR CO., INC.
  19. Check the planetary gears (A), the armature shaft gear (B), and the internal ring gear (C). Replace them if they are worn or damaged.

    Starter Reassembly 

  20. Install the armature housing (A) and the armature (B) by aligning the slotted point (C) to the projection (D).
    Fig 17: Installing Armature Housing And Armature By Aligning Slotted Point To Projection
    G06966238Courtesy of AMERICAN HONDA MOTOR CO., INC.
  21. Pry back each brush spring with a screwdriver, then position the brush on the brush holder about halfway out of its holder. Release the spring to hold it in place.
    NOTE: To seat the new brushes, slip a strip of # 500 or #600 sandpaper, with the grit side up, between the commutator and the each brush, and smoothly turn the armature. The contact surface of the brushes will be sanded to the same contour as the commutator.
    Fig 18: Prying Back Brush Spring Using Screwdriver
    G06966239Courtesy of AMERICAN HONDA MOTOR CO., INC.
  22. Install the brush holder assembly. Next, pry back each brush spring again, and push each brush down until it seats against the commutator, then release the spring against the end of the brush.
    Fig 19: Identifying Brush Holder Assembly
    G06966240Courtesy of AMERICAN HONDA MOTOR CO., INC.
  23. Install the end cover to retain the brush holder.
    Fig 20: End Cover And Brush Holder With Torque Specifications
    G06966241Courtesy of AMERICAN HONDA MOTOR CO., INC.