lemon-mirror:
Home >> Honda >> 2012 >> Fit Base, Automatic Trans >> Repair and Diagnosis >> Brakes >> Traction Control >> Abs (Anti-Lock Brake System) >> System Description >> ABS Features >> Main Control

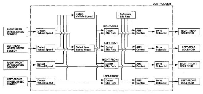
Main Control

The control unit detects the wheel speed based on the wheel speed sensor signals it receives, then it calculates the vehicle speed based on the detected wheel speed. The control unit detects the vehicle speed during deceleration based on the wheel speeds.

The control unit calculates the slip rate of each wheel, and transmits the control signal to the modulator unit solenoid valve when the slip rate is high.

The hydraulic control has three modes: Pressure intensifying, pressure reducing, and pressure retaining.

Fig 1: Identifying Main Control Communication Diagram
G05959239Courtesy of AMERICAN HONDA MOTOR CO., INC.