lemon-mirror:
Home >> Honda >> 2012 >> Fit Base, Automatic Trans >> Repair and Diagnosis >> Electrical >> Body Electrical >> Accessory Power Sockets >> Accessory Power Socket Test/Replacement

Accessory Power Socket Test/Replacement

NOTE: If the accessory power socket does not work, check the No. 13 (20 A) fuse in the under-dash fuse/relay box and ground (G502) first.
  1. Remove the center lower trim (see DASHBOARD CENTER LOWER COVER REMOVAL/INSTALLATION ).
  2. Disconnect the 2P connector (A) and the AUX connector (B) (if equipped).
    Fig 1: Identifying Center Lower Trim & 2P Connector
    G05960149Courtesy of AMERICAN HONDA MOTOR CO., INC.
  3. Inspect the connector terminals to be sure they are all making good contact.
    • If the terminals are bent, loose, or corroded, repair them as necessary and recheck the system.
    • If the terminals look OK, go to step  4.
  4. Turn the ignition switch to ACC (I).
  5. Measure the voltage between the accessory power socket 2P connector terminal No. 1 and body ground. There should be battery voltage.
    • If there is battery voltage, go to step  6.
    • If there is no battery voltage, check for an open in the wire.
  6. Check for continuity between the accessory power socket 2P connector terminal No. 2 and body ground. There should be continuity.
    • If there is continuity, go to step  7.
    • If there is no continuity, check for open in the wire or ground (G502).
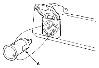
  7. Remove the socket (A).
    Fig 2: Identifying Socket
    G05960150Courtesy of AMERICAN HONDA MOTOR CO., INC.
  8. Remove the housing (A) from the panel.
    Fig 3: Identifying Housing
    G05960151Courtesy of AMERICAN HONDA MOTOR CO., INC.
  9. Install the power socket in the reverse order of removal.