lemon-mirror:
Home >> Honda >> 2012 >> Fit Base, Automatic Trans >> Repair and Diagnosis >> Transmission >> Automatic Trans >> Automatic Transmission >> Transmission Installation

Transmission Installation

Special Tools Required 

*: Reds engine support hanger AAR-T1256 is available through the Honda Tool and Equipment Program 888-424-6857.

SRS components are located in this area. Review SRS component (see COMPONENT LOCATION INDEX ) locations and the PRECAUTIONS AND PROCEDURES before doing repairs or services.

NOTE: Use fender covers to avoid damaging painted surfaces.
  1. Clean the ATF cooler (see ATF COOLER CLEANING ).
  2. Check that the crankshaft end bushing is secured in the crankshaft. If it is not secured or installed, install the end bushing securely in the crankshaft. (See CRANKSHAFT INSTALLATION step 2).
  3. Install the torque converter (A) on the mainshaft (B) with a new O-ring (C).
    Fig 1: Installing Torque Converter On Mainshaft With New O-Ring
    G06768494Courtesy of AMERICAN HONDA MOTOR CO., INC.
  4. Install the 14 mm dowel pins (D) in the torque converter housing.
  5. Place the transmission on the jack, and raise the transmission to the engine level.
  6. Attach the transmission to the engine, and install the lower transmission housing mounting bolts.
    Fig 2: Installing Lower Transmission Housing Mounting Bolts With Torque Specifications
    G06768495Courtesy of AMERICAN HONDA MOTOR CO., INC.
  7. Install the rear transmission housing mounting bolt.
    Fig 3: Installing Rear Transmission Housing Mounting Bolt With Torque Specifications
    G06768496Courtesy of AMERICAN HONDA MOTOR CO., INC.
  8. Install the front and upper transmission housing mounting bolts.
    Fig 4: Installing Front And Upper Transmission Housing Mounting Bolts With Torque Specifications
    G06768497Courtesy of AMERICAN HONDA MOTOR CO., INC.
  9. Raise the transmission with the jack, and secure the transmission mount and mount bracket (A) on the body and transmission housing with the new mounting bolts and new nuts loose.
    Fig 5: Transmission Mount And Mount Bracket Bolts With Torque Specifications
    G06768498Courtesy of AMERICAN HONDA MOTOR CO., INC.
  10. Tighten the transmission mount bolts to the specified torque in the following order; on the middle (B), on the front (C), and on the rear (D).
  11. Remove the jack, and tighten the bolt (E) and nuts (F) on the transmission mount bracket to the specified torque.
  12. Install the transmission ground cable terminal (G).
  13. Install the new set ring (A) on the intermediate shaft (B).
    Fig 6: Installing New Set Ring On Intermediate Shaft With Torque Specifications
    G06768499Courtesy of AMERICAN HONDA MOTOR CO., INC.
  14. Clean the areas where the intermediate shaft contacts the transmission (differential) with solvent, and dry with compressed air. Apply ATF to the intermediate shaft splines, put the heat shield (C) on the intermediate shaft, then install the intermediate shaft carefully to prevent damaging the oil seal; be sure not to allow dust or other foreign particles to enter the transmission.
  15. Secure the heat shield with the mounting bolts.
  16. Install the new set ring (A) on the left driveshaft (B).
    Fig 7: Installing New Set Ring On Left Driveshaft
    G06768500Courtesy of AMERICAN HONDA MOTOR CO., INC.
  17. Clean the areas where the left driveshaft contacts the transmission (differential) with solvent, and dry with compressed air. Then install the left driveshaft carefully to prevent damaging oil seal; be sure not to allow dust or other foreign particles to enter the transmission. Turn the steering knuckle fully outward, and slide the driveshaft into the differential until you feel its set ring fully engage the side gear.
  18. Coat the right driveshaft inboard-joint splines with the recommended grease (see DRIVESHAFT INSTALLATION ).
  19. Slide the right driveshaft over the intermediate shaft splines until you feel the driveshaft fully engage the intermediate shaft set ring.
  20. Attach the torque converter to the drive plate with eight bolts (A). Rotate the crankshaft pulley as necessary to tighten the bolts to 1/2 of the specified torque, then to the final torque, in a crisscross pattern. After tightening the last bolt, check that the crankshaft rotates freely.
    Fig 8: Attaching Torque Converter To Drive Plate With Bolts With Torque Specifications
    G06768501Courtesy of AMERICAN HONDA MOTOR CO., INC.
  21. Install the torque converter cover (B).
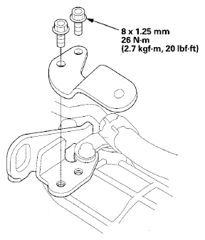
  22. Install the shift cable holder bracket (A) and the lower torque rod mounting bracket (B) on the transmission.
    Fig 9: Installing Shift Cable Holder Bracket And Lower Torque Rod Mounting Bracket On Transmission With Torque Specifications
    G06768502Courtesy of AMERICAN HONDA MOTOR CO., INC.
  23. Install the control lever (A) over the control shaft (B). Do not twist the boot (C).

    With Type A Lock Washer 

    Fig 10: Installing Control Lever Over Control Shaft With Type Lock Washer With Torque Specifications
    G06768503Courtesy of AMERICAN HONDA MOTOR CO., INC.

    With Type B Lock Washer 

    Fig 11: Installing Control Lever Over Control Shaft With Type Lock B Washer With Torque Specifications
    G06768504Courtesy of AMERICAN HONDA MOTOR CO., INC.
  24. Secure the shift cable bracket (D) with the bolts.
  25. Secure the control lever with a new lock washer (E) and the lock bolt (F):
    • With type A lock washer: Install the flange (G) of the lock washer facing the transmission housing as shown, then bend the lock tab (H) of the lock washer against the bolt head securely.
    • With type B lock washer: Install the flange (I) of the lock washer facing the control lever as shown, then bend the lock tab (J) of the lock washer against the bolt head securely. Do not ride the lock washer on the stop (K) on the control lever.
  26. Support the front subframe with a jack.
    Fig 12: Supporting Front Subframe With Jack
    G06768505Courtesy of AMERICAN HONDA MOTOR CO., INC.
  27. Lift the front subframe (A) up to body, and secure it loosely with new mounting bolts.
    Fig 13: Front Subframe Mounting Bolts With Torque Specifications
    G06768506Courtesy of AMERICAN HONDA MOTOR CO., INC.
  28. Tighten the right middle mounting bolt (B) first, then the left middle bolt (C), and the four remaining bolts (D) to the specified torque.
  29. Place a jack under the transmission, raise it and attach the lower torque rod (A) in the mounting bracket and front subframe.
    Fig 14: Attaching Lower Torque Rod With Torque Specifications
    G06768507Courtesy of AMERICAN HONDA MOTOR CO., INC.
  30. Install the mounting bolt (B), and set the bolt tongue (C) into the stop (D) through the guide (E), then loosely install the nut (F).
  31. Loosely install the mounting bolt (G).
  32. Remove the jack, and tighten the bolt and nut to the specified torque.
  33. Install the shift cable cover (A). If the shift cable cover protector (B) was removed, install the shift cable cover protector on the shift cable cover, then install the shift cable cover.
    Fig 15: Installing Shift Cable Cover With Torque Specifications
    G06768508Courtesy of AMERICAN HONDA MOTOR CO., INC.
  34. Install the secondary HO2S wire clamp (A) on the steering gearbox.
    Fig 16: Installing Secondary HO2S Wire Clamp On Steering Gearbox With Torque Specifications
    G06768509Courtesy of AMERICAN HONDA MOTOR CO., INC.
  35. Connect the ball joints (A) to both knuckles (B), and install new ball joint nuts (C). Tighten the nuts, then secure the nuts with the spring clips (D).
    Fig 17: Connecting Ball Joints To Both Knuckles With Torque Specifications
    G06768510Courtesy of AMERICAN HONDA MOTOR CO., INC.
  36. Connect the stabilizer links (E) to the stabilizer ends (F), and install the nuts (G). Insert a 5 mm Allen wrench (H) in the top of the ball joint pins (I), and tighten the nuts.
  37. Install the tie-rod end ball joint (J) to the each knuckle with the nuts (K), and secure the nuts with new cotter pins(L).
  38. Remove the engine support hanger, and install the harness clamp in its bracket located in front of the left damper top.
  39. Remove the universal lifting eyelet (07AAK-SNAA120) and the 1.8 support bolt (07AAK-SNAA500).
    Fig 18: Removing Universal Lifting Eyelet (07Aak-Snaa120) And 1.8 Support Bolt (07Aak-Snaa500)
    G06768511Courtesy of AMERICAN HONDA MOTOR CO., INC.
  40. Connect the EPS motor angle sensor 8P connector (A), torque sensor 6P connector (B) to the steering gearbox.
    Fig 19: Connecting EPS Motor Angle Sensor 8P Connector, Torque Sensor 6P Connector To Steering Gearbox
    G06768512Courtesy of AMERICAN HONDA MOTOR CO., INC.
  41. Connect the EPS 3P connector (C), and push down its lever (D) to connect securely.
  42. Install the air cleaner housing mounting bracket on the transmission hanger.
    Fig 20: Installing Air Cleaner Housing Mounting Bracket On Transmission Hanger
    G06768513Courtesy of AMERICAN HONDA MOTOR CO., INC.
  43. Secure the harness clamp bracket (A) with the bolt.
    Fig 21: Securing Harness Clamp Bracket With Bolt
    G06768514Courtesy of AMERICAN HONDA MOTOR CO., INC.
  44. Connect the shift solenoid harness connector (B) and the transmission fluid pressure switch B (3rd clutch) connector (C), and install the harness clamps (D) in the clamp brackets (E).
  45. Connect the ATF cooler hoses (A) to the ATF cooler lines (B), and secure the hoses with the clips (C) (see ATF COOLER HOSE REPLACEMENT ).
    Fig 22: Installing Harness Clampss In Clamp Brackets
    G06768515Courtesy of AMERICAN HONDA MOTOR CO., INC.
  46. Connect the input shaft (mainshaft) speed sensor connector (A) and the transmission fluid pressure switch A (2nd clutch) connector (B).
    Fig 23: Connecting Input Shaft (Mainshaft) Speed Sensor Connector And Transmission Fluid Pressure Switch (2Nd Clutch) Connector
    G06768516Courtesy of AMERICAN HONDA MOTOR CO., INC.
  47. Connect the output shaft (countershaft) speed sensor connector (A), and install the harness clamp (B) on its bracket (C).
    Fig 24: Connecting Output Shaft (Countershaft) Speed Sensor Connector
    G06768517Courtesy of AMERICAN HONDA MOTOR CO., INC.
  48. Connect the transmission range switch connector (D).
  49. Install the harness cover (A) on its bracket (B), and secure the cover with the bolt.
    Fig 25: Installing Harness Cover On Bracket
    G06768518Courtesy of AMERICAN HONDA MOTOR CO., INC.
  50. Connect the A/T clutch pressure control solenoid valve A connector (C), the A/T clutch pressure control solenoid valve C connector (D), and the A/T clutch pressure control solenoid valve B connector (E).
  51. Install the air cleaner assembly (see AIR CLEANER REMOVAL/INSTALLATION ).
  52. Install the center-front cowl cover (A) and the cowl cover stiffener (B).
    Fig 26: Installing Center-Front Cowl Cover And Cowl Cover Stiffener With Torque Specifications
    G06768519Courtesy of AMERICAN HONDA MOTOR CO., INC.
  53. Install the windshield wiper motor (C).
  54. Install the cowl cover (see REMOVAL ).
  55. Install the wiper arms (see WIPER ARM REPLACEMENT ).
  56. Refill the transmission with ATF (see (see step  6 ).
  57. Install the battery base.
  58. Connect the steering joint to the steering gearbox pinion shaft (A) by aligning the reference mark (B), and remove the wire (C) from the joint yoke (D). (see STEERING COLUMN REMOVAL AND INSTALLATION )
    Fig 27: Connecting Steering Joint To Steering Gearbox Pinion Shaft With Torque Specifications
    G06768520Courtesy of AMERICAN HONDA MOTOR CO., INC.
  59. Install the steering joint cover (E).
  60. Install the steering wheel, (see STEERING WHEEL INSTALLATION )
  61. Install the splash shield.
  62. Install the wheels.
  63. Set the parking brake. Start the engine, and shift the transmission through all positions three times. Check the shift lever operation, the A/T gear position indicator operation, and the shift cable adjustment.
  64. Check and adjust the front wheel alignment (see WHEEL ALIGNMENT ).
  65. Check the ATF level (see ATF LEVEL CHECK ).
  66. Do the road test (see ROAD TEST ).