lemon-mirror:
Home >> Honda >> 2012 >> Fit Base, Automatic Trans >> Repair and Diagnosis >> Transmission >> Automatic Trans >> Automatic Transmission >> Transmission Removal

Transmission Removal

Special Tools Required 

*: Reds engine support hanger AAR-T1256 is available through the Honda Tool and Equipment Program 888-424-6857.

SRS components are located in this area. Review SRS component (see COMPONENT LOCATION INDEX ) locations and the PRECAUTIONS AND PROCEDURES before doing repairs or services.

NOTE:
  • Use fender covers to avoid damaging painted surfaces.
  • Special tool Reds engine support hanger AAR-T1256 must be used with the side engine mount installed.
  1. Remove the steering wheel. (see STEERING WHEEL REMOVAL ).
  2. Remove the steering joint cover (A).
    Fig 1: Removing Steering Joint Cover
    G06768464Courtesy of AMERICAN HONDA MOTOR CO., INC.
  3. Make a reference mark (B) across the steering joint and the steering gearbox pinion shaft. Remove the steering joint bolt (C), and disconnect the steering joint (D) by removing the steering joint toward the steering column. Hold the slider shaft (E) on the column with a piece of wire (F) between the joint yoke (G) on the slider shaft to the joint yoke on the upper shaft, (see step 7 in REMOVAL )
  4. Remove the battery base.
  5. Remove the cowl cover (see REMOVAL ).
  6. Fix the hood in a vertical position.
  7. Remove the windshield wiper motor (A).
    Fig 2: Removing Windshield Wiper Motor
    G06768465Courtesy of AMERICAN HONDA MOTOR CO., INC.
  8. Remove the cowl cover stiffener (B) and center-front cowl cover (C).
  9. Remove the air cleaner assembly (see AIR CLEANER REMOVAL/INSTALLATION ).
  10. Raise the vehicle on a lift, and make sure it is securely supported.
  11. Remove the wheels.
  12. Remove the splash shield.
    Fig 3: Removing Cowl Cover Stiffener And Center-Front Cowl Cover
    G06768466Courtesy of AMERICAN HONDA MOTOR CO., INC.
  13. Remove the drain plug (A), and drain the automatic transmission fluid (ATF).
    Fig 4: Removing Drain Plug With Torque Specifications
    G06768467Courtesy of AMERICAN HONDA MOTOR CO., INC.
  14. Reinstall the drain plug with a new sealing washer (B).
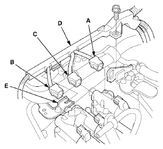
  15. Disconnect the A/T clutch pressure control solenoid valve A connector (A), the A/T clutch pressure control solenoid valve B connector (B), and the A/T clutch pressure control solenoid valve C connector (C).
    Fig 5: Identifying A/T Clutch Pressure Control Solenoid Valve A Connector, A/T Clutch Pressure Control Solenoid Valve B Connector
    G06768468Courtesy of AMERICAN HONDA MOTOR CO., INC.
  16. Remove the bolt securing the harness cover (D), and remove the harness cover from its bracket (E).
  17. Disconnect the transmission range switch connector (A).
    Fig 6: Disconnecting Transmission Range Switch Connector
    G06768469Courtesy of AMERICAN HONDA MOTOR CO., INC.
  18. Disconnect the output shaft (countershaft) speed sensor connector (B), and remove the harness clamp (C) from its bracket (D).
  19. Disconnect the input shaft (mainshaft) speed sensor connector (A) and the transmission fluid pressure switch A (2nd clutch) connector (B).
    Fig 7: Disconnecting Input Shaft (Mainshaft) Speed Sensor Connector And Transmission Fluid Pressure Switch A (2Nd Clutch) Connector
    G06768470Courtesy of AMERICAN HONDA MOTOR CO., INC.
  20. Remove the ATF cooler hoses (A) from the ATF cooler lines (B). Turn the ends of the cooler hoses up to prevent ATF from flowing out, then plug the cooler hoses and lines.
    Fig 8: Removing ATF Cooler Hoses From Atf Cooler Lines
    G06768471Courtesy of AMERICAN HONDA MOTOR CO., INC.
  21. Check for any signs of leakage at the hose joints.
  22. Remove the bolt securing the harness clamp bracket (A).
    Fig 9: Removing Bolt Securing Harness Clamp Bracket
    G06768472Courtesy of AMERICAN HONDA MOTOR CO., INC.
  23. Disconnect the shift solenoid harness connector (B) and the transmission fluid pressure switch B (3rd clutch) connector (C), and remove the harness clamps (D) from the clamp brackets (E).
  24. Remove the air cleaner housing mounting bracket from the transmission hanger.
    Fig 10: Removing Air Cleaner Housing Mounting Bracket From Transmission Hanger
    G06768473Courtesy of AMERICAN HONDA MOTOR CO., INC.
  25. Disconnect the EPS motor angle sensor 8P connector (A) and torque sensor 6P connector (B) from the steering gearbox.
    Fig 11: Disconnecting EPS Motor Angle Sensor 8P Connector And Torque Sensor 6P Connector
    G06768474Courtesy of AMERICAN HONDA MOTOR CO., INC.
  26. Disconnect the EPS motor 3P connector (C) by pushing the lock (D) and pulling up the lever (E).
  27. Install the universal lifting eyelet (07AAK-SNAA120) to the bolt hole (A) at the air cleaner housing mounting bracket with the 1.8 support bolt (07AAK-SNAA500).
    Fig 12: Installing Universal Lifting Eyelet (07Aak-Snaa120) To Bolt Hole
    G06768475Courtesy of AMERICAN HONDA MOTOR CO., INC.
  28. Remove the harness clamp (A) from its clamp bracket (B) located in front of the left damper top.
    Fig 13: Removing Harness Clamp From Clamp Bracket
    G06768476Courtesy of AMERICAN HONDA MOTOR CO., INC.
  29. Set up the engine support hanger (AAR-T1256). Carefully position the engine support hanger to the vehicle; position both cross-arm foot bases (C) over the harness clamp brackets on both sides, and position both front stands on the front bulkhead. Attach the hook to the universal eyelet, tighten the wing nut by hand, and lift and support the engine.
  30. Insert a 5 mm Allen wrench (A) in the top of the ball joint pin (B), and remove the nuts (C), then separate the stabilizer link (D) from the stabilizer ends (E).
    Fig 14: Inserting Allen Wrench In Top Of Ball Joint Pin
    G06768477Courtesy of AMERICAN HONDA MOTOR CO., INC.
  31. Remove the spring clips (F) and castle nuts (G), and separate the lower arms (H) from the knuckles (I) (see LOWER ARM REMOVAL/INSTALLATION ).
  32. Remove the cotter pins (J) and the nuts (K), and separate the tie-rod end ball joint (L) from the knuckles, (see KNUCKLE/HUB/WHEEL BEARING REPLACEMENT )
  33. Remove the 6.0 mm bolt (A) securing the secondary HO2S wire clamp (B) on the steering gearbox. Do not disconnect secondary HO2S 4P connector and secondary HO2S.
    Fig 15: Removing Bolt Securing Secondary HO2S Wire Clamp On Steering Gearbox
    G06768478Courtesy of AMERICAN HONDA MOTOR CO., INC.
  34. Remove the shift cable cover.
    Fig 16: Removing Shift Cable Cover
    G06768479Courtesy of AMERICAN HONDA MOTOR CO., INC.
  35. Place a jack under the transmission, raise it just enough to take it off of the lower torque rod, and remove the lower torque rod bolt (A) on the transmission.
    Fig 17: Removing Lower Torque Rod Bolt On Transmission
    G06768480Courtesy of AMERICAN HONDA MOTOR CO., INC.
  36. Remove the lower torque rod nut (B) and bolt (C) on the front subframe, and remove the lower torque rod (D).
  37. Remove the jack.
  38. Support the front subframe with a jack.
    Fig 18: Supporting Front Subframe With Jack
    G06768481Courtesy of AMERICAN HONDA MOTOR CO., INC.
  39. Remove the six bolts securing the front subframe.
    Fig 19: Identifying Six Bolts Securing Front Subframe
    G06768482Courtesy of AMERICAN HONDA MOTOR CO., INC.
  40. Lower the front subframe and steering gearbox as an assembly by lowering the jack slowly.
  41. Pry up the lock tab of the lock washer (A or B), and remove the lock bolt (C) and the lock washer.
    NOTE: Either lock washer of two types is applied.
    Fig 20: Prying Up Lock Tab Of Lock Washer
    G06768483Courtesy of AMERICAN HONDA MOTOR CO., INC.
  42. Remove the bolts securing the shift cable holder (D), and separate the shift cable (E) from the selector control shaft end. Do not bend the shift cable excessively.
  43. Remove the lower torque rod mounting bracket (A) and the shift cable holder bracket (B).
    Fig 21: Removing Lower Torque Rod Mounting Bracket And Shift Cable Holder Bracket
    G06768484Courtesy of AMERICAN HONDA MOTOR CO., INC.
  44. Remove the torque converter cover (A), and remove the drive plate bolts (B) (eight bolts) while rotating the crankshaft pulley.
    Fig 22: Removing Drive Plate Bolts
    G06768485Courtesy of AMERICAN HONDA MOTOR CO., INC.
  45. Pry out the driveshafts from the differential and the intermediate shaft.
    Fig 23: Prying Out Driveshafts From Differential And Intermediate Shaft
    G06768486Courtesy of AMERICAN HONDA MOTOR CO., INC.
  46. Coat all precision machined surfaces with clean engine oil, then put plastic bags over driveshaft ends.
  47. Remove the bolts securing the heat shield (A).
    Fig 24: Removing Bolts Securing Heat Shield
    G06768487Courtesy of AMERICAN HONDA MOTOR CO., INC.
  48. Remove the intermediate shaft (B) and the heat shield.
  49. Coat all precision finished surfaces with clean engine oil, then put plastic bags over intermediate shaft ends.
  50. Remove the front and upper transmission housing mounting bolts.
    Fig 25: Removing Front And Upper Transmission Housing Mounting Bolts
    G06768488Courtesy of AMERICAN HONDA MOTOR CO., INC.
  51. Remove the transmission ground cable terminal (A) from the transmission mount bracket (B).
    Fig 26: Removing Transmission Ground Cable Terminal From Transmission Mount Bracket
    G06768489Courtesy of AMERICAN HONDA MOTOR CO., INC.
  52. Place a jack under the transmission, raise it just enough to take it off of the mount, and remove the transmission mount and mount bracket.
  53. Remove the jack.
  54. Remove the rear transmission housing mounting bolts.
    Fig 27: Removing Rear Transmission Housing Mounting Bolts
    G06768490Courtesy of AMERICAN HONDA MOTOR CO., INC.
  55. Lower the transmission by loosening the wing nut on the engine support hanger, and tilt the engine just enough for the end of the transmission to clear the side frame.
  56. Place a jack under the transmission.
  57. Remove the lower transmission housing mounting bolts.
    Fig 28: Removing Lower Transmission Housing Mounting Bolts
    G06768491Courtesy of AMERICAN HONDA MOTOR CO., INC.
  58. Slide the transmission away from the engine to remove it from the vehicle.
  59. Remove the torque converter and the dowel pins.
    Fig 29: Removing Torque Converter And Dowel Pins
    G06768492Courtesy of AMERICAN HONDA MOTOR CO., INC.
  60. Inspect the drive plate, and replace it if it's damaged (see DRIVE PLATE REMOVAL AND INSTALLATION ).