lemon-mirror:
Home >> Honda >> 2012 >> Insight Base >> Repair and Diagnosis >> Accessories & Equipment >> Infotainment >> Navigation System >> Audio-Navigation Unit Removal/Installation

Audio-Navigation Unit Removal/Installation

SRS components are located in this area. Review the SRS component location (see COMPONENT LOCATION INDEX ), and the precautions and procedures (see PRECAUTIONS AND PROCEDURES ) in the SRS article before doing repairs or service.

NOTE:
  • Put on gloves to protect your hands.
  • Take care not to scratch the dashboard and related parts.
  • Lay a workshop towel under the parts when working on them to protect the face panel from scratches or other damage.
  • Do not work in a dusty or dirty place.
  • Discharge static electricity from your body before and during the work.
  • Do not touch the circuit board(s) with your bare hands.
  • Do not work with dirty hands.
  • Do not touch the terminal connector of the flat plate cable with your bare hands. (If you have touched it, wipe it off thoroughly.)
  • If you are replacing the audio-navigation unit, write down the audio presets (if possible), then enter them into the new audio-navigation unit.
  • Eject the disc before removing the audio-navigation unit to prevent damaging the CD/DVD player's load mechanism.
  1. Make sure you have the 4-digit anti-theft code for the navigation system.
  2. Open the center pocket, and remove the center pocket cover (A).
    Fig 1: Identifying Center Pocket Cover
    G08095180Courtesy of AMERICAN HONDA MOTOR CO., INC.
  3. Remove the center lower trim (see DRIVER'S DASHBOARD UNDERCOVER REMOVAL/INSTALLATION )
  4. Remove the bolt (A).
    Fig 2: Center Lower Trim Bolt With Torque Specifications
    G08095181Courtesy of AMERICAN HONDA MOTOR CO., INC.
  5. Lower the glove box (see GLOVE BOX STRIKER REPLACEMENT ).
  6. Push out the audio-navigation unit (A) from behind the unit, taking care not to damage the connector (B).
    NOTE: Use your hand, do not use tools to push out the audio-navigation unit.
    Fig 3: Identifying Audio-Navigation Unit And Connector
    G08095182Courtesy of AMERICAN HONDA MOTOR CO., INC.
  7. Lift the panel taking care not to damage the dashboard. Insert the appropriate tool into the gap between the dashboard and the panel, then release the clips in order from the gap side.
    Fig 4: Identifying Panel And Clips
    G08095183Courtesy of AMERICAN HONDA MOTOR CO., INC.
  8. Pull out the center panel (A).
    Fig 5: Identifying Center Panel And Connectors
    G08095184Courtesy of AMERICAN HONDA MOTOR CO., INC.
  9. Disconnect the connectors (B), then remove the center panel.
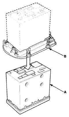
  10. Remove the mounting bolts (A), and screws, from the audio-navigation unit (B), then remove the bracket (C).
    Fig 6: Mounting Bolts, Screws, Audio-Navigation Unit And Bracket With Torque Specifications
    G08095185Courtesy of AMERICAN HONDA MOTOR CO., INC.
  11. Remove the audio-navigation unit (A) from the center panel (B).
    Fig 7: Identifying Audio-Navigation Unit And Center Panel
    G08095186Courtesy of AMERICAN HONDA MOTOR CO., INC.
  12. If you are replacing the audio-navigation unit, remove the SD module from the original audio-navigation unit, and install it in the replacement audio-navigation unit (see SD MODULE REMOVAL/INSTALLATION ).
    NOTE: To avoid damaging the audio-navigation unit or SD module:
    • Do not remove the SD module with any of the audio-navigation unit connectors connected.
    • Do not power up the audio-navigation unit without the SD module installed.
  13. Install the audio-navigation unit in the reverse order of removal, and make sure all connectors are secure.
  14. Check any official Honda service website for more service information about the navigation system.
    NOTE: If you are replacing the audio-navigation unit, remove the SD module (see SD MODULE REMOVAL/INSTALLATION ).
  15. Enter the new navigation anti-theft code.
  16. Park the vehicle outside, and do the GPS initialization (see GPS INITIALIZATION ).
  17. Give the new audio-navigation unit anti-theft code to the customer.