lemon-mirror:
Home >> Honda >> 2012 >> Insight Base >> Repair and Diagnosis >> Accessories & Equipment >> Infotainment >> Navigation System >> System Description >> Navigation Function >> Function Diagram

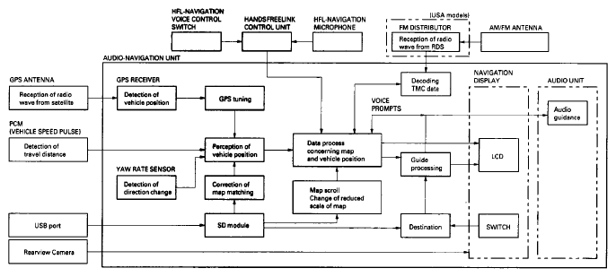
Function Diagram

Fig 1: Navigation System Function Diagram
G08095063Courtesy of AMERICAN HONDA MOTOR CO., INC.