lemon-mirror:
Home >> Honda >> 2012 >> Insight Base >> Repair and Diagnosis >> Body & Frame >> Door Locks >> Keyless/Power Door Locks/Security System >> Transmitter Test >> Without HDS

Without HDS

  1. Start the engine.
  2. Press the transmitter lock or unlock button at least 10 times to reset the transmitter.
    • If the locks work, the transmitter is OK.
    • If the locks do not work, go to step 3.
  3. Open the transmitter, and check for water damage.
    • If you find any water damage, replace the transmitter and register the new transmitter.
    • If there is no water damage, go to step 4.
      Fig 1: Identifying Transmitter
      G08094626Courtesy of AMERICAN HONDA MOTOR CO., INC.
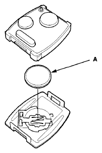
  4. Replace the transmitter battery (A) with a new one, and try to lock and unlock the doors with the transmitter by pressing the lock or unlock button at least 10 times.
    • If the doors lock and unlock, the transmitter is OK.
    • If the doors do not lock and unlock, go to step 5.
      Fig 2: Identifying Transmitter Battery
      G08094627Courtesy of AMERICAN HONDA MOTOR CO., INC.
  5. Reprogram and register the transmitter (see IMMOBILIZER KEY REGISTRATION ), then try to lock and unlock the doors.