lemon-mirror:
Home >> Honda >> 2012 >> Insight Base >> Repair and Diagnosis >> Engine Mechanical >> Mechanical >> Engine Block >> Piston, Pin, and Connecting Rod Replacement >> Disassembly

Piston, Pin, and Connecting Rod Replacement: Disassembly

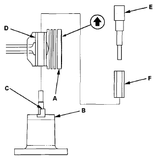
  1. Assemble the special tool as shown.
    Fig 1: Identifying Special Tools
    G08091982Courtesy of AMERICAN HONDA MOTOR CO., INC.
  2. Temporarily install the pilot collar, O. D. 18 mm over the pilot pin (A), and adjust the piston base head insert as shown, then tighten the screws (B). Remove the pilot collar.
    Fig 2: Adjusting Piston Base Head Insert
    G08091983Courtesy of AMERICAN HONDA MOTOR CO., INC.
  3. Assemble and adjust the length of the insert pin and the insert adjust to 57 mm (2.2 in).
    Fig 3: Identifying Length Of Insert Pin
    G08091984Courtesy of AMERICAN HONDA MOTOR CO., INC.
  4. With the arrow on top of the piston pointing up, place the piston assembly (A) on the piston base head (B). Be sure you position the recessed flat area of the piston against the piston base head insert (C) as shown.
    Fig 4: Placing Piston Assembly On Piston Base Head
    G08091985Courtesy of AMERICAN HONDA MOTOR CO., INC.
  5. Press the pin (D) out with the insert pin and the insert adjust (E), the pilot collar (F), and a hydraulic press.