lemon-mirror:
Home >> Honda >> 2012 >> Insight Base >> Repair and Diagnosis >> Engine Mechanical >> Mechanical >> Engine Block >> Piston, Pin, and Connecting Rod Replacement >> Reassembly

Piston, Pin, and Connecting Rod Replacement: Reassembly

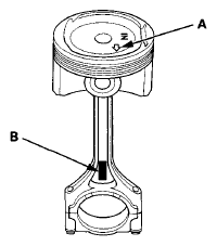
  1. Assemble the piston and the connecting rod with the arrow (A) and the embossed mark (B) on the same side.
    Fig 1: Identifying Connecting Rod With Arrow
    G08091990Courtesy of AMERICAN HONDA MOTOR CO., INC.
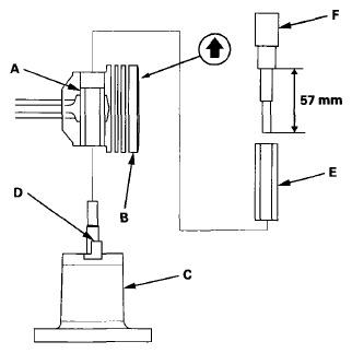
  2. Insert the pilot collar (A) into the piston and the connecting rod.
    Fig 2: Inserting Pilot Collar Into Piston
    G08091991Courtesy of AMERICAN HONDA MOTOR CO., INC.
  3. With the arrow on top of the piston and the embossed mark on the connecting rod facing up, place the piston assembly (B) on the piston base head (C). Be sure you position the recessed flat area of the piston against the area of the piston base head insert (D) as shown.
  4. Press the pin (E) in with the insert pin and the insert adjust (F) and a hydraulic press.