lemon-mirror:
Home >> Honda >> 2012 >> Insight Base >> Repair and Diagnosis >> External Pages >> Different car >> Section 59 (Navigation System) >> System Description >> Navigation Function >> Function Diagram

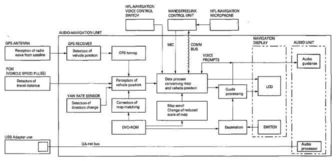
Function Diagram

WARNING: This page is about a different car, the 2011 Honda Insight and 2010 Honda Insight. However, it is still accessible from the selected car via links, so may be relevant.
Fig 1: Navigation Function Diagram
G06431916Courtesy of AMERICAN HONDA MOTOR CO., INC.