lemon-mirror:
Home >> Honda >> 2012 >> Insight Base >> Repair and Diagnosis >> Transmission >> Automatic Trans >> CVT >> CVTF Feed Pipe Replacement

CVTF Feed Pipe Replacement

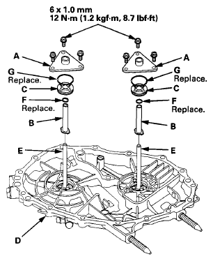
  1. Remove the two feed pipe flange plates (A) (three bolts), then remove the CVTF two feed pipes (B) and two feed pipe flanges (C) from the end cover (D). the guide (D)
    NOTE: Replace the end cover if replacement of the unremovable two CVTF feed pipes (E) is required.
    Fig 1: CVTF Feed Pipes And Bolts With Torque Specifications
    G08093358Courtesy of AMERICAN HONDA MOTOR CO., INC.
  2. Remove the O-rings (F) from the two CVTF feed pipes and the two feed pipe flanges, then replace the two CVTF feed pipes.
  3. Check the two feed pipe flange plates and the two feed pipe flanges for wear or damage, and replace them if necessary.
  4. Install new O-rings over two new CVTF feed pipes and on the two feed pipe flanges.
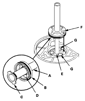
  5. Install the CVTF feed pipe (A) through the feed pipe flange (B) by aligning the CVTF feed pipe tabs (C) with on the feed pipe flange.
    Fig 2: Installing CVTF Feed Pipe Through Feed Pipe Flange
    G08093359Courtesy of AMERICAN HONDA MOTOR CO., INC.
  6. Install the CVTF feed pipe over the unremovable CVTF feed pipe (E), and align the mark (F) on the feed pipe flange between the tabs (G) on the end cover.
  7. Install the feed pipe flange plate.