lemon-mirror:
Home >> Honda >> 2012 >> Insight Base >> Repair and Diagnosis >> Transmission >> Automatic Trans >> CVT >> Manual Valve Body Disassembly/Inspection/Reassembly

Manual Valve Body Disassembly/Inspection/Reassembly

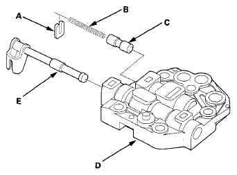
  1. Remove the spring seat (A), the valve spring (B), and the reverse inhibitor valve (C) from the manual valve body (D).
    Fig 1: Identifying Spring Seat, Valve Spring, Reverse Inhibitor Valve And Manual Valve Body
    G08093361Courtesy of AMERICAN HONDA MOTOR CO., INC.

    Reverse Inhibitor Valve Spring Specifications (Standards) 

    Wire diameter: 0.9 mm (0.035 in) 

    Outside diameter: 7.0 mm (0.276 in) 

    Free length: 47.1 mm (1.854 in) 

    Number of coil: 16.9 

  2. Remove the manual valve (E).
  3. Check all parts for wear and damage.
  4. Clean all parts thoroughly in solvent, and dry with compressed air. Blow out all passages.
  5. Coat all parts with CVTF during assembly.
  6. Install the reverse inhibitor valve (A) and the valve spring (B) in the manual valve body (C). Push the valve spring in using a screwdriver (D), then install the spring seat (E).
    Fig 2: Installing Reverse Inhibitor Valve And Valve Spring In Manual Valve Body
    G08093362Courtesy of AMERICAN HONDA MOTOR CO., INC.
  7. Install the manual valve in the manual valve body.