lemon-mirror:
Home >> Honda >> 2012 >> Insight Base >> Repair and Diagnosis >> Transmission >> Automatic Trans >> CVT >> Pressure Test

Pressure Test

Special Tools Required 

NOTE:
  • Do not test pressure for more than 10 seconds at a time.
  • Do not move the shift lever while raising the engine speed.
  • Disable the VSA by pressing the VSA OFF button.
  • VSA DTC(s) may come on during the test-drive. If the VSA DTC(s) come on, clear the DTC(s) with the HDS.
  1. Make sure the transmission fluid is filled to the proper level (see CVT FLUID LEVEL CHECK ).
  2. Raise the vehicle on a lift, or apply the parking brake, block the rear wheels, and raise the front of the vehicle. Make sure it is securely supported, and allow the front wheels to rotate freely.
  3. Remove the splash shield (see SPLASH SHIELD REPLACEMENT ).
  4. Connect the HDS to the DLC (A) located under the driver's side of the dashboard.
    Fig 1: Identifying Data Link Connector (DLC)
    G08093113Courtesy of AMERICAN HONDA MOTOR CO., INC.
  5. Turn the ignition switch to ON (II).
  6. Make sure the HDS communicates with the PCM. If it does not, go to the DLC circuit troubleshooting (see DLC CIRCUIT TROUBLESHOOTING ).
  7. Use the recommended pressure gauge, pressure hose, and pressure hose adapter. Do not allow dust or other foreign particles to enter the holes while connecting the gauges.
    NOTE:
    • Drive pulley pressure and driven pulley pressure may be above 3, 430 kPa (34.98 kgf/cm2 , 497.5 psi) when there is a transmission problem that causes the PCM to go into fail-safe mode.
    • When troubleshooting, you must use the A/T high pressure gauge to measuring drive pulley pressure and driven pulley pressure.

    Forward Clutch Pressure 

  8. Connect the A/T oil pressure gauge set to the forward clutch pressure inspection port (A).
    Fig 2: Identifying Forward Clutch Pressure Inspection Port
    G08093114Courtesy of AMERICAN HONDA MOTOR CO., INC.
  9. Start the engine, and warm up the engine to normal operating temperature (the radiator fan comes on twice).
  10. Shift the shift lever to D, and measure the forward clutch pressure at the forward clutch pressure inspection port while firmly pressing the brake pedal, and holding the engine speed at 1, 700 rpm.
    Pressure Standard
    Forward clutch 1, 570-1, 840 kPa (16.01-18.76 kgf/cm2 , 227.7-266.9 psi)
  11. Turn the engine off, then disconnect the pressure gauges from the pressure inspection ports.
  12. Install the sealing bolts and new sealing washers to the pressure inspection ports, and tighten the bolts to 18 N.m (1.8 kgf.m, 13 lbf.ft). Do not reuse the old sealing washer.
  13. If the pressure is out of standard, the problem and probable causes are listed in the table.
    Problem Probable causes
    No or low forward clutch pressure
    • Forward clutch defective
    • CVTF pump defective
    • PH regulator valve defective
    • CR valve defective
    • Manual valve defective

    Drive Pulley Pressure 

  14. Connect the A/Thigh pressure gauge to the drive pulley pressure inspection port (A).
    Fig 3: Identifying Drive Pulley Pressure Inspection Port
    G08093115Courtesy of AMERICAN HONDA MOTOR CO., INC.
  15. Start the engine, and warm up the engine to normal operating temperature (the radiator fan comes on twice).
  16. Shift the shift lever to N, and measure the drive pulley pressure at the drive pulley pressure inspection port while firmly pressing the brake pedal, and holding the engine speed at 1, 700 rpm.
    Pressure Standard
    Drive Pulley 240-540 kPa (2.45-5.51 kgf/cm2 , 34.8-78.3 psi)
  17. Turn the engine off, then disconnect the pressure gauges from the pressure inspection ports.
  18. Install the sealing bolts and new sealing washers to the pressure inspection ports, and tighten the bolts to 18 N.m (1.8 kgf.m, 13 lbf.ft). Do not reuse the old sealing washer.
  19. If the pressure is out of standard, the problems and probable causes are listed in the table.
    Problem Probable causes
    No or low drive pulley pressure
    • CVTF pump defective
    • PH regulator valve defective
    • CVT drive pulley pressure control solenoid valve defective
    Drive pulley pressure too high
    • PH regulator valve defective
    • CVT drive pulley pressure control solenoid valve defective

    Driven Pulley Pressure 

  20. Connect the A/T high pressure gauge to the drive pulley pressure inspection port (A).
    Fig 4: Identifying Drive Pulley Pressure Inspection Port
    G08093116Courtesy of AMERICAN HONDA MOTOR CO., INC.
  21. Start the engine, and warm up the engine to normal operating temperature (the radiator fan comes on twice).
  22. Shift the shift lever to N, and measure the driven pulley pressure at the driven pulley pressure inspection port while firmly pressing the brake pedal, and holding the engine speed at 1, 700 rpm.
    Pressure Standard
    Driven Pulley 830-1, 130 kPa (8.46-11.52 kgf/cm2 , 120.4-163.9 psi)
  23. Turn the engine off, then disconnect the pressure gauges from the pressure inspection ports.
  24. Install the sealing bolts and new sealing washers to the pressure inspection ports, and tighten the bolts to 18 N.m (1.8 kgf.m, 13 lbf.ft). Do not reuse the old sealing washer.
  25. If the pressure is out of standard, the problems and probable causes are listed in the table.
    Problem Probable causes
    No or low driven pulley pressure
    • CVTF pump defective
    • PH regulator valve defective
    • CVT driven pulley pressure control solenoid valve defective
    Driven pulley pressure too high
    • PH regulator valve defective
    • CVT driven pulley pressure control solenoid valve defective

    Lubrication Pressure 

  26. Connect the A/T low pressure gauge to the lubrication pressure inspection port (A).
    Fig 5: Identifying Lubrication Pressure Inspection Port
    G08093117Courtesy of AMERICAN HONDA MOTOR CO., INC.
  27. Start the engine, and warm up the engine to normal operating temperature (the radiator fan comes on twice).
  28. Shift the shift lever to N, and measure the lubrication pressure at the lubrication pressure inspection port while firmly pressing the brake pedal, and holding the engine speed at 3, 000 rpm.
    Pressure Standard
    Lubrication 250-400 kPa (2.55-4.08 kgf/cm2 , 36.3-58.0 psi)
  29. Turn the engine off, then disconnect the pressure gauges from the pressure inspection ports.
  30. Install the sealing bolts and new sealing washers to the pressure inspection ports, and tighten the bolts to 18 N.m (1.8 kgf.m, 13 lbf.ft). Do not reuse the old sealing washer.
  31. If the pressure is out of standard, the problem and probable causes are listed in the table.
    Problem Probable causes
    No or low lubrication pressure
    • CVTF pump defective
    • Lubrication valve defective
    • Inhibitor solenoid defective

    Reverse Brake Pressure 

  32. Remove the air cleaner (see AIR CLEANER REMOVAL/INSTALLATION ).
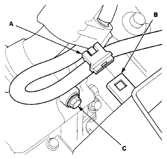
  33. Remove the harness clamp (A) from the clamp bracket (B).
    Fig 6: Identifying Reverse Brake Pressure Inspection Port, Clamp Bracket And Harness Clamp
    G08093118Courtesy of AMERICAN HONDA MOTOR CO., INC.
  34. Connect the A/T oil pressure gauge set to the reverse brake pressure inspection port (C).
  35. Install the air cleaner (see AIR CLEANER REMOVAL/INSTALLATION ), then start the engine, and warm up the engine to normal operating temperature (the radiator fan comes on twice).
  36. Shift the shift lever to R, and measure the reverse brake pressure at the reverse brake pressure inspection port while firmly pressing the brake pedal, and holding the engine speed at 1, 700 rpm.
    Pressure Standard
    Reverse brake 1, 570-1, 840 kPa (16.01-18.76 kgf/cm2 , 227.7-266.9 psi)
  37. Turn the engine off, then remove the air cleaner (see AIR CLEANER REMOVAL/INSTALLATION ) and disconnect the pressure gauges from the pressure inspection ports.
  38. Install the sealing bolts and new sealing washers to the pressure inspection ports, and tighten the bolts to 18 N.m (1.8 kgf.m, 13 lbf.ft). Do not reuse the old sealing washer.
  39. If the pressure is out of standard, the problem and probable causes are listed in the table.
    Problem Probable causes
    No or low reverse brake pressure
    • Reverse brake defective
    • Reverse inhibitor valve
    • Manual valve defective
    • Inhibitor solenoid defective
    • CVTF pump defective
    • PH regulator valve defective
    • CR valve defective
  40. Install the air cleaner (see AIR CLEANER REMOVAL/INSTALLATION ).
  41. Check the CVTF level (see CVT FLUID LEVEL CHECK ). Refill the transmission with CVTF if necessary.
  42. Install the splash shield (see SPLASH SHIELD REPLACEMENT ).