lemon-mirror:
Home >> Honda >> 2012 >> Insight Base >> Repair and Diagnosis >> Transmission >> Automatic Trans >> CVT >> Transmission Disassembly

Transmission Disassembly

Special Tools Required 

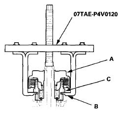
  1. Remove the CVTF pan (A) (eighteen bolts), the two dowel pins (B), and the CVTF pan gasket (C).
    Fig 1: CVTF Pan Bolts, CVTF Pan Gasket And Dowel Pins With Torque Specifications
    G08093252Courtesy of AMERICAN HONDA MOTOR CO., INC.
  2. Remove the CVTF strainer (D) (two bolts).
  3. Remove the eight bolts securing the lower valve body (E), lower the lower valve body, and hold it.
  4. Remove the bolt securing the solenoid harness connector (F), and remove the lower valve body, the two CVTF pipes (G), and the solenoid harness 8P connector from the transmission housing.
  5. Remove the CVTF magnets (H) (I), and clean and reinstall them in the CVTF pan.
  6. Remove the O-ring (J) from the CVTF strainer, and remove the O-ring (K) from the solenoid harness 8P connector. Install new ones when reinstalling the lower valve body.
  7. Clean the inlet opening (A) of the CVTF strainer (B) thoroughly with compressed air, then check that it is in good condition and that the inlet opening is not clogged.
    Fig 2: Identifying Inlet Opening Of CVTF Strainer
    G08093253Courtesy of AMERICAN HONDA MOTOR CO., INC.
  8. Test the CVTF strainer by pouring clean CVTF through the inlet opening, and replace it if it is clogged or damaged.
  9. Position the transmission with its end cover facing down.
  10. Remove the flywheel housing (A) (nineteen bolts), then three dowel pins (B), and the gasket (C).
    Fig 3: Exploded View Of Transmission Assembly With Torque Specifications
    G08093254Courtesy of AMERICAN HONDA MOTOR CO., INC.
  11. Remove the differential assembly (D).
  12. Remove the CVTF passage pipe (E) (one bolt), the O-rings (F), and the lubrication pipe (G).
  13. Remove the three bolts securing the CVTF pump drive sprocket (H), then remove the CVTF pump drive chain (I) and the CVTF pump drive sprocket.
  14. Remove the snap ring (J) from the input shaft (K), then remove the thrust shim (L), the CVTF pump drive sprocket hub (M), the thrust washer (N), the thrust needle bearing (O), and the thrust washer (P) from the input shaft.
  15. Remove the park pawl shaft (Q), and remove the park pawl spring (R) and the park pawl (S).
  16. Remove the thrust shim (T) and the final drive shaft (U), then remove the secondary driven gear(V).
  17. Remove the snap ring (W) securing the start clutch (X), and remove the cotter retainer (Y) and the cotters (Z).
  18. Remove the transmission range switch (AA) (two bolts) with the control shaft cover (AB).
  19. Remove the CVT input shaft (drive pulley) speed sensor (AC) (one bolt), the CVT output shaft (driven pulley) speed sensor (AD) (one bolt), the vehicle speed sensor (AE) (one bolt), and the dipstick tube (AF) (each one bolt), and remove the O-rings (AG).
  20. Remove the line bolts (AH) securing the CVTF cooler lines (Al), then remove the CVTF cooler lines and the sealing washers (AJ).
  21. Set the start clutch remover on the start clutch (A), and attach the pawl (B) of the start clutch remover to the park gear (C) securely. Do not place the pawl of the start clutch remover on the start clutch guide. If the pawl contacts the start clutch guide, the clutch guide may be damaged. Be sure not to allow dust and other foreign particles to enter the driven pulley shaft.
    Fig 4: Attaching Pawl Of Start Clutch Remover To Park Gear
    G08093255Courtesy of AMERICAN HONDA MOTOR CO., INC.
  22. Remove the start clutch (A) from the driven pulley shaft.
    Fig 5: Removing Start Clutch From Driven Pulley Shaft
    G08093256Courtesy of AMERICAN HONDA MOTOR CO., INC.
  23. Remove the secondary drive/park gear from the start clutch.
  24. Remove the sealing ring (A) from the secondary drive/park gear (B), check it for rust, dirt, wear, or damage, and clean or replace it if necessary; it will be reinstalled on a new secondary drive/park gear when assembling the transmission.
    NOTE: The secondary drive/park gear must be replaced when disassembling the transmission.
    Fig 6: Identifying Sealing Ring And Secondary Drive/Park Gear
    G08093257Courtesy of AMERICAN HONDA MOTOR CO., INC.
  25. Turn the transmission upside down, and set it on a workbench to prevent damaging to the input shaft and the driven pulley shaft.
  26. Remove the end cover (A) (sixteen bolts), the two dowel pins (B), and the gasket (C).
    Fig 7: End Cover Bolts, Dowel Pins And Gasket With Torque Specifications
    G08093258Courtesy of AMERICAN HONDA MOTOR CO., INC.
  27. Remove the two CVTF feed pipes (D).
  28. Remove the 10.9 x 18.6 mm CVTF feed pipe (E) from the manual valve body (F).
  29. Remove the manual valve body (five bolts), the detent spring (G), the two dowel pins (H), and the separator plated).
  30. Remove the 8 mm pipe (J) and the 10.9 x 56 mm CVTF feed pipe (K).
  31. Remove the O-rings (L) of the CVTF feed pipes.
  32. Remove the planetary carrier/input shaft assembly (A), then remove the ring gear (B).
    Fig 8: Identifying Planetary Carrier/Input Shaft Assembly And Ring Gear
    G08093259Courtesy of AMERICAN HONDA MOTOR CO., INC.
  33. Remove the reverse brake snap ring (C), then remove the reverse brake end plate (D), the two brake discs (E), the two brake plates (F), and the disc spring (G).
  34. Remove the snap ring (H) securing the forward clutch (I) to the drive pulley shaft (J), then remove the forward clutch, the two O-rings (K), and the snap ring retainer (L) from the drive pulley shaft.
  35. Install the reverse brake spring compressor to remove the snap ring securing the reverse brake return spring retainer.
    Fig 9: Installing Reverse Brake Spring Compressor
    G08093260Courtesy of AMERICAN HONDA MOTOR CO., INC.
  36. Compress the return spring using the reverse brake spring compressor. Be sure the reverse brake spring compressor is set over the reverse brake return springs.
    Fig 10: Compressing Return Spring Using Reverse Brake Spring Compressor
    G08093261Courtesy of AMERICAN HONDA MOTOR CO., INC.
  37. Remove the snap ring (A) while compressing the return spring.
    Fig 11: Applying Air Pressure To Reverse Brake Pressure Circuit Hole
    G08093262Courtesy of AMERICAN HONDA MOTOR CO., INC.
  38. Remove the reverse brake spring compressor, then remove the spring retainer/return spring assembly (B).
  39. Apply air pressure to reverse brake pressure circuit hole (C) to remove the reverse brake piston (D), then remove the O-rings (E).
  40. Remove the roller (A).
    Fig 12: Identifying Intermediate Housing, Dowel Pins And Gasket
    G08093263Courtesy of AMERICAN HONDA MOTOR CO., INC.
  41. Remove the intermediate housing (B), the two dowel pins (C), and the gasket (D).
  42. Remove the two 10.9x56 mm CVTF feed pipes (E) and the O-rings (F).