lemon-mirror:
Home >> Honda >> 2012 >> Insight Base >> Repair and Diagnosis >> Transmission >> Automatic Trans >> CVT >> Transmission Reassembly

Transmission Reassembly

Special Tools Required 

NOTE: When you reassemble the transmission, soak the start clutch assembly, the forward clutch assembly, and the reverse brake disks in Honda Genuine CVTF for at least 30 minutes prior to installation,
  1. Install new O-rings (A) on the CVTF feed pipes (10.9 x 56 mm) (B), then install them with the filter ends into the transmission housing (C).
    Fig 1: Identifying O-Rings On CVTF Feed Pipes
    G08093264Courtesy of AMERICAN HONDA MOTOR CO., INC.
  2. Install the two dowel pins (D) and a new gasket (E) on the transmission housing.
  3. Push the selector control shaft (F) toward the outside of the transmission housing, then install the intermediate housing (G).
  4. Pull the selector control shaft back, then install the roller (H) in the intermediate housing by aligning the groove on the control shaft.
  5. Install two new O-rings (A) on the reverse brake piston (B), then install the piston in the intermediate housing (C).
    Fig 2: Identifying O-Rings On Reverse Brake Piston
    G08093265Courtesy of AMERICAN HONDA MOTOR CO., INC.
  6. Install the spring retainer/return spring assembly (D) install the return springs on the spring guides (E) of the reverse brake piston.
  7. Install the reverse brake spring compressor through the drive pulley shaft to compress the spring retainer/return spring assembly (A). Be sure the reverse brake spring compressor is set over the spring retainer, not over the reverse brake piston.
    Fig 3: Installing Reverse Brake Spring Compressor
    G08093266Courtesy of AMERICAN HONDA MOTOR CO., INC.
  8. Compress the spring retainer/return spring assembly, and make sure that the reverse brake spring compressor is set over the return springs, and the reverse brake spring compressor tabs (A) do not ride on the reverse brake piston (B).
    Fig 4: Identifying Reverse Brake Spring Compressor Tabs On Reverse Brake Piston
    G08093267Courtesy of AMERICAN HONDA MOTOR CO., INC.
  9. Install the snap ring in the intermediate housing above the spring retainer, and remove the reverse brake spring compressor.
  10. After installing the snap ring, check that the snap ring is seated in the snap ring groove of the intermediate housing, and that the ring end gap (A) is 15 mm (0.59 in) or more.
    Fig 5: Identifying Snap Ring End Gap
    G08093268Courtesy of AMERICAN HONDA MOTOR CO., INC.
  11. Install the disc spring (A) on the spring retainer (B) in the direction shown.
    Fig 6: Identifying Disc Spring On Spring Retainer
    G08093269Courtesy of AMERICAN HONDA MOTOR CO., INC.
  12. Starting with the two reverse brake plates (C), alternately install the two reverse brake plates and the reverse brake discs (D). Install the reverse brake end-plate (E), then install the snap tiny (F)
  13. After installing the snap ring, check that the snap ring is seated in the snap ring groove of the intermediate housing, and that the snap ring inside diameter (A) is 143.5 mm (5.65 in) or more, and also check that the snap ring end gap (B) is 8.7 mm (0.34 in) or more.
    Fig 7: Identifying Snap Ring End Gap
    G08093270Courtesy of AMERICAN HONDA MOTOR CO., INC.
  14. Set up a dial indicator (A) on the reverse brake end-plate (B).
    Fig 8: Setting Dial Indicator On Reverse Brake End-Plate
    G08093271Courtesy of AMERICAN HONDA MOTOR CO., INC.
  15. Zero the dial indicator by lifting the top disc (C) up against the reverse brake end-plate and the reverse brake end-plate up against the snap ring (D).
  16. Release the reverse brake end-plate (A) to lower the reverse brake end-plate, and place a steel plate (B) across width of the reverse brake end-plate.

    Standard: 0.55-0.70 mm (0.0217-0.0276 in) 

    Fig 9: Pressing Steel Plate Down Using Force Gauge
    G08093272Courtesy of AMERICAN HONDA MOTOR CO., INC.
  17. Press the steel plate down with 49 N (5 kgf, 11 lbf) (C) using a force gauge, and read the dial indicator (D). The dial indicator reads the clearance (E) between the reverse brake end-plate and the top-disc (F). Take measurements in at least three places, and use the average as the actual clearance.
  18. If the clearance is out of standard, remove the reverse brake end-plate, and measure its thickness.
  19. Select a new reverse brake end-plate from the following table and install it, then recheck that the clearance is within the standard.
    REVERSE BRAKE END-PLATE

    Mark Thickness
    2 3.8 mm (0.150 in)
    B 3.9 mm (0.154 in)
    3 4.0 mm (0.157 in)
    C 4.1 mm (0.161 in)
    4 4.2 mm (0.165 in)
    D 4.3 mm (0.169 in)
    5 4.4 mm (0.173 in)
    E 4.5 mm (0.177 in)
    6 4.6 mm (0.181 in)
    F 4.7 mm (0.185 in)
    7 4.8 mm (0.189 in)
    8 5.0 mm (0.197 in)
  20. If the reverse brake end-plate is replaced, install the snap ring, and check that the snap ring inside diameter and end gap are within the tolerance.
  21. Install the snap ring retainer (A) over the drive pulley shaft (B).
    Fig 10: Installing Snap Ring Retainer And Drive Pulley Shaft
    G08093273Courtesy of AMERICAN HONDA MOTOR CO., INC.
  22. Wrap the drive pulley shaft splines with tape to prevent O-ring damage. Install two new O-rings (C) in the drive pulley shaft O-ring grooves, then remove the tape.
  23. Install the forward clutch (D) on the drive pulley shaft, then install the snap ring (E) to secure the forward clutch.
  24. After installing the snap ring, check that the snap ring is seated in the snap ring groove of the drive pulley shaft, and that the snap ring outside diameter (A) is 41.4 mm (1.63 in) or less.
    Fig 11: Identifying Snap Ring Outside Diameter
    G08093274Courtesy of AMERICAN HONDA MOTOR CO., INC.
  25. Install the ring gear (A) on the forward clutch (B).
    Fig 12: Identifying Ring Gear On Forward Clutch
    G08093275Courtesy of AMERICAN HONDA MOTOR CO., INC.
  26. Install the input shaft/planetary carrier assembly (C) through the drive pulley shaft (D) by aligning the sun gear (E) with the forward clutch discs (F) and aligning the planetary carrier with the reverse brake discs (G).
  27. Install the manual valve body separator plate (A) and the two dowel pins (B) on the intermediate housing (C), then install the manual valve body (D) and detent spring (E).
    Fig 13: Manual Valve Body Separator Plate And Dowel Pins On Intermediate Housing With Torque Specifications
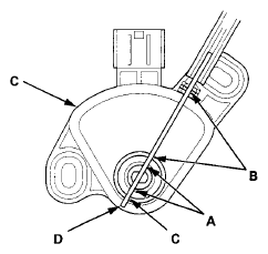
    G08093276Courtesy of AMERICAN HONDA MOTOR CO., INC.
  28. Install two new O-rings (A) on the 10.9 x 18.6 mm CVTF feed pipe (B), then install it on the manual valve body (C).
    Fig 14: O-Rings On CVTF Feed Pipe With Torque Specifications
    G08093277Courtesy of AMERICAN HONDA MOTOR CO., INC.
  29. Install two new O-rings (D) on the 10.9 x 56 mm CVTF feed pipe (E), then install it with the filter end and an 8 mm CVTF pipe (F) in the intermediate housing.
  30. Install the two dowel pins (G) and a new gasket (H) on the intermediate housing.
  31. Install four new O-rings (I) on the two CVTF feed pipes (J), then install them on the manual valve body and the intermediate housing.
  32. Place the end cover (K) on the intermediate housing.
  33. Install the end cover bolts (sixteen), and tighten them to the specified torque in a crisscross pattern in at least two or three steps, then turn the transmission end cover down.
  34. Install the sealing ring (A) on a new secondary drive/park gear (B).
    NOTE: The secondary drive/park gear must be replaced when disassembling the transmission.
    Fig 15: Identifying Sealing Ring On Secondary Drive/Park Gear
    G08093278Courtesy of AMERICAN HONDA MOTOR CO., INC.
  35. Insert the secondary drive/park gear (A) into the start clutch (B). Wiggle the secondary drive/park gear back and forth as it goes into the start clutch, and push in the secondary drive/park gear until it bottoms out.
    Fig 16: Inserting Secondary Drive/Park Gear Into Start Clutch
    G08093279Courtesy of AMERICAN HONDA MOTOR CO., INC.
  36. Install the park pawl (A), the pawl spring (B), and the pawl shaft (C) on the transmission housing (D), then move the control lever to any position other than P.
    Fig 17: Identifying Park Pawl, Pawl Spring And Pawl Shaft On Transmission Housing
    G08093280Courtesy of AMERICAN HONDA MOTOR CO., INC.
  37. Use CVT fluid to lubricate the new O-rings (E) for the driven pulley shaft (F), then install the O-rings on the shaft.
  38. Place the start clutch and secondary drive/park gear (G) onto the driven pulley shaft.
    NOTE: Make sure to hold the secondary drive/park gear engaged into the start clutch when you install the start clutch and secondary drive/park gear onto the driven pulley shaft.
  39. Seat the start clutch by aligning the tip of the start clutch installer with the driven pulley shaft hole (A) and then pushing down the handle (B).
    Fig 18: Pushing Down Handle
    G08093281Courtesy of AMERICAN HONDA MOTOR CO., INC.
  40. While holding the handle (A) down, push down the bottom part (B) of the start clutch installer until it contacts the seating surface of the start clutch (C).
    Fig 19: Pushing Down Bottom Part Of Start Clutch
    G08093282Courtesy of AMERICAN HONDA MOTOR CO., INC.
  41. Hold the upper hex section (A) of the start clutch installer with a 19 mm wrench (B), then use an adjustable wrench (C) to tighten the start clutch installer's lower nut (D) until the start clutch (E) seats.
    NOTE: When using the start clutch installer, hold the upper hex section and then turn the nut. Turning the upper hex section could damage the start clutch installer.
    Fig 20: Holding Upper Hex Section Of Start Clutch Installer With Wrench
    G08093283Courtesy of AMERICAN HONDA MOTOR CO., INC.
  42. Remove the start clutch installer.
  43. Reach under the start clutch to confirm that the clutch end-plate can move up and down slightly (less than 1 mm (0.039 in)).
  44. Install the 25.5 mm cotters (A) to the cotter groove on the driven pulley shaft (B), then measure the clearance between the cotters and the start clutch guide (C) using a feeler gauge (D). Take measurements in at least three places, and use the average as the actual clearance.

    Standard: 0-0.13 mm (0-0.005 in) 

    Fig 21: Measuring Clearance Between Cotters And Start Clutch Guide Using Feeler Gauge
    G08093284Courtesy of AMERICAN HONDA MOTOR CO., INC.
  45. If the clearance is out of standard, remove the cotters, and measure its thickness.
  46. Select new 25.5 mm cotters from the following table and install its, then recheck that the clearance is within the standard.
    COTTERS, 25.5 MM

    No. Thickness
    A 2.90 mm (0.1142 in)
    B 3.00 mm (0.1181 in)
    C 3.10 mm (0.1220 in)
    D 3.20 mm (0.1260 in)
  47. Install the cotter retainer (A) and the snap ring (B) to the driven pulley shaft (C).
    Fig 22: Identifying Cotter Retainer, Snap Ring And Driven Pulley Shaft
    G08093285Courtesy of AMERICAN HONDA MOTOR CO., INC.
  48. After installing the snap ring, check that the snap ring is seated in the snap ring groove of the driven pulley shaft, and that the snap ring outside diameter (A) is 33.9 mm (1.33 in) or less.
    Fig 23: Identifying Snap Ring Outside Diameter
    G08093286Courtesy of AMERICAN HONDA MOTOR CO., INC.
  49. Install the thrust washer (A), the thrust needle bearing (B), the thrust washer (C), the CVTF pump drive sprocket hub (D), and the 22 x 28 mm thrust shim (E) on the input shaft (F), and install the snap ring (G) to secure them.
    Fig 24: Identifying Thrust Washer, Thrust Needle Bearing, Thrust Washer And CVTF Pump Drive Sprocket Hub
    G08093287Courtesy of AMERICAN HONDA MOTOR CO., INC.
  50. After installing the snap ring, check that the snap ring is seated in the snap ring groove of the input shaft, and that the snap ring outside diameter (A) is 26.3 mm (1.04 in) or less.
    Fig 25: Identifying Snap Ring Outside Diameter
    G08093288Courtesy of AMERICAN HONDA MOTOR CO., INC.
  51. Measure the clearance between the 22 x 28 mm thrust shim (A) and the snap ring (B) using a feeler gauge (C). Take measurements in at least three places, and use the average as the actual clearance.

    Standard: 0.37-0.65 mm (0.015-0.025 in) 

    Fig 26: Measuring Clearance Between Thrust Shim And Snap Ring Using Feeler Gauge
    G08093289Courtesy of AMERICAN HONDA MOTOR CO., INC.
  52. If the clearance is out of standard, remove the 22 x 28 mm thrust shim, and measure its thickness.
  53. Select a new 22 x 28 thrust shim from the following table and install it, then recheck that the clearance is within the standard.
    THRUST SHIM, 22 x 28 MM

    No. Thickness
    C 1.15 mm (0.0453 in)
    D 1.40 mm (0.0551 in)
    E 1.65 mm (0.0650 in)
    F 1.90 mm (0.0748 in)
    G 2.15 mm (0.0846 in)
    H 2.40 mm (0.0945 in)
  54. If the 22 x 28 mm thrust shim is replaced, install the snap ring, and check that the snap ring outside diameter is within the tolerance.
  55. Place the secondary driven gear (A) on the transmission housing (B) by aligning it with the secondary drive gear (C), then install the final drive shaft (D) through the secondary driven gear into the transmission housing.
    Fig 27: Secondary Driven Gear On Transmission Housing With Torque Specifications
    G08093290Courtesy of AMERICAN HONDA MOTOR CO., INC.
  56. Install the 25 x 35 mm thrust shim (E) on the final drive shaft.
  57. Position the CVTF pump drive sprocket (F) on the CVTF pump drive sprocket hub (G), and put the CVTF pump drive chain (H) on the CVTF pump drive sprocket and the CVTF pump driven sprocket (I), then secure the CVTF pump drive sprocket with the three bolts.
  58. Install the lubrication pipe (J).
  59. Install the differential assembly (A).
    Fig 28: Differential Assembly Bolts And O-Rings With Torque Specifications
    G08093291Courtesy of AMERICAN HONDA MOTOR CO., INC.
  60. Install new two O-rings (B) on both ends of the CVTF passage pipe (C), then install the CVTF passage pipe in the pipe joint (D) of the transmission housing, and put the other end on the pipe guide (E).
  61. Install the three dowel pins (F) and a new gasket (G) on the transmission housing.
  62. Place the flywheel housing (H) on the transmission housing.
  63. Install the housing bolts (nineteen), and tighten them to the specified torque in a crisscross pattern in at least two or three steps, then turn the transmission flywheel housing down.
  64. Install a new O-ring (A) on the solenoid wire harness 8P connector (B).
    Fig 29: O-Ring On Solenoid Wire Harness 8P Connector With Torque Specifications
    G08093292Courtesy of AMERICAN HONDA MOTOR CO., INC.
  65. Install the two CVTF pipes (C) on the lower valve body (D), then install the solenoid wire harness 8P connector and the lower valve body in the transmission housing.
  66. Install a new O-ring (E) on the CVTF strainer (F), then install the CVTF strainer (two bolts) on the lower valve body.
  67. Install the two dowel pins (A) and a new gasket (B).
    Fig 30: CVTF Pan On Transmission Housing Bolts With Torque Specifications
    G08093293Courtesy of AMERICAN HONDA MOTOR CO., INC.
  68. Place the CVTF pan (C) on the transmission housing.
  69. Install the CVTF pan bolts (eighteen), and tighten them to the specified torque in a crisscross pattern in at least two or three steps.
  70. Move the selector control lever (A) from the P position to the N position by turning the selector control lever.
    NOTE: Do not squeeze the end (B) of the selector control shaft tips together when turning. If the tips are squeezed together it will cause a faulty control signal or position due to play between the selector control shaft and the transmission range switch.
    Fig 31: Moving Selector Control Lever From P To N Position
    G08093294Courtesy of AMERICAN HONDA MOTOR CO., INC.
  71. Align the cutouts (A) on the rotary-frame with the neutral positioning cutouts (B) on the transmission range switch (C). Then put a 2.0 mm (0.08 in) feeler gauge blade (D) in the cutouts to hold the switch in the N position.
    NOTE: Be sure to use a 2.0 mm (0.08 in) feeler gauge blade or equivalent to hold the transmission range switch in the N position.
    Fig 32: Aligning Cutouts On Rotary-Frame With Neutral Positioning Cutouts On Transmission Range Switch
    G08093295Courtesy of AMERICAN HONDA MOTOR CO., INC.
  72. Install the transmission range switch (A) gently on the selector control shaft (B) while holding it in the N position with the 2.0 mm (0.08 in) blade (C).
    Fig 33: Installing Transmission Range Switch On Selector Control Shaft
    G08093296Courtesy of AMERICAN HONDA MOTOR CO., INC.
  73. Tighten the bolts (A) on the transmission range switch (B) while you continue to hold it in the N position. Do not move the transmission range switch when tightening the bolts. Remove the feeler gauge (C).
    Fig 34: Bolts On Transmission Range Switch With Torque Specifications
    G08093297Courtesy of AMERICAN HONDA MOTOR CO., INC.
  74. Install the control shaft cover (A) on the transmission range switch (B).
    Fig 35: Identifying Control Shaft Cover On Transmission Range Switch
    G08093298Courtesy of AMERICAN HONDA MOTOR CO., INC.
  75. Install the breather cap (A) on the breather pipe (B) with its arrow (C) pointing to the flywheel housing.
    Fig 36: Identifying Breather Cap On Breather Pipe
    G08093299Courtesy of AMERICAN HONDA MOTOR CO., INC.
  76. Install the CVT output shaft (driven pulley) speed sensor (A), and the vehicle speed sensor (B), with new O-rings (C).
    Fig 37: CVT Output Shaft (Driven Pulley) Speed Sensor And Vehicle Speed Sensor With O-Rings With Torque Specifications
    G08093300Courtesy of AMERICAN HONDA MOTOR CO., INC.
  77. Install the dipstick tube (A) with a new O-ring (B.
    Fig 38: CVT Input Shaft (Drive Pulley) Speed Sensor And Dipstick Tube With O-Ring With Torque Specifications
    G08093301Courtesy of AMERICAN HONDA MOTOR CO., INC.
  78. Install the CVT input shaft (drive pulley) speed sensor (C) with a new O-ring (D).
  79. Install the two CVTF cooler lines (E) with the line bolts (F) and new sealing washers (G).
  80. Install the CVTF dipstick in the tube.