lemon-mirror:
Home >> Honda >> 2012 >> Ridgeline RT >> Repair and Diagnosis >> Body & Frame >> Windows >> Glass >> Back Window Replacement

Back Window Replacement

NOTE:
  • Put on gloves to protect your hands.
  • Use seat covers to avoid damaging any surface.
  1. Remove these items:
  2. Disconnect the connector (A) and detach the harness clip (B). Remove the screws (C), then remove the back power window position switch (D).
    Fig 1: Identifying Connector, Harness Clip, Screws And Back Power Window Position Switch
    G05965581Courtesy of AMERICAN HONDA MOTOR CO., INC.
  3. Pull down the rear portion of the headliner as needed (see HEADLINER REMOVAL/INSTALLATION ). Take care not to bend the headliner excessively, or you may crease or break it.
  4. From inside the vehicle, use a utility knife (A) to cut through the adhesive (B) all the way around:
    • If the back window (C) will be reinstalled, take care not to damage the molding (D).
    • Apply protective tape along the edge of the entire back window opening flange.
    Fig 2: Cutting Adhesive Using Knife
    G05965582Courtesy of AMERICAN HONDA MOTOR CO., INC.
  5. Carefully remove the back window. Check the molding for damage, and replace it if necessary.
  6. Scrape smooth the old adhesive with a knife until there is a thickness of about 2 mm (0.08 in) on the bonding surface around the entire back window opening flange:
    • Do not scrape down to the painted surface of the body; damaged paint will interfere with proper bonding.
    • Remove the fasteners from the body.
  7. Clean the body bonding surface with a shop towel dampened in isopropyl alcohol. After cleaning, keep oil, grease and water from getting on the surface.
  8. If you are reinstalling the old back window, scrape off all of the old adhesive and the fasteners from the back window molding with a putty knife. Clean the bonding surfaces on the inside face and the edge of the back window molding with isopropyl alcohol. Make sure the bonding surface is kept free of water, oil and grease.
  9. Attach the fasteners (A) with adhesive tape to the back window molding (B) as shown:
    • Be sure the fasteners line up with the alignment marks (C) and molding shapes (D).
    • Be careful not to touch the back window molding where the adhesive will be applied.
    Fig 3: Attaching Fasteners With Adhesive Tape To Back Window Molding
    G05965583Courtesy of AMERICAN HONDA MOTOR CO., INC.
  10. Attach the fasteners with adhesive tape to the back window opening flange of the body on both sides.
    Fig 4: Attaching Fasteners To Back Window Molding
    G00507565Courtesy of AMERICAN HONDA MOTOR CO., INC.
  11. Set the back window in the opening, and center it. Make alignment marks (A) across the back window and the body with a grease pencil at the four points shown. Make sure insert nuts (B) are aligned in the body holes (inside). Be careful not to touch the back window molding where the adhesive will be applied.
    Fig 5: Identifying Alignment Marks On Windshield And Body
    G05965585Courtesy of AMERICAN HONDA MOTOR CO., INC.
  12. Remove the back window.
  13. Apply a light coat of glass primer along the edge of the back window molding (A) as shown, then lightly wipe it off with gauze or cheesecloth:
    • Do not apply body primer to the back window, and do not mix up the body primer applicator and the glass primer applicator.
    • Never touch the primed surfaces with your hands. If you do, the adhesive may not bond to the back window properly, causing a leak after the back window is installed.
    • Keep water, dust, and abrasive materials away from the primed surfaces.
    Fig 6: Identifying Primer Applying Area On Back Window Molding
    G05965586Courtesy of AMERICAN HONDA MOTOR CO., INC.
  14. Carefully apply a light coat of body primer to any exposed paint around the flange where the adhesive will be applied. Let the primer dry for at least 10 minutes:
    • Do not apply body primer to any remaining original adhesive on the flange.
    • Be careful not to mix up the body primer applicator and the glass primer applicator.
    • Never touch the primed surfaces with your hands.
    Fig 7: Applying Light Coat Of Body Primer To Exposed Paint Around Flange
    G05965587Courtesy of AMERICAN HONDA MOTOR CO., INC.
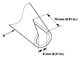
  15. Cut a "V" in the end of the nozzle (A) on the adhesive cartridge as shown.
    Fig 8: Identifying Nozzle Tip Cutting Area
    G05965588Courtesy of AMERICAN HONDA MOTOR CO., INC.
  16. Put the cartridge in a caulking gun, and run a continuous bead of the adhesive (A) around the edge of the back window molding (B) as shown. Apply the adhesive within 30 minutes after applying the glass primer. Make a slightly thicker bead at each corner.
    Fig 9: Identifying Primer Applying Area
    G05965589Courtesy of AMERICAN HONDA MOTOR CO., INC.
  17. Hold the back window with suction cups over the opening, align it with the alignment marks you made in step 11, and set it down on the adhesive. Lightly push on the back window until its edges are fully seated on the adhesive all the way around.
    NOTE: Do not open or close any of the doors for about an hour until the adhesive is dry.
  18. Remove the excess adhesive with a putty knife or a shop towel dampened with isopropyl alcohol.
  19. Wait at least an hour for the adhesive to dry, then spray water over the back window and check for leaks. Mark any leaking areas, let the back window dry, then seal with sealant. Let the vehicle stand for at least 4 hours after back window installation. If the vehicle is used within the first 4 hours, it must be driven slowly.
  20. Reinstall all removed parts.
NOTE: Advise the customer not to do the following things for 2 to 3 days: